居住在高层建筑中的低楼层居民,若大楼未安装共用天线系统,要想满意地收看电视节目是比较困难的,用户一般是采用高架天线来解决。但高架天线是否就是改善电视接收效果的唯一办法?实验发现,在许多接收点,经认真架设的低矮天线也能取得理想的接收效果,只是不能兼顾各个频道的接收要求。仔细观察发现,虽然U/V频段电视信号来源于同一处,但接收天线却有不同的最佳接收方向或最佳接收高度。笔者仔细地分析了这种现象,找到了一种较为合理的天线架设方法,并设计了一副双向、双高度宽频段室外天线。该天线结构简单,效果明显。
1、天线的制作
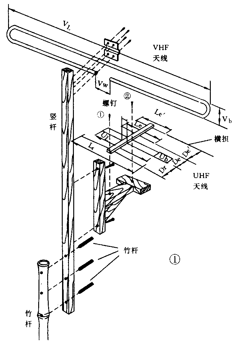
天线的结构如图1所示。该天线分为两部分:一个是固定安装的VHF频段天线;一个是能变动垂直安装位置,水平能转动30°左右的UHF频段天线。因为U段信号传播损耗较大,故选用四单元天线,而V段天线有效长度长、感应电动势大,选用一单元天线一般就能满足要求。

天线各部分尺寸按照下面公式计算。V段天线设计接收2~12频道,低端波长λ\(_{2}\)=531cm,高端波长λ12=135cm,则中心波长λ\(_{0}\)=\(\sqrt{λ}\)2·λ\(_{12}\)=267.7cm,折合振子长度VL≈0.95·λ\(_{0}\)/2=127Cm,振子宽度Vb≈0.03λ\(_{0}\)≈8cm,接口宽度VW=6cm。U段天线设计接收13~40频道,低端波长λ\(_{13}\)=63.8cm,高端波长λ40=40.9cm,则中心波长λ\(_{0}\)=λ13·λ\(_{4}\)0≈51.1cm,折合振子长度UL≈0.95λ\(_{0}\)/2=24cm,振子宽度Ub≈0.08λ\(_{0}\)≈4cm,接口宽度UW=2cm,反射器长度L\(_{r}\)≈0.52λ13≈33cm,引向器长度L\(_{e}\)≈0.45λ40≈18cm,L\(_{e}\)′≈0.9Le≈16.5cm,反射器与折合振子间距D\(_{r}\)≈0.15λ13≈9.5cm,引向器与折合振子间距D\(_{e}\)≈0.14λ40≈5.5cm,D\(_{e}\)′≈0.2λ40≈8cm。其中V段天线可根据当地情况重新计算折合振子长度V\(_{L}\)。例如在上海地区,可设计接收5~8频道,根据上述计算得振子长度为112cm,这样可以减少用料、减轻天线重量。有条件也可设计成多单元天线。
V段天线选用直径6mm左右的铜管或铝管制作;U段天线用直径4mm的铜棒或铝棒制作,横担用厚5mm的胶木板,或者用适当厚度的硬质木材制作。竖杆用适当粗细的木杆制作。
2、信号混合器与阻抗变换器的制作
两个天线折合振子的阻抗均为300Ω,馈线需用75Ω电视电缆。在连接时要使用U/V电视信号混合器及300Ω—75Ω阻抗变换器,见图2。经实验,图中各线圈均用φO.31mm高强度漆包线,在φ2mm圆棒上密绕而成,匝数见图。电容均选用瓷介质电容,数值见图。阻抗变换器是在双孔磁芯上,用φ0.4mm单股塑料铜线在每孔双线并绕3匝而成。绕制时导线不要重叠。所有元件均焊在一块图3所示的电路板上,再固定在一个金属密闭小盒内,以起到屏蔽和防雨水的作用。盒子要用防锈铁皮制作,并应当妥善接地。


3、天线的安装调整。
调整过程分两步:①先用竹杆支起V段天线,反复在水平方向移动天线,配合调节垂直高度及指向,以找出最佳的安装位置、高度及指向。再用同样方法测出U段天线的各个安装数据。②根据所测高度,把两个天线安装在适当长度的竖杆上,再架起整个天线,并最后调整一下U段天线的指向。
需要说明的是:电视信号场强在垂直平面内与波长成正弦函数关系,因此V段信号波长较长,其场强第一个峰值距地面较高,这样天线架得高一点效果好些;而U段信号波长较短,其场强第一个峰值距地面不太高,且场强分布波形比较尖锐,故架设高度一般较低,须仔细找出最佳接收高度。
下面以一个实例来说明该天线的安装。一个电视接收点位于一栋6层居民楼的底层,距电视发射台约6公里。该地点面对发射台方向约30m处有一栋5层办公楼,用室内天线无法正常收看,使用上述天线取得较好效果。架设时先选一个面向电视台,易于架设天线的地方,测得V段天线距地面的高度在3.6m以上时,图像已十分清晰,故取其安装高度为4m。测得U段天线距地面高度为3.4m,若上下偏移30cm,图像质量就明显变劣。截取1m长的竖杆,按高低装上两个天线,再用竹杆架起来,最后调准U段天线指向。其中在装U段天线时,应先上螺钉①(见图1),待方向调准后,再上螺钉②。
该例中测得U、V段天线指向间夹角约8°,垂直相距0.6m,天线总高度4m,在上海地区接收5、8、13、20、26频道节目,图像无雪花点,也看不出明显的重影。 (陈智唯)