本文介绍的这种电源插座带有2204入插头A和输出插座B,外形见图1、图2,它是典型的换插式结构,ABS塑壳分为上下两益,尺寸52×80×48毫米(长×高×厚),根据需要可用它设计制作各种稳压源、恒流源、光控器、声控器、定时器、高压器等实用小电器,适合业余制作者选用。


用这种插座开发的DT-92F型定时器电原理见图3。2204电由C4降压,VD1~VD4桥式整流,C3滤波,VD5稳压用作时基电路NE555定时器的直流电源,按钮开关SB按下,C1充电,射随器VT使NE555第3脚输出低电平,继电器K吸合,负载接通,工作指示灯VD6点亮;C1所充电荷经VT由RP和R2缓慢放电,电压下降至NE555截止电平时,第3脚输出翻转为高电平,K释放,VD6熄灭,负载断电,调节RP电位器和选择C1电容值可使定时时间在2分~2小时范围。该电路工作可靠,适用于电灯、电水壶、电褥、电扇、音响等电器的定时控制。

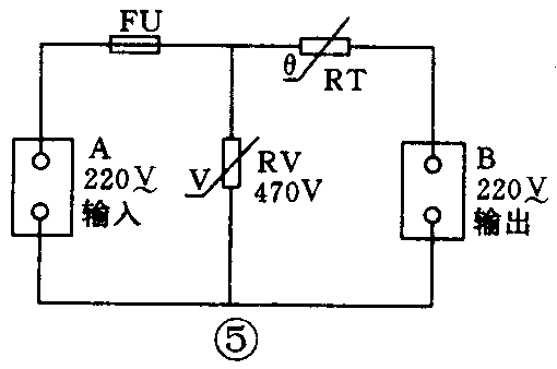
图5为DT—92N电视音响延寿保护插座电原理图,具有超压断电保护和抑制浪涌冲击电流的作用。对开机瞬间由于冷态电阻小而过流的设备,可起到对冲击电流的保护作用。2204电经保险丝FU分别并联和串联了一支特殊电阻。并联的电阻RV为氧化锌压敏电阻,当输入电压低于其击穿电压额定值时不导通,相当于开路,对电路无影响;输入电压达到额定值立即导通,相当于短路,将FU烧断,保护输出端负载不受过压损害,过压保护后该电阻自行恢复,只须更换保险丝即可继续使用。RV的取值公式为RV=1.5VP,式中VP为峰值电压,对2204言,VP=1.5×\(\sqrt{2}\)×2204470V。与FU串联的电阻RT为大功率PTC负温度系数热敏电阻,在负载开通瞬间其阻值高因而压降大,使负载上电压逐步增加,抑制其开机时的浪涌冲击电流,随后因RT发热阻值迅速下降至3Ω以下,外负载正常工作。RT取值可参考式RT=V/2I,式中V为正常供电电压,I为开机工作电流。(刘永华)

