(吴琼)半导体在光的作用下,其电性能就会发生变化。光敏器件就是利用半导体的这种特性,将光信号变换成电信号,以实现信息的变换和检测。常用的半导体光敏器件主要有以下几种。
1.光敏电阻
光敏电阻是根据半导体的光电导效应制成的。它所用的材料主要有硒、硫化镉、硫化铝、硫化铋、硒化镉、硒化锌、砷化镓、硅等。其中对可见光敏感的硫化镉光敏电阻是最有代表性的一种,它的外形见图1。光敏电阻在使用时,可以加直流偏压,也可以加交流偏压,它的电流随电压呈线性变化。光敏电阻在无光照时,其暗阻阻值一般大于1500kΩ,在有光照时,其亮阻阻值为几千欧,两者相差较大。光敏电阻的主要特点是灵敏度高,体积小、重量轻、电性能稳定、可以交直流两用,而且制造工艺简单,价格便宜等。但是由于其响应速度比较慢,因此,影响了它在高频下的使用。

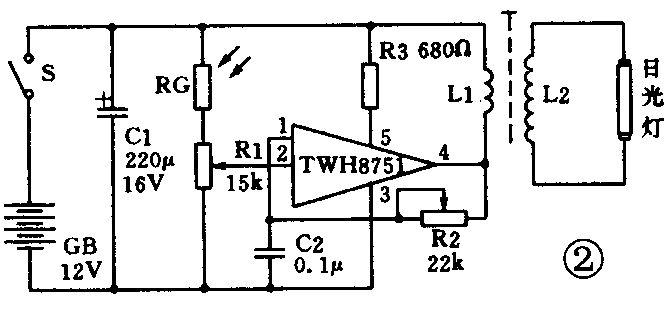
光敏电阻主要用在各种自动控制装置和光检测设备中,如生产线上的自动送料、自动门装置、航标灯、路灯、应急自动照明、自动给水停水装置、生产安全装置、烟雾火灾报警装置,照相机的自动调节、电子计算机的输入设备以及医疗光电脉搏计、心电图等方面。此外,它还广泛应用于电子乐器及家用电器中。图2就是一个应用光敏电阻的应急自动照明灯电路图。一旦电网突然停电,光敏电阻RG就会因失去光照而呈高电阻,使TWH8751的2脚处于低电位,振荡电路工作,TWH8751的输出端输出一系列脉冲电流,经变压器T升压后,点燃日光灯管,实现电网停电后的自动照明。

2.半导体光敏管
半导体光敏管主要有光敏二极管、光敏三极管,如2CU79型光敏二极管、ZL型硅光敏三极管、3PV912型光敏三极管等。光敏三极管的外形见图3。半导体光敏管所用的材料一般有硅、锗、磷化铟、砷镓化锌(ZnGaAs)、砷镓化铟(InGaAs)等等。光敏二极管是通过在PN结加入反向电压,并在光的照射下反向导电,其反向电阻可以由大变小,由数兆欧变为数十千欧甚至数千欧。光敏三极管有两个PN结,见图4。其基本原理与光敏二极管相同。但它把光信号变为电信号的同时,还放大了信号电流,具有放大作用。因此,它比光敏二极管具有更高的灵敏度,应用范围更广。


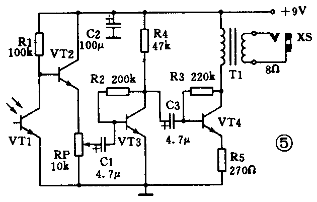
半导体光敏管由于具有体积小、重量轻、寿命长、灵敏度高、工作电压低,可以集成化等优点,因此,它可以广泛应用于光纤通信系统、光视频系统、光接收系统、光信息存储系统,以及光学测距系统,光学检测仪器及自动控制等方面。图5是一个应用了光敏三极管的红外接收机的电路图。它是由一只能对调幅的红外光的强度作出灵敏反应的半导体光敏三极管VT1和一个三级高增益音频放大器组成的。这种接收机的输出阻抗可以与当今流行的低阻头戴式耳机相匹配,接收效果好,使用方便。

3.半导体色敏管
半导体色敏管是工作于可见光波段(380~780nm)的一种光传感器。它的作用在于对外界光的强弱和光波长短,即色差进行探测,实现光电转换,从而进行色判别和色控制。它包括有色敏二极管和色敏三极管,国产的CS-1型半导体硅色敏管,就可以用来测量单色光的波长,也可以用于与颜色图案有关的自动控制与自动化生产中。色敏二极管是一种新型的半导体光敏器件。它对一定波长的光特别敏感,输出的光电流大小会随入射光波长的改变而改变。色敏三极管的工作原理同色敏二极管一样。
色敏器件可以用于控制燃烧率、机器人色识别、纺织印染、光学读出装置、位置测量等方面。图6是色敏器件的颜色识别电路框图,供读者参考。
