随着家用录像机和激光视盘等视频设备的发展和普及,为了提高重放图像质量,目前生产的彩色电视机不少带有AV接口端子。AV是英语中Audio(音频)和Video(视频)的缩写。AV端子一般包括一组视频输入、输出和一组(单声道)或两组(双声道)音频输入、输出。具有AV端子的电视机可与录像机的AV输出端子直接连接,避免用射频传输中调制与解调的环节,获得更好重放图像质量。以下把彩电中AV接口电路有关问题作些介绍。
一、AV接口电路原理
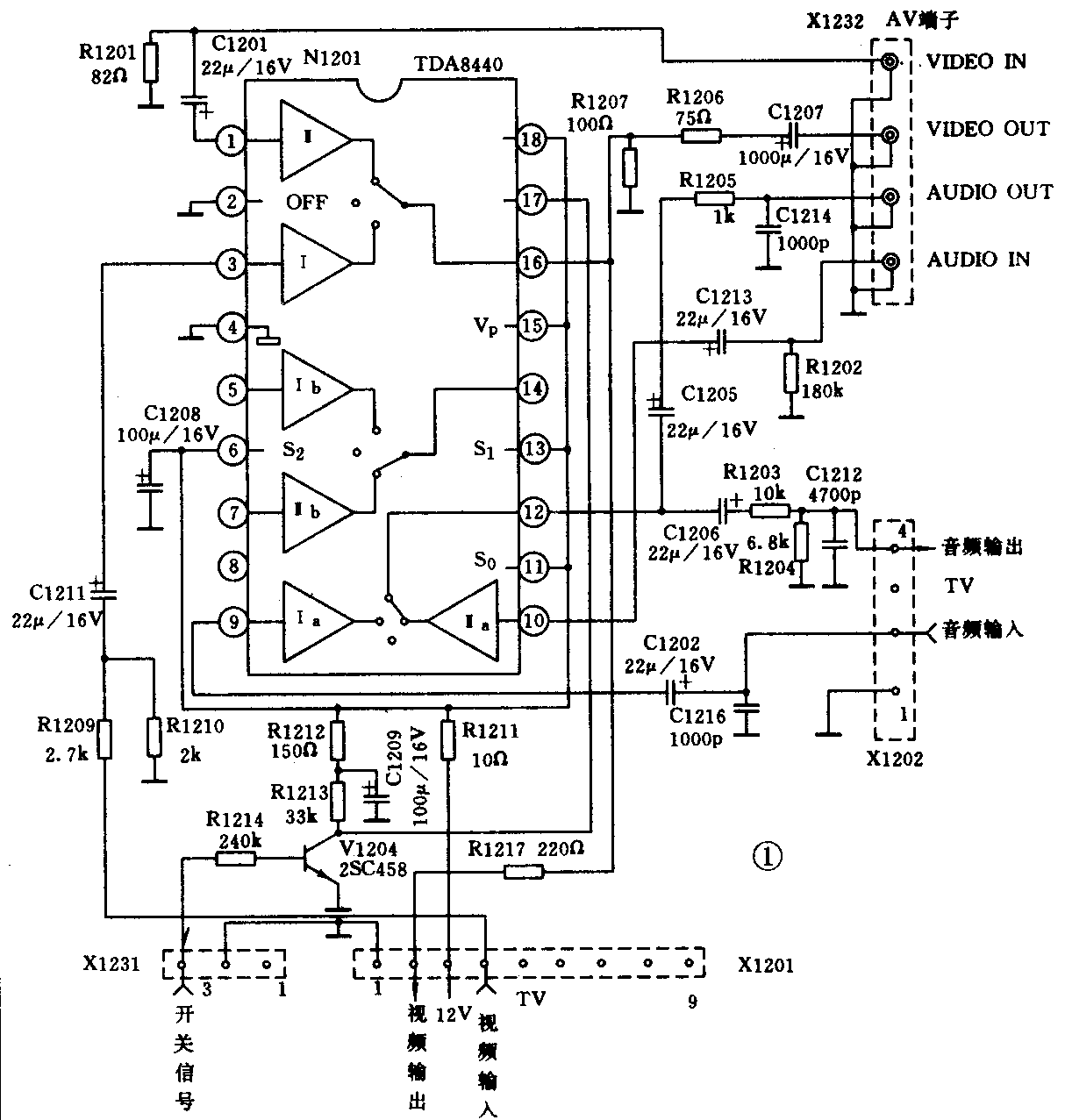
AV接口电路由两部分组成。 一是与外部视频设备连接的输入、输出端子;另一部分是切换开关电路,对收到的电视信号和外部输入的视、音频信号进行切换。下面以图1示出的金星C514彩电的AV接口电路为例说明。

电视机收的视频信号从端子X1201④脚输入,经R1209和R1210分压后送到开关集成电路 N1201③脚。外接视频信号通过AV端子X1232①脚送到N1201①脚。电视机收到的伴音信号和外接音频信号分别经过端子X1232和X1202,送到N1201的⑨脚和⑩脚。输入的视、音频信号经开关电路切换后分别从脚和脚输出,送到机器的视、音频处理电路及AV输出接口端子。
N1201是飞利浦公司生产的视、音频开关电路TDA8440。它有两路伴音通道和一路视频通道,每个通道有3种状态(输入Ⅰ、输入Ⅱ、断开)。另外,视频通道有增益可变放大器,可选择一倍或两倍增益。
对TDA8440的控制有两种方式,即总线控制和电压控制。总线控制是一种比较特殊的控制方式,限于篇幅,这里只就电压控制加以说明。当S\(_{0}\)(11脚)、S1(13脚)和S\(_{2}\)(6脚)都接12V时,为电压选择方式,由脚的电位情况来选择输出信号。当脚为高电平时接通机器收到的视、音频信号,脚为低电平时接通外接视、音频信号。为视频通道放大器增益选择输入,当接12V时增益为2,当0V时增益为1。为了满足信号电平匹配,当接电视信号时选择1倍增益,接通外接视音频信号时选择2倍增益。
二、AV接口的安全问题
现代彩色电视机都是采用高效率开关电源,它在结构上有两种形式:一种是隔离式,开关电源变压器起隔离作用,初级与电网相通,次级与电网隔离。因此它的底板不带电,俗称“冷底板”;另一种是非隔离式,它的整个机心与电网相通而底板带电,俗称“热底板”。对于冷底板机心其所有外接端子可以与机心直接相连,而热底板机心其所有外接端子都必须与机心隔离,才能保证人身安全。对于生产厂家,在采用热底板的电视机上加装AV接口端子,都严格保证端子与机心有绝对可靠的绝缘,否则将会引起人身触电事故或造成电视机和外接设备的严重损坏。而一般爱好者对电视机加装AV接口端子时,首先了解机器是什么样的底板,如果是热底板就要特别注意以上提到的安全问题。下面以日立CPT2125电视机中的AV接口电路为例,介绍一种隔离方法供读者参考。

CPT2125机的AV接口电路如图2所示。图中虚线右边是带电部分,左边是不带电部分。光耦合器IC1301和IC1302是这个电路中关键器件,要求它有良好的频率响应(0~6MHz),输入与输出之间能承受3kV(交流)电压。外接视频信号从VIDEO IN端子输入,经IC1301耦合到开关电路V1322基极,机内电视信号送到V1323的基极。V1323的基极为固定偏压(3.3V),而开关电压接在V1322基极。当开关电压为0V时,V1322截止而A点为电视信号;开关电压为12V时,V1322基极为10V,A点电位升高为8.8V使V1323截止,此时A点为外接视、音频信号,A点的信号经V1324缓冲送至电视机的视频处理电路。V1325、IC1302、V1303、V1314组成信号输出通道,将机内视频信号送至VIDEO OUT端子。
不带电部分的工作电源也必须与机心隔离。图中T1301是隔离变压器,初次级之间耐压也必须达到3kV(交流)。T1301的初级接行输出变压器灯丝绕组(22V\(_{p-p}\)行逆程脉冲),由V1302、V1301、C1304、R1305、C1303等组成整流和稳压电路,给不带电部分的电路供电。(郭斯宏)