同学过生日,送支电子音乐蜡烛饶有风趣,可为生日增添喜庆气氛,还可用作工艺装饰品。本电子音乐蜡烛其明显特点在于:触摸延时、声光并茂、线路简单、成本低廉、易于制作。

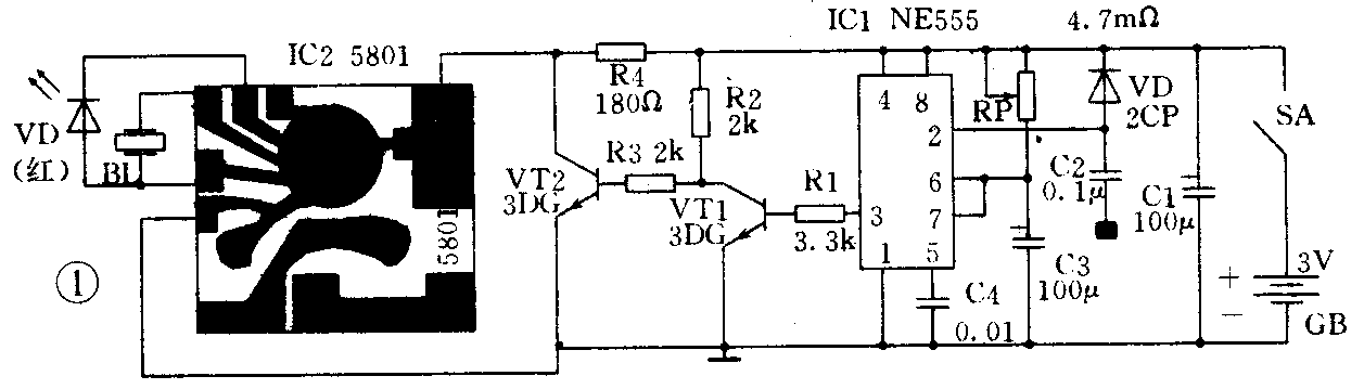
电路原理:电路如图1所示,由触摸延时开关IC1(工作在单稳态)、电子开关VT1、VT2和音乐集成电路IC2组成。开关SA闭合,电源接通。用手触摸金属感应片A,A将人体感应信号送入IC1触发端2,触发IC1翻转进入暂稳态,IC1的3端输出高电平,VT1饱和导通,VT2截止,电源GB通过R4加至音乐集成电路IC2(5801),IC2奏出:“祝您生日快乐”音乐,红色发光二极管伴随音乐的节奏闪烁发光宛如跳动着的火焰。在暂稳态期间,电源通过电位器RP向C3充电,经过时间t=1.1RP·C3(秒),C3上的充电电压上升至电源电压的2/3倍(即2V)时,IC1暂稳态结束,3端输出低电平。IC1又恢复至稳态,VT1截止,VT2饱和导通(饱和压降为0.1V),IC2因其供电电源只有0.1V不能工作,奏乐停止,发光二极管也不发光,待再触摸一次感应片A,上述工作过程重复进行。
元件选择:IC1选用NE555、LM555或国产5G1555等均可;VT1、VT2选3DG12或3DK2,β≥80;IC2音乐集成块选用驱动能力强的5801(内储“祝您生日快乐”乐曲)或选用浙江绍兴市电讯厂的音乐集成电路SD 8H(内储“祝您生日快乐”音乐);发光二极管宜选Ф5mm的红色高亮度型号;发声元件压电陶瓷片BL选HTD27A—1型号;电位器选实芯电位器。其余元件无特殊要求。
制作调试:奏乐时间、“蜡烛”点亮时间的长短由t=1.1RPC3(秒)决定,可根据需要通过调整电位器RP实验调定。电子音乐蜡烛的装配如图2所示,可用厚纸板卷成蜡烛同样大小的圆筒,圆筒中部钻几排发声用的小圆孔,用万能胶粘接牢固。表面浇上一层红蜡,红发光二极管装在蜡烛顶端作为火焰。将整个线路板、电池及引线置于蜡烛和底座内部(底座用灯座),电源开关SA和触摸金属片置于底座表面。只要线路焊接无误,电子音乐蜡烛即可正常工作。如将线路稍作修改,可做成各种类型的触摸延时式声光电子电动玩具、工艺装饰品等。(贾振民)
