在室内、夜间、阴影下或逆光摄影时,要获得满意的拍摄效果,通常要用各种各样的辅助照明光源,其中以电子闪光灯的性能最佳。
电子闪光灯的种类很多,从结构上分,主要有单体电子闪光灯和照相机内藏闪光灯两大类。从电路上分,主要有以下几种常用电路。
1.普通闪光灯电路
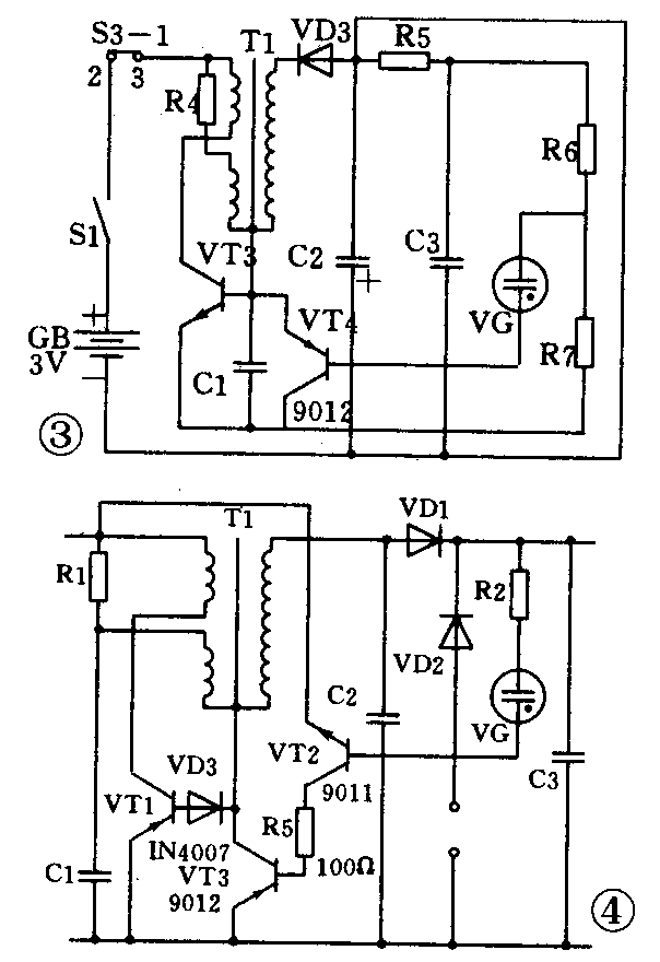
普通闪光灯电路通常由DC—DC变换、储能、充电显示、触发及闪光灯管组成,见图1、图2。中、低档照相机的内藏闪光灯一般采用这类电路。


图1、图2所示电路的工作原理是相同的。接通电源开关后,由三极管和振荡线圈、整流二极管构成的反激式DC—DC变换电路将电池的低电压变换成300V左右的直流脉动电压,对储能电容器充电,当充电电压上升到额定电压的70%(约200V左右)时,VG点亮。这时,即可按动快门按钮,进行闪光摄影。快门动作时,同步触发开关闭合,触发闪光灯管,储能电容器通过闪光灯管放电闪光。
2.恒压充电闪光灯电路
在图1、图2所示的电路中,当VG点亮之后,由于振荡电路仍在工作,故耗电较大。若将图1、图2中的部分电路改为图3、图4所示,则可大大降低VG点亮后的耗电。

在图3所示电路中,当储能电容器C2所充电压低于VG的启辉电压(一般为250~270V)时,VG不点亮,VT4因无基极偏流而截止,振荡电路工作。当C2所充电压大于VG的启辉电压时,VG点亮,VT4导通,振荡管VT3截止,此时电源所消耗的电流基本上由R4决定。当C2上的电压降低时,VG熄灭,VT4截止,VT3又进入振荡工作状态。
图4所示电路的工作原理与图3类似。
3.自动调光闪光灯电路
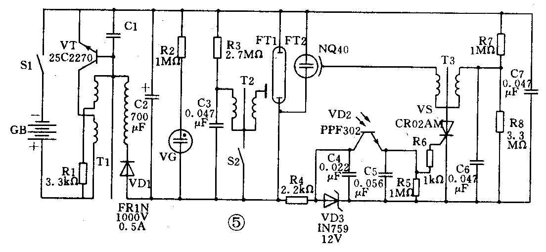
采用自动调光的闪光灯,可根据被摄物体所受光照的强弱,自动确定灯闪时间的长短,来得到正确的闪光曝光量。图5所示为并联控制式自动调光闪光灯电路。电路中振荡和主闪光灯管的触发闪光与普通闪光灯相似。当主闪光灯管发光后,光敏管VD2接收到被摄物体反射回来的光,使可控硅VS导通,于是C6储存的电能经T3振荡升压,触发旁路闪光灯泡,迅速将主电容器C2的电能泄放,使主闪光灯管停止发光,从而获得正确的闪光曝光量。

由于并联控制式电路比较简单,故应用广泛。
4.闪光指数可调的闪光灯电路
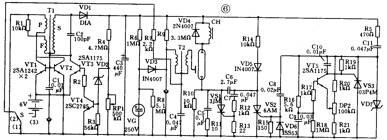
图6所示电路的闪光指数可在一定范围内连续可调,其振荡管由VT1、VT2并联而成,从而改善了振荡管的大电流工作条件。主电容器C3为恒压充电。闪光指数的调节是通过电位器RP1来实现的。调节RP2,可改变VT5的发射极电位,该电位与C9上的积分电压相比较,然后变成和闪光灯闪光时间相对应的脉冲信号,便可控硅VS2导通。于是C6储存的电能反向加到VS1两端,迫使VS1关断,闪光灯管停止闪光。

5.自动闪光电路
自动闪光的控制方式比较多,常见的两种方式,如图7、图8电路所示。

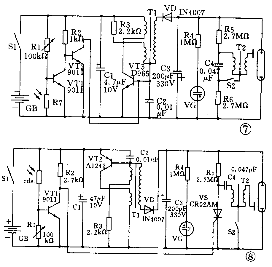
在图7所示电路中,当被摄物的亮度较低时,光敏电阻R7的阻值增大,三极管VT1饱和导通,VT2截止,闪光灯振荡电路开始工作。反之,由于VT3的基极被VT2饱和钳制而不能振荡。
图8所示电路的特点是,在未摄影前,主电容器C3已充好电。摄影时,如果被摄物体的亮度较弱,则VT1截止,VS导通,随着快门的开启,同步开关S2接通,闪光灯闪亮。反之,VT1饱和导通,VS截止,闪光灯不闪亮。
6.自动断电的闪光灯电路
闪光灯用后,则应关断闪光灯。目前,国外的一些相机上已有延时自动断电功能。一般是打开相机前盖开关后,若在几十秒钟内没有拍照,则相机(包括内藏闪光灯)自动断电。此时按下拍摄按钮,只需在拍摄按钮按至中途约停留一秒钟,即可自行恢复通电。

在图9所示的自动断电闪光灯电路中,只增加了一个延时电路。当电源开关S1接通后,比较器输出低电平,VT1导通,闪光灯振荡,主电容器C3充电。在VT1导通期间,若进行了拍摄,即手拍按钮开关S2或自拍开关S3接通,则比较器持续保持低电平状态。否则,随着计时电容器C1的充电,当A点电位低于B点电位时,比较器输出高电平,VT1截止,闪光灯停振。(张志刚)