长期以来晶体管功放由于电路和元器件不断发展完善,已能达到极高的电气指标。然而,不少精于此道的爱好者主观听音评价,总觉得仍有不尽人意之处。原因何在呢?是否还有改进余地呢?本文就此发表一家之言与大家共同探讨。
一、症结所在

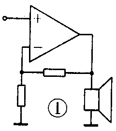
以往的功率放大器普遍采用以输出电压取样反馈的方式,如图1所示,以下我们简称其为“定压功放”。经过分析,我们会发现这类功放有一定的缺点。问题就在于其负载扬声器是一个电感,这个负载的等效阻抗将随频率的变化而改变。即便使用了多段频率均衡器也难于精确抵消感抗变化造成的失真。另一方面,扬声器工作时产生的反电动势对该类功放亦有较大影响,当该类功放为克服反电动势加大阻尼后,放音音色就显得干、硬;反之则会增大失真。可以说这类功放即使在假负载时的电气指标做得再高,接上扬声器放音时仍不够理想。因此要更上一层楼还须新探索。
二、改进设计的思路
我们知道磁场中导体上流过的电流决定了导体受力的大小。那么就是说在扬声器动圈中只有电流随信号电压规率按比例变化,动圈才能获得相应的动力,推动音盆产生相应的音响(这是指在特定的条件范围内)。据此得出:高保真功率放大器应考虑采用以电流为定量输出的形式。这里我们叫它作“定流型功放”。这一形式可以以图2为代表。因其原理简单,这里就不再叙述了。

三、实际制做与比较
有比较才有鉴别,我们可以通过以下试验了解两种功放的差别。以1992年第8期介绍的无开关功放为例。按图3改动,即可变成一台定压/定流转换型试验功放。试验时负载不应使用带分频器的组合音箱,而应选一只宽频响的扬声器,信号可取自激光唱机或录音机线路输出。节目最好选用传统乐器演奏的轻音乐(必须用优质唱片及原声带)。试听时音量要开得适度,以能分辨出乐声细节为准,使耳朵处于听觉灵敏度较高的区域。放音时做定压/定流切换比较。您会发规定流输出时,高中音更清晰透亮,低音更舒展自然。总体感觉就如同乐队前有一幕布,或被拉开,或被挡上。这一效果即使是非专业人员也能感受到。

有条件的读者还可以对功放输入不同频率的正弦小信号,用示波器观察扬声器和0.4Ω电阻上的电压波形和幅值,进行对比测试。您会看出两者的不同之处。
定流型功放与定压功放的区别还有:瞬间负载短路不至于烧毁功放管;降低了对功放与扬声器之间连线的要求;增益与负载阻抗成正比等。
如读者欲制做实用电路,建议采用前端电子分频,定流功放用一对一方式与扬声器配合,以便充分发挥其特性。可参考图(4)配置。

具体定流功放电路请参考图(3)自行设计试制。
四、结束语
此文系笔者两年前自娱试验的反思,因条件和水平所限,从理论到实践都不完善,所谈见解也不一定正确,有些问题尚未做结论,如适用的功率范围(因笔者只在家中以中小音量欣赏音乐,认为效果很好)?扬声器的选择等,有待继续研讨。(朱耐冬)