本文介绍一种电子玩具——惯性导弹打飞机电路,它具有电路简单,成本较低,无需调试和使用方便等优点。
游戏方法

该玩具面板如图1所示,在面板的右上角画有用十架飞机图案环绕成的一个椭圆形,在每架飞机图案中心安装有1只发光二极管,在正常使用时,这些二极管将被循环点亮,用来表示飞机盘旋时的飞行轨迹。在面板的左下角画有一枚竖立的地空导弹图案,在其顶端安装有九只发光管并排列成孤型曲线,当按下“发射按钮”时,这9只发光管将依次被点亮,用来表示导弹飞行时的轨迹。在游戏时,只要打开电源开关,10架飞机图案中的发光管即以较快的速度依次循环点亮,表示飞机在盘旋飞行,此时,面板中的“准备发射”指示灯(发光二极管)点亮,表示导弹处于准备发射的状态,这时,只要按一下发射按钮,表示导弹飞行轨迹的9只发光管便会被依次点亮,而“准备发射”的指示灯同时熄灭。当导弹飞行至弧型曲线的顶端的同时,如果飞机也恰好飞到此(即VD10和VD20同时被点亮)时,则飞机和导弹将同时停止在此点上不再飞行,表示飞机被导弹命中,此时,扬声器中将发出优美动听的电子音乐声响,向游戏者祝贺。此时如按动清零按钮,整个电路自动清零,回到初始加电的状态。如果导弹飞行至顶端的瞬间而飞机并未到达该位置,说明导弹未击中飞机,此时飞机将继续盘旋飞行,而显示导弹轨迹的发光管均不再点亮,准备发射的指示灯重新亮起来,表示可以再次发射导弹。由于按下发射按钮后,导弹的飞行需要一定的时间,而在此时间内,飞机仍在以一定的速度盘旋且与导弹的飞行速度也不相同,所以,使导弹击中飞机并不容易。要想击中,必须要在飞机飞行到某一位置时提前将导弹发射出去,这在军事术语上称之为“提前量”,而这个提前量并不好掌握,它既要考虑飞机的速度又要考虑导弹的速度,还要使眼、手、协调起来,这就增加了游戏的难度,同时也增加了游戏的趣味性。又由于本游戏中的导弹一旦发射,就不再靠人为控制,能否命中飞机只靠其自身的速度来决定,很象真实导弹中的惯性制导方式,本玩具因此而得名。
电路原理

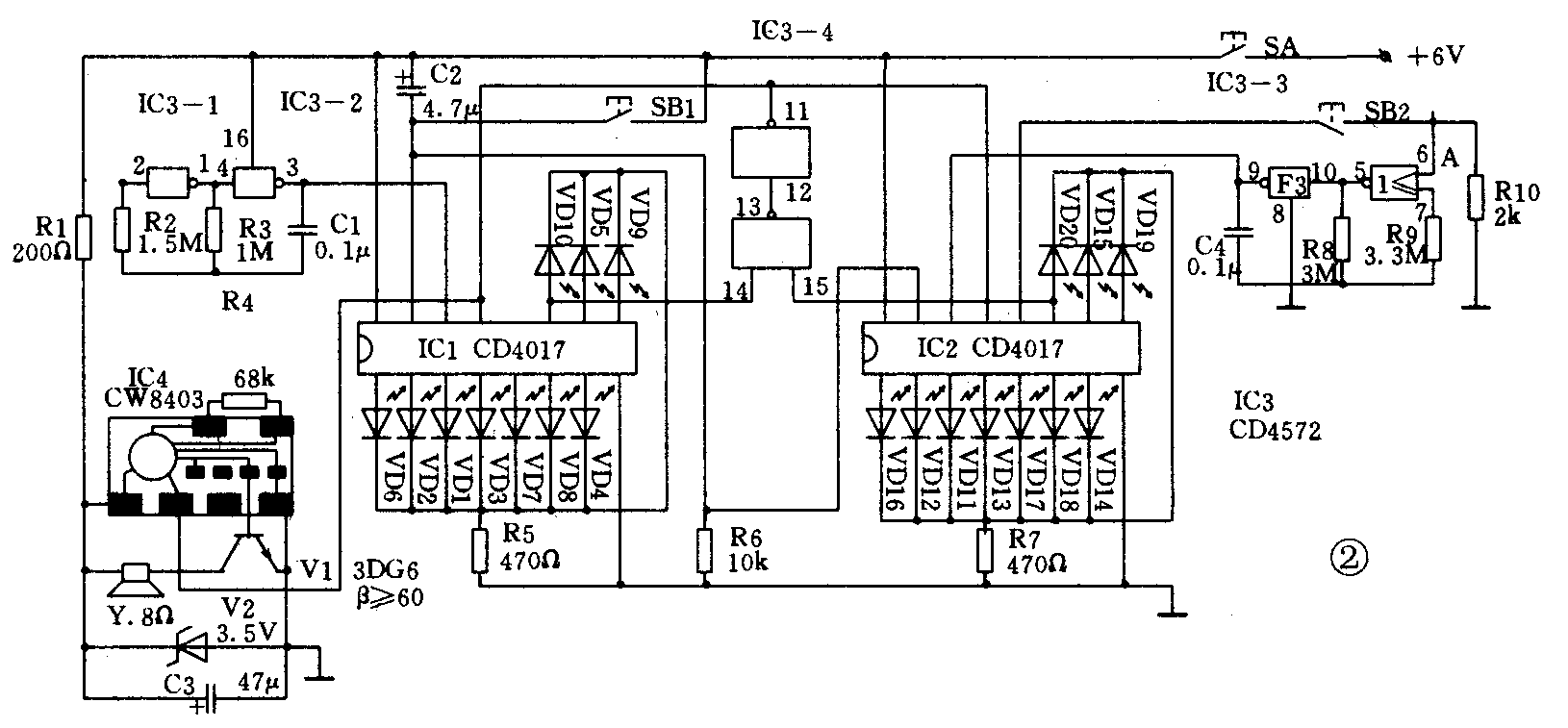
电路如图2所示,它使用了四片CMOS集成电路,其中IC1、IC2用来驱动发光管分别形成飞机和导弹的飞行轨迹,IC3是一片六门电路,其内部含有四个非门和一个二输入与非门及一个二输入或非门,主要用来组成两个方波振荡器和用做有关的控制,IC4为一片音乐门铃芯片,用来产生音乐信号。电路在加电后,F1、F2组成的方波振荡器便起振工作,此时,由于C2和R6的上电清零作用,使IC1、IC2均被清零,随后,IC1便在F2输出的方波信号的作用下产生循环计数,其输出端Q\(_{0}\)~Q9依次循环出现高电位,使VD1~VD10依次循环点亮,形成飞机盘旋飞行的轨迹,而此时因IC2已被清零,其进位端(12脚)输出为高电位并经SB2接至HF的A输入端,使HF和F3组成的振荡器处于停振状态,故IC2无计数脉冲输入,停留在初始状态上,其Q\(_{0}\)输出为高电位,使VDll被点亮,表示电路处于准备发射阶段,而VD12~VD20处于熄灭状态,表示导弹尚未发射。此时,YF输出为高电位,经F4反相为低电位并加到IC1、IC2的CE端,为IC1和IC2的计数提供了必要的条件,同时因此低电位无法使IC4触发工作,故IC4不输出音乐信号。当按动一下发射按钮SB2时,HF的A输入瑞经R10下拉电阻接地,使HF和F3组成的振荡器起振工作,其输出脉冲加至IC2的CP端,使IC2随输入脉冲计数,当有第一个脉冲输入以后,IC2的进位输出端由高变低,所以,此后即使松开发射按钮,仍能保证HF和F3组成的振荡器处于振荡状态不变,直到IC2循环计数一个周期以后,其进位输出端再次出现高电位时,HF和F3组成的振荡器才停止工作。在IC2的循环计数过程中若VD10与VD20恰好被同时点亮(表示飞行被导弹击中),YF的两个输入端均为高电位,故YF输出由高电位变为低电位经F4反相为高电位并加到IC1、IC2的CE端上,使IC1、IC2均停止计数,分别保持了VD10和VD20停留同时点亮的状态,与此同时,F4输出的高电位使IC4触发工作,IC4输出的电子音乐信号经V1放大后驱动扬声器发出电子音乐声响,完成向游戏者祝贺的功能。当按动一下清零按钮SB1时,因IC1、IC2同时被清零,整个电路又回到刚加电时的初始状态,再次按动发射按钮,电路便会重复上述工作过程。
元器件选择
IC1、IC2为CD4017B、IC3为CD4572,IC4为CW8403或其它型号的音乐芯片均可,V1使用3DG6,β≥60,V2使用稳压值为3V左右的稳压二极管,VD1~VD10用Ф3.5mm的圆形红色高效发光二极管,VD11圆形绿色高效发光二极管,VD12~VD20用扁形高效红色发光二极管,按钮SB1使用小型常开按钮开关,SB2使用小型常闭按钮开关,电源开关使用小型拨动式开关,扬声器Y使用小型内磁式8Ω电动扬声器,其余阻容元件为通用件,可按图中所标规格选用。电源使用四节五号电池串联而成。
本文电路只要元器件正常,接线正确无误,则无需调试即可正常使用。如果希望改变飞机或导弹的飞行速度只要分别改变R3或R8的阻值即可,但应注意一般应使导弹的飞行速度低于飞机的飞行速度,以增加游戏的难度。(张继辉)