盛夏酷暑,离不开电扇。传统吊扇多使用机械调感方式调速器,此种调速器价格便宜,但损耗大,调节档次少,且各档变速不均匀,单独使用时也不美观。本文介绍的电子调速器,可实现无噪音10级调速,并可用LED数码管显示风速档次,清晰美观,可为现代居室增姿添彩。
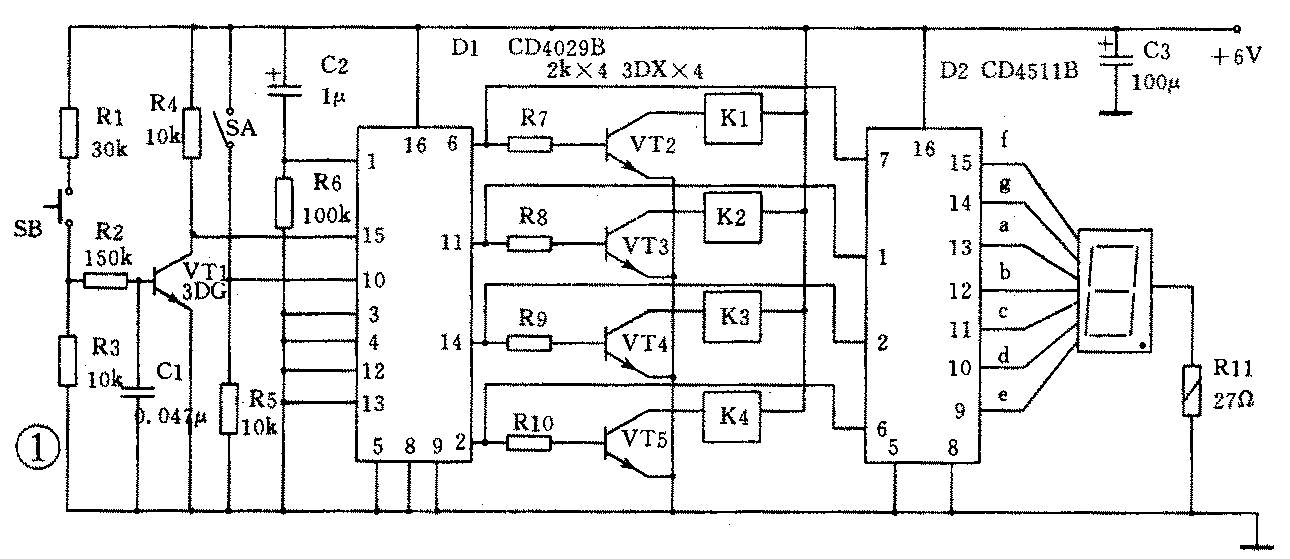
电路通电后,通过电容器C2在D1的LOAD端加入一高电平脉冲,将预置端A、B、C、D的预置数置入。由于A、B、C、D均接低电平,因此输出端Q\(_{a}\)、Qb、Qc、Qd也为低电平,其状态为0000。通过D2的译码、驱动电路的作用,数码管显示为0。由于VT2~VT5均未导通,K1~K4也未吸合,故图2中的电扇以最低速度运行。当按下SB按键后,VT1导通一次,输出一个脉冲至D1的时钟端,在加减控制端10脚接高电平时(SA闭合),D1作二进制加数;在10脚接低电平时(SA断开),D1作二进制减数,相对应的数码管显示1或9。当显示1时,D1的输出状态变为0lll,此时VT2导通,同时K1吸合,R13被短路,电扇的风速比“0”时提高一级。在数码管显示9时,D1的输出状态为1001,VT2、VT5导通,K1、K4吸合,R13、R16被短路,此时电扇的风速比“0”时提高九级,达到最高风速。若连续按动SB,则数码管顺序显示2、3、4……或显示8、7、6.……(根据SA的位置决定是加还是减),电扇风速也随之相应变化。
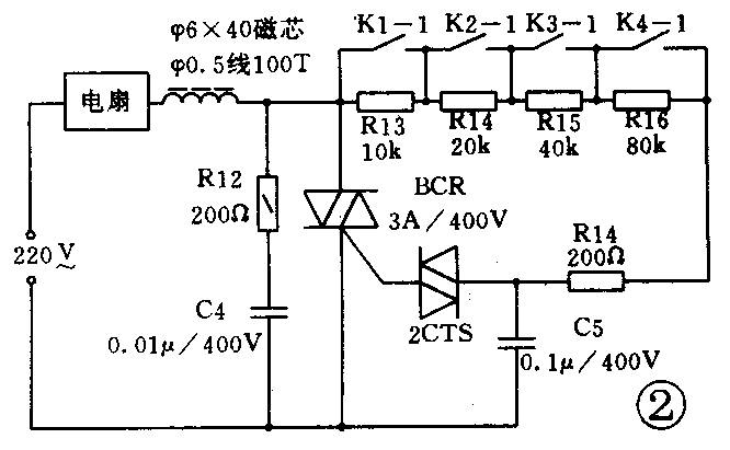
图2为可控硅调压电路。按照图2电路连接,电扇共可获得10级调速,且各档风速增减均匀,无突变感。
图1中的D1为CD4029B或CC4029B,D2为CD45llB,K1~K4用工作电压为6V的继电器,数码管为0.5英寸共阴极LED。
该电子调速器。不仅可用作吊扇调速,也可用于台扇及落地扇的调速。(许胜利)

