电位器是常用的电子元件之一。在收音机中,用它来控制音量和音质。在电视机中,用它来预选频道,调节亮度……。
电位器是一种连续可调的电阻器,其滑动臂(动接点)的接触刷在电阻体上滑动,可获得与电位器外加输入电压和可动臂转角成一定关系的输出电压,见图1(a)。就是说通过调节电位器的转轴,使它的输出电位发生改变,所以称为电位器。

电位器的种类
电位器的种类极多,并各有特点。为便于读者记忆,分类概况用表1表示。

一.常见的两种电位器
1.线绕电位器
线绕电位器是将电阻丝绕在绝缘支架上,再装入基座内,并配上转动系统组成(见图2)。这种电位器最大的优点是:耐热性能好,能承受较大的功率。但它的分辨力有限,这是由于电阻丝是一圈一圈地绕在骨架上的,当接触刷从电阻丝的这一圈滑到另一圈时,阻值的变化呈阶梯式。

线绕电位器可做成精密型、多圈型、功率型和特殊函数型等电位器。主要用于高精度或大功率电路中,但它不宜用于频率较高的电路。
2.碳膜电位器
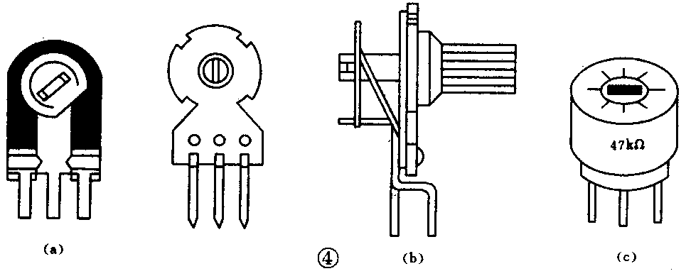
这种电位器的电阻体是用碳粉和树脂的混合物喷涂在马蹄形胶板上制成的(见图3)。这类电位器是目前使用最广泛的一种电位器,它的品种很多,从最简单的片状半可调电位器(图4(a)),到结构复杂的各种带开关的电位器(图10)和精密型电位器等。


碳膜电位器阻值连续可变,因此它的分辨力很高,阻值范围很宽,易于制作出符合需要的阻值变化特性,工作频率范围较宽。它的缺点是额定功率较小,一般只能加工到2瓦,此外,碳膜片受湿度和温度的影响较大。
二.各种结构和不同调节方式的电位器
1.单圈电位器
一般电位器都是单圈电位器,它的滑动臂只能在不到360°的范围内旋转。
2.多圈电位器
这种电位器的滑动臂从一个极端位置到另一个极端位置,它的轴要转动好几圈,外形见图5。这种电位器的电阻丝绕在外有绝缘层的粗金属线上,金属线圈绕成螺旋形,再配上专门的转动系统。转轴每旋转一圈,滑动臂触点在电阻丝上仅改变很小一段距离。因此,它主要用于精密调节的电路。

3.多圈微调电位器
它是用蜗轮、蜗杆结构调节电阻。它分为两种形式:一种接触刷装在轮上,蜗杆只作机械的传动,电位器的接触刷在电阻体上作圆周运动(见图6)。另一种是蜗杆直接带上滑块,随着蜗杆的旋转,滑块在电阻体上作直线运动,达到调节阻值的目的(见图7)。这类电位器用于需要精密微调的电路中,如电视机高频头中的频道预选电位器。


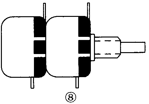
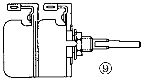
4.双连或多连电位器
多连电位器是为了满足某些线路统调的需要,将相同规格的两个电位器装在同一轴上,这就是同轴双连电位器(见图8)。还有一种是将两个相同或不同规格的电位器分别装在一组同心轴上,外轴为空心套管,里轴装置在套管里。使用时两轴可以自由转动而调节其中的任意一连电位器,这就是异步异轴双连电位器(见图9)。使用这类电位器可以节省空间、美化板面的布置,高档立体声收录机的音调、音量控制和一些测量仪器上,常使用它。


5.带开关电位器
带开关电位器是在电位器上附带有开关装置。开关和电位器虽同轴相连,但又彼此独立,互不影响,因此在电路中就可省去一个单独的电源开关。其中按开关位数可分为单刀单掷、双刀双掷等,按开关运动方式可分为旋转、推拉开关等。一般旋转式开关按顺时针方向转动为开,反之为关。在做“开”或“关”的动作时,必须将滑动臂旋到端点位置。图10(b)为小型带旋转式开关的电位器,常用于袖珍式收音机作音量兼电源开关。图10(a)为带推拉开关的电位器,它的滑动臂在任意位置时,都可将其转轴拉出,而使开关“开”,推入而使其“关”。因此,推拉式开关电位器的使用寿命相对比较长。常用于电视机中作音量兼电源开关。

6.锁紧型电位器
外形见图11。它的轴套上部是圆锥形,并开有槽口。当螺母向下旋紧时,靠圆锥作用将轴的位置固定,对于不需要经常调整而经常搬移的电子仪器,它特别适用。

7.半可调电位器
它常用在不需要经常调节的电路中,如晶体管收音机电路中作工作点调整等。外形见图4(a)(b)(c)。
8.直滑式电位器
电阻体为板条形,通过与滑座相连的滑柄作直线运动来改变阻值(见图12)。

直滑式电位器是一种形式比较新颖的电位器,使用时,不但可使面板布置别致,还可以比较直观地反映出滑动臂所处的位置。因此,它广泛地被应用在收音机、录音机、电视机和一些电子仪器上。
电位器的符号
尽管各种电位器的组成材料、结构、外形、阻值、额定功率不相同,但在电路图中,都用图13所示的符号来表示(文字符号“RP”,符号旁标出的阻值为电位器的最大阻值)。这个符号中间的长方块就相当于电位器实物中的电阻体,带箭头的线代表在电阻体上滑动的接点,箭头表示可以变动的意思。

有些电位器带有开关,它用图14所示符号表示,其中右半部分表示开关,中间虚线表示开关与电位器是由同一个轴控制的。(周富发)
