东芝Ⅲ型彩电的开关电源,具有管耗小、效率高、稳压范围宽以及体积小、重量轻、线路简单等优点,得到广泛应用。几年来,本人在检修该机型的实践中,摸索出一些此种机型开关稳压电源故障的规律和特点,现总结出来介绍给读者。
电路原理及特点
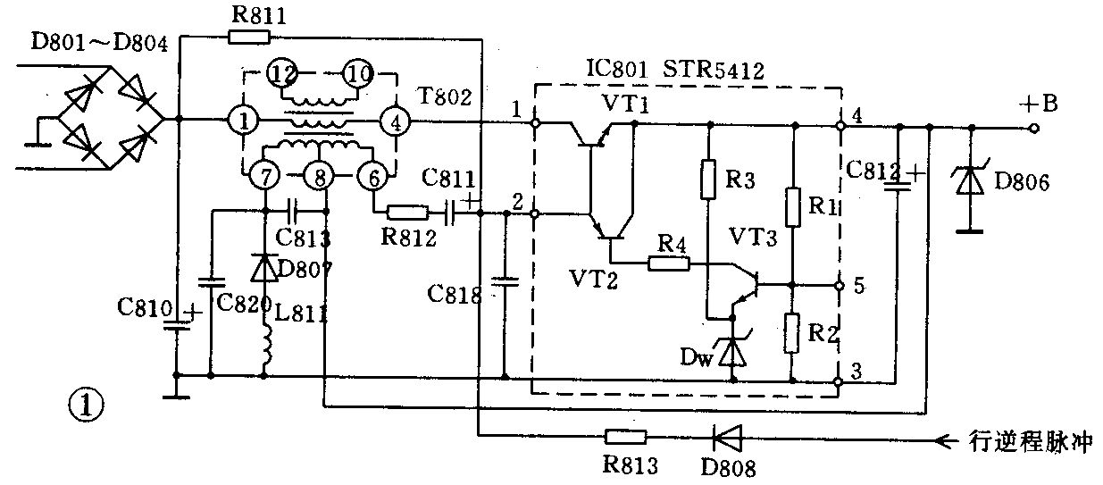
1.电路组成:东芝Ⅲ型开关稳压电源电路见图1。D801~D804、C810组成整流滤波电路,正常时电压为310V左右。R11为启动电阻,开关变压器T802的次级绕组(8、6端)与R812、C811组成正反馈回路,由R813、D808从开关变压器T461的⑤脚引入行逆程同步脉冲。续流电路由T802的次级绕组(7、8端)与续流二极管D807组成。误差放大器由VT3和R1、R2及稳压二极管DW组成,VT2为脉宽调制控制级。过压保护电路由一次性稳压管D806构成。

2.电路原理:当接通电源时,整流滤波后的310V整流电压通过R811给开关管VT1提供一个很小的正向偏置电流,使其导通,导通后的集电极电流流过T802的初级绕组,与此同时T802次线圈(8、6端)感应出的电压,经R812、C811正反馈加至开关管的基极使其迅速进入饱和状态。开关管饱和后,一方面T801初级线圈电流按线性规律增大,将电源提供的能量以磁能的形式储存于开关变压器T802中,另一方面由绕组(8、6端)感应电压提供的基极电流对C811进行充电,其充电电压极性对开关管的基极是反偏的。随着C811两端电压的逐渐增大,其充电电流(即开关管的基极电流)逐渐减小,当I\(_{b}\)<Ic/β时,开关管自动脱离饱和而进入放大状态,使集电极电流减小,在开关变压器雪崩式的正反馈作用下,开关管VT1迅速转向截止。在开关管截止期间,T802次级绕组(7、8端)感应电压使D807导通,并将储存于T802中的磁能以电能的形式向负载供电,同时C811上充的电荷则通过R812、R444、R813、D808及T802的6、8端绕组放电。
如果暂不考虑行逆程脉冲的作用,那么在C811放电结束后,T802次级6、8绕组又会把储存于开关变压器中的磁能以电能的形式向C811反向充电,其建立的电压极性对VT1是正向偏置。当这个电压上升到能使VT1导通时,VT1又会在一个雪崩式的正反馈作用下迅速饱和,这就能使电路进入一个自激振荡状态。但实际电路并不工作于自激振荡状态,而是通过D808,R813引入行扫描逆程正脉冲,一方面使其与行频同步,另一方面使开关电源在电网电压较低时也有较好的稳压效果。VT2并联在开关管VT1的发射结上,实质上相当于受误差放大级控制的一个变阻器,对VT1的基极起分流作用,从而控制开关管的导通时间,即脉冲宽度。当因某种原因使输出电压有所升高时,通过取样电阻R1、R2使VT3的V\(_{b}\)升高,Ib增加,放大后又使VT2的I\(_{b}\)增加,Ic增大,相当于VT2内阻变小,分流作用增大,也就是减小了C811充电回路的时间常数,缩短了C811的充电时间,使开关管导通时间缩小,输出电压相应地下降。
3.电路特点:此电路在设计上与其它行频同步串联式开关稳压电源比较有一独有的特点,那就是开关管在10~12μs逆程期被行脉冲的过激励触发,维持大约28μs内的开关管自身的导通。所以在电源开启后,断开C811,输出电压基本不变,只略有下降。其它的行同步串联式开关稳压电源在失去行脉冲时一般对电视机的正常收看影响不大,仅仅可能使图声略受点影响,而此电路如果断开D808失去行同步脉冲,其输出电压即刻明显下降至50V左右,致使电视机不能工作,声光全无或在屏幕中间出现一小幅度、低亮度的异常光栅,同时开关变压器发出一种频率较低的振荡声,伴随轻微的“吱吱”声。究其原因,从上面的工作原理分析可知,D808、R813行同步脉冲支路的另一个作用即是在开关管截止期间作为C811的主要放电途径,如该支路断开,C811只能经R811(220kΩ)等放电,这就大大地延长了其放电时间,开关管的截止时间随之也明显增加,振荡频率也明显降低,于是输出电压大幅度下跌,同时开关变压器发出振荡叫声。
常见故障分析
1.主电压输出为0V,机内无任何声音。
首先检查保险丝,如被烧断,必定是因机内出现过电流所致。此种故障原因大都是由整流滤波电容C810严重漏电及STR5412中开关管击穿短路而造成的。开关管击穿必定伴随过压保护稳压管D806的击穿,而形成过电流。此外当开关电源+43V次电压供电回路有过载而使开关变压器T802初级绕组负载加重时,也会导致过流烧保险。对于该种电路,虽说行扫描输出管和开关管同时击穿的机会不多,但也时而发生。
保险丝完好,而主电压输出为0V,故障通常出在3个方面:(1)整流电路有损坏断路之处,无310V电压产生。(2)启动电阻R811及正反馈R812、C811支路中有元件损坏造成断路,使开关电源无法启动产生振荡,因而无电压输出。(3)STR5412内部电路有损坏使开关电源无法工作。依次检查即可排除故障。
2.主电压输出约0V,机内伴有尖叫“吱吱”声。
有尖叫吱吱声,说明开关电源能振荡工作,而主电压输出约0V,则说明主电压供电回路中有短路故障。此故障通常是由两种原因造成的:(1)行扫描输出管VT404击穿短路或行输出变压器内击穿与地短路使主电压输出约为0V;(2)过电压保护稳压管D806击穿短路,使主电压输出0V。主电压负载电路虽然对他短路,但厚膜组件STR5412中的开关管VT1与开关变压器T802及C811等仍能组成一个自激振荡器,只不过因主电压对地短路,行输出变压器②脚也等效于接地,其T461的同步绕组(2、5两端)失去作用,使得C811放电时间比正常时延长,也就使得振荡频率较正常工作时降低很多,导致开关变压器T802发出一种尖叫的“吱吱”声,电路见图2。此种尖叫声比较纯正,不混有其它低频的“嗒、嗒”声及扬声器的哼声,这是此故障类型的一个明显的特点。由于振荡回路损耗小,电路功耗也小,所以开关管不会被烧坏。

值得提及的是,D806击穿的故障,虽然不能排除其本身老化或质量有问题等原因,但更多的是由于STR5412内部性能不良使主电压输出过高所致(其D806齐纳电压在132~150V),所以不可简单更换D806后就草率收兵。对于行输出管击穿的故障,在更换新管开机后,要谨慎地观察其管温的变化,发现管壳温度异常,需进一步检查行逆程电容及相关的电路。
3.主电压输出偏低,伴有不同程度的“嗒嗒”声或混杂的吱叫声。
此类故障的原因主要有3种:(1)行逆程脉冲同步支路R813、D808有断路之处,使开关电源得不到行同步激励触发脉冲,导致主电压急剧下跌至50V左右,扬声器内发出哼声,屏幕无光栅或只有小幅度、低亮度的异常光栅,伴有低频的嗒塔声,其原因如前所述。(2)行输出变压器内部局部短路,行输出管软击穿或行逆程电容软击穿,以及行输出其它供电负载过载都会使得主电压负载过重,导致主电压下降。因为过载,流过开关变压器T802的电流增大,纹波也变大,再加上电压不稳,振荡不稳,所以T802就发出“吱吱”叫声,只不过这种“吱吱”声随着过载程度的不同而频率是有变化的,随着过载的加重吱吱声频率下降,以致变为嗒嗒声。此故障的幅度范围比较大,轻者光栅缩小,亮度减弱,重者声光全无,只有扬声器的哼声。其主电压降低的幅度也大小不等,轻者降至80V左右,重者降至60V左右或更低。(3)厚膜电路STR5412性能变坏,使输出电压下降。如R2阻值增加或VT3、VT2性能下降漏电增大等都会使VT2的分流作用加强,导致开关管导通时间的减小,使输出电压降低。
此类故障的检修,应以主电压下降幅度的大小为依据,作深入的分析判断。检测的顺序,首先应查行逆程同步脉冲支路是否开路;然后排除因STR5412本身故障所造成的缘故;最后检查行扫描输出电路。
附表给出用MF41万用表在长城JTC472型正常机中所测STR5412各脚对地电阻值,可供参考。

检修实例
例1:一台长城JTC472型47cm彩电出现无光无声,机内有尖叫的吱吱声。
分析与检修:开机测开关电源+112V主电压约为0V,能听到开关变压器T802尖叫的吱吱声,说明主电压负载电路中有严重的短路故障。关机后测得+112V正端对地电阻约为0Ω,断开行输出管VT404的集电极,再测其对地电阻,仍为0Ω。焊下D806检查,发现已击穿损坏。更换保护稳压管D806后,先将+112V主负载电路断开接入3kΩ/5W的假负载,再测主电压,其值上升至160V左右,说明开关电源中的STR5412性能已不良,使其输出电压升高,进而将D806击穿短路。更换STR5412后,开关稳压电源输出电压正常。去掉假负载将线路接好,开机图像伴音恢复正常。
例2:一台西湖47CD4A 47cm彩电出现无光栅,无伴音,机内没有丝毫声音。
分析与检修:首先检查保险丝,发现已烧断,管内并发黑,说明机内有严重过流故障。测开关电源主电压正端对地电阻约为0Ω,焊开D806,再测其对地电阻(红表笔接地)大于5kΩ,说明D806已击穿损坏,检查D806确已击穿。然后用万用表两表笔正反测STR5412的①脚和④脚电阻,两次检测值均为5Ω,从而可确认其厚膜电路内开关管已击穿短路。更换STR5412和D806(SR2M)后,机器恢复正常。
例3:一台黄河HC47—Ⅲ型47cm彩电出现无光无声,机内有尖叫吱吱声。
分析与检修:开启电源后,机器虽无光栅、无伴音,但能听到开关变压器T802的尖叫吱吱声,说明开关电源能工作,测得+112V电压输出只有1V左右,显然负载电路中有短路故障。关机后测+112V正端对地电阻,约4Ω,焊开行输出管VT404的集电极再测+112V正端对地电阻大于5kΩ,由此可断定行管有问题,检查行输出管,ce结已击穿短路。查STR5412的①、④脚之间电阻,均正常,更换行输出管VT404后,故障排除,机器恢复正常。
例4:一台北京8306型47cm彩电,屏幕中间只有一小幅度的光栅,但很暗,扬声器中只有哼声,机内还能听到吱吱声。
分析与检修:开机测量开关稳压电源+117V主电压,测得为55V。根据主电压下降的幅度及表现出来的故障现象,可基本上判断是因D808、R813支路断路,使开关电源失去行逆程同步激励脉冲所造成的。关机逐一检查D808、R813,发现R813(39Ω/2W)电阻内部断路损坏。更换R813后,故障排除,机器恢复正常。
例5:一台长城JTC472型彩电,光栅暗淡,行幅明显缩小,扬声器内有哼声,机内能听到吱吱声。
分析与检修:开机后首先检测开关电源+112V主电压,实测电压为70V左右,说明负载电路没有严重短路故障。然后焊开L406,将行扫描电路断开,开机再测+112V主电压,回升到100V左右,说明开关稳压电源工作正常,问题出在行扫描输出电路上。手摸行管很热,焊开行管检查性能良好。将电流表串在主负载电路中,测得电流为490mA,比正常值偏高,由此可确认行输出变压器T461内部有短路故障。更换一新的行输出变压器后,故障排除,图像和伴音恢复正常。(刘景波)