目前,市场上CD机越来越流行,然而CD唱片的价格仍较贵,故人们仍多以卡座转录CD唱片。但目前不论是用进口的还是国产卡座转录出CD片的质量均不佳,不能满足高质量要求。用户能否自己动手改进提高?回答是肯定的。
一、磁头的重要性
大家知道,一个放音系统的好坏与磁头的选择关系很大。一般来说,在放音补偿网络已定的情况下,放音频响(尤其是高端频响)将直接取决于磁头的好坏。表1所列为磁头生产厂家与磁头品种。一般来说,国产录放卡座使用的磁头不超出上述几家厂的产品。对于一般的用户,从调整方便角度出发,应使用同一生产厂家的磁头来更换。如果用户使用的录放卡座低频响应很好的话,那么应优先选用可防轮廓效应的双曲面磁头,如DM62、R4300等。这样可以收到更好的效果。

二、放音补偿网络的调整
按国标规定,放音补偿网络对应的2个时间常数为:τ\(_{1}\)=318μs(对应50Hz)、τ2=120μs(对应1.3kHz、普通带)。经过这样补偿后放音能保持较平直的输出。各个生产厂家并不完全遵照上述规定,因此,用户应首先看看机器的补偿网络是否符合上述要求,如发现不符,且偏差较大,则应加以调整。如珠江牌KZ—701卡座,其放音卡、录放音卡放音补偿网络的2个时间常数(见图1):τ\(_{1}\)=R141×C132≈2250μs(对应70Hz)、τ2=R112×C111≈4840μs(对应33Hz)。又如钻石牌FL—888组合音响,其放音卡、录放卡电路相同见图2,其中τ\(_{1}\)=R25×C19≈1800μs(对应88Hz)。因此,要想得到更好的放音效果,就必须加以调整。一般调整步骤如下:a.找出放音卡、录放卡的放音补偿网络;b.简单计算2个转折频率(即2个时间常数),可利用公式f=1/2πRC进行简化计算;c.判断与调整,即将计算结果与国标规定进行比较,相差不太大时,就不必改动,否则必须调整。如达声牌DS—2000型音响,其放音卡的2个转折频率(见图3)为:
f\(_{1}\)=1/2πR255×C247=1/2×π×100×10\(^{3}\)×0.015×10-6≈106(Hz)
f\(_{2}\)=1/2πR253×C247=1/2×π×10×10\(^{3}\)×0.015×10-6≈1064(Hz)



显然,f\(_{1}\)≈106Hz与50Hz相差太大不利于放音卡低端频响的扩展,故必须重新调整。图4为改动后的电路。一般经f1、f\(_{2}\)补偿后,放音输出时在高音频段仍有下跌。通常是利用磁头电感L和外接电容进行并联 谐振,利用谐振时输出电压最大原理,可以方便地将高音频响补偿几个分贝。通常取C=680~1000(P)。

一般用户只要经过上述3个步骤,国产录放卡座的放音质量即可达到国际上认可的高保真要求(最低要求为31.5~12500Hz)。
三、录音补偿网络的调整
在录音时,需进行大幅度的高频补偿。一般方法有:RC补偿、二阶RC补偿、LC谐振补偿及RC桥T谐振法等。一般无论进口卡座还是国产卡座多用LC谐振补偿法和RC桥T谐振法。由于LC补偿法可以较好地实现理想录音补偿,而且元件少,设计制作容易,故在目前较高级卡座中广泛使用。

图5为红灯牌ZYZ—8000型组合机的录音LC补偿网络。该补偿网络的最高谐振点为:
f\(_{max}\)=1/2π\(\sqrt{LC}\)=1/2×π×47×10\(^{-}\)3×0.015×10-6≈18.96(kHz)
表2
补偿点 6.3 8 10 12.5 14 16 18 18.96 kHz
补偿量 3.06 4.42 6.05 7.93 8.89 9.82 10.28 10.33 dB
表2为该补偿网络在6.3kHz、8kHz、10kHz、12.5kHz、14kHz、16kHz、18kHz处的理论补偿量(实际还要小些)。从表中不难看出,该机录音补偿量最大(在18.96kHz处)也只有10.33dB,显然提升量过小,即提升量不足以补偿在录音过程中的各种损耗。那么补偿量多少才算合理?简单地判断方法是:计算其磁头的放音频响—录放频响。如ZYZ—8000型所用磁头为双曲面磁头R4300,该磁头的放音频响为14kHz+10.5dB,录放频响为14kHz—7dB(普通带),则录音补偿放大器在14kHz处的补偿量不应小于10.5—(-7)=17.5dB。而ZYZ—8000型在14kHz处提升量才9dB左右,故提升量不足。改进的方法是一般在LC谐振回路中都串有一个电阻R,这个电阻决定了该回路的Q值,即提升量的大小。如ZYZ—8000型,补偿网络中的R560(R460)原值为470Ω,若改为100Ω,则14kHz处的提升量为3.64(11.22dB),比原来提高近3dB。另一方面,由于该机使用的磁头最高频响只有14kHz,故最高谐振点不宜过高。ZYZ—8000型的最高谐振点为18.96kHz,显然过高。若最高谐振点从18.96kHz下降到15kHz左右,则补偿量将会更合理。即将C543(C443)0.015μF改为0.022μF,其最高谐振点即为15.6kHz。表3是ZYZ—8000型改进后各点补偿量(C=0.022μF R=100Ω)。下面粗略地分析一下LC网络中各参数对补偿量的影响:
表3
补偿点 6.3 8 10 12.5 14 15 15.65 kHz
补偿量 3.6 6.67 9.72 14.42 17.50 9.00 19.31 dB
①在其他参数不变的情况下,R大则提升量小,R小则提升量大。当R=0时提升量最大。如ZYZ—8000型在其他参数一定的条件下,R由470Ω变为100Ω,在最高谐振点f\(_{max}\)=18.96kHz处的提升量由原来的10.33dB增大到19.31dB;如R=0则达到最大值为29.20dB。笔者认为最大提升量应大于20dB,否则提升量将不足,一般R在0~150Ω内选择。
②如设f\(_{max}\)为LC最高谐振点、f0为磁头最高工作频率,则f\(_{max}\)不宜选得过高,否则会引起在最高工作频率f0处的最大提升量f\(_{max}\)下降过大。一般情况下,fmax/f\(_{0}\)的比值取在1.1~1.3之间较为合理。
四、卡座改进实例
改进的卡座为目前国内颇为流行的珠江KZ—701型双卡座。改进遵循以下3点原则:
①以转录CD片为主,且在采用大电平录音时要求基本保持CD片的效果;
②尽可能地提高转录信噪比;
③以人为的听感为准而不以仪器测试为依据(因为一些测试指标很高的卡座实际听感很一般)。
A.带速误差的调整。
带速对信噪比影响极大,这一点往往被人忽视。一般当带速误差从2%下降为0.5%时,信噪比将提高3~5dB。而一般的卡座其带速误差均在2%左右。KZ—701卡座选用LX—85型塑料轻触机心。实测其带速误差为放音卡2.4%,录音卡1.8%,必须调整。
调整的方法是调节常速电位器。KZ—701卡座为放音卡R251、录音卡R247,顺时针调为快,反时针调为慢。反复多次直到在0.5%左右为止。此时信噪比可以提高4dB。
B.更换磁头,调整放音补偿网络。
原机使用223—30硬合金磁头,录放频响12.5kHz。为了提高放音质量,笔者选用了R4300双曲面硬合金磁头代换。
KZ—701卡座的放录卡的放音补偿网络的2个时间常数(对应转折频率)分别是:
放音卡:τ\(_{1}\)≈2250μs(70Hz)、τ2≈150μs(1061Hz);
录放卡:τ\(_{1}\)≈4840μs(33Hz)、τ2≈150μs(1061Hz);
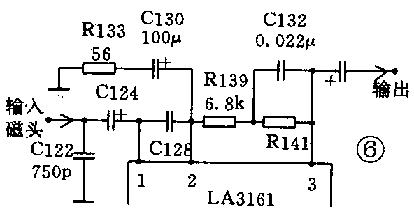
显然,放音卡低端频响的扩展受到了限制且与录音卡补偿网络也不同,故加以调整。即放音卡:R139(R140)由10kΩ改为6.8kΩ;C132(C133)由0.015μF改为0.022μF;录音卡:R111(R112)由220kΩ改为150kΩ;图6为改动后的电路,注意放音卡与原电路的区别。另外为扩展高端频响,将C101(C102)由1000pF改为750pF,C122(C123)由510pF改为750pF。此时,C与磁头电感的谐振点约为16kHz,在该频率处可提高4dB左右。经过上述两步改进,该机的放音频响和信噪比有较大的提高。

C.录音补偿网络的调整。
KZ—701卡座使用LC谐振补偿法。LC补偿网络的最高谐振点:f\(_{max}\)=1/2π\(\sqrt{LC}\)=1/2π×10×10\(^{-}\)3×4700×10-12+0.01×10\(^{-}\)6≈13.13kHz。还有一级RC补偿以补充LC提升的不足。该级从f=1/2πR168C154≈11(kHz)开始补偿。
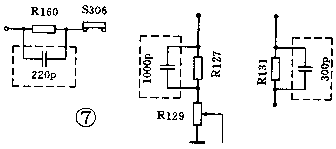
由于本录音卡座的主要作用是转录CD片,而CD片的动态极大,频响极宽,故录音补偿网络必须具有很大的提升量。理论与实践均已证明,一级LC补偿或一级LC加一级RC网络均不能满足此要求。必须增加多级RC补偿网络方能达到好的效果。具体的方法是改C148(C149)由0.01μF为6800pF,取消R166(R167),改R170(R171)由180Ω为47Ω,改L103(L104)由10mH为6.8mH,则LC补偿网络的最高谐振点f\(_{max}\)为fmax=1/2×π×\(\sqrt{6}\).8×10\(^{-}\)3×(4700+6800)×10-12≈18(kHz)。另外,将C154(C155)由1200(pF)改为1500(pF),则该级RC提升网络从f\(_{1}\)(8.84kHz)开始补偿止于f2(16.78kHz)。该级补偿在f\(_{2}\)处具有最大提升量Af2=20lg\(\frac{f}{_{2}}\)/f1=20lg16.8;8.84≈5.56(dB)再增加二级补偿网络,即在R160(R161)处并接220pF电容,在R127(R128)处并接1000pF,在R131(R132)处并接300pF。它们分别从13kHz和16kHz处开始补偿。必须注意,这两级不可设计得过低(如10kHz内),否则中、高频段信噪比会下降(见图7)。

至此,高频网络已调整好。由于CD片低频响应也很好,故有必要对KZ—701卡座低频网络加以调整。

原机中C115(C116)与R117(R118)构成了低频提升网络,从f≈234Hz开始提升。实践证明不能满足要求。改动如下:在R107(R108)处串接一个RC网络(见图8)。该网络的低频补偿从f1至f2:
f\(_{1}\)=1/2πRC=1/2×π×30×10\(^{3}\)×0.22×10-6≈24(Hz);
f\(_{2}\)=1/2π×10×10\(^{3}\)×0.22×10-6≈72(Hz)。
另外,再将R117(R118)由680Ω改为3.3kΩ,则该级提升从f≈48.2Hz处开始,以补充上述提升量的不足(表4为元件改动一览表)。

经过上述方法的摩机,KZ—701卡座的录放质量大为提高。指标为:录放信噪比:52dB;录放频响:20~17000Hz\(^{-}\)3\(_{+}\)3(普通带)。
上述指标还是很高的。然而更为可靠的是从实际使用效果来看,转录CD片的效果极佳(特别是只用市售一般磁带,如Sony的Super EF60及新版TDK-D60,上海牌AD—60等都能达到与CD片基本一致的水平),这是一般卡座无法达到的。笔者请了多位摩机好手来主观评价,转录TELARC公司出品的《Round up》CD片,与用日产OT—5607R卡座(该机具有杜比B、C及杜比HXPro)进行录音比较,除信噪比略差些外,与CD片比无听感上的差别。
笔者与多位好手一致认为,改进是成功的,且成本总共不超过600元(而OT—S607R售价高达数千元),故其性能价格比极高,适合广大业余爱好者自摩。(彭涟)