可控硅也称晶体闸流管,它是一种能控制强电的半导体器件。
常用的可控硅有单向和双向两大类,另外还有光可控硅、快速可控硅、逆导可控硅等许多品种。由于可控硅具有体积小、重量轻、效率高、寿命长、使用方便等优点,它已广泛应用于各种生产设备和家用电器中。
单向可控硅的结构与符号
单向可控硅的外形有多种,如图1所示。它在电路中用图1(a)所示符号来表示。单向可控硅是在很薄的单晶硅片上制成的P—N—P—N四层三端的半导体器件,内部结构如图2所示,它具有单向导电的特性,是一种可以控制的单向导电开关。利用它可以完成弱信号控制强电系统电路的任务。


单向可控硅有三个电极,一个是电极G,称为控制极,一个是阳极A,再有一个是阴极K。下面我们来做个小实验。当阳极A接电源正极,阴极接电源负极时,各控制极G不加触发信号,单向可控硅不导通,串接在电路中的灯不亮如图3(a)所示;当开关闭合,控制极G加上触发信号时,可控硅才能导通,这时灯亮如图3(b)所示。这时若将开关切断(触发信号断开),但灯仍是亮的。只有当导通的电流小于可控硅的维持电流时,可控硅才被切断,这时灯熄灭。如将可控硅的阳极、阴极与电源反接,则加与不加触发信号,可控硅均不导通,灯均不亮如图4所示。单向可控硅具有控制性能好、反应快、体积小、效率高等优点,常用于整流、无触点开关及变频电路中。单向可控硅用于音乐控制的彩灯电路,如图5所示,扬声器两端的信号电压,通过变压器去触发可控硅。当音乐有强有弱时,触发电流就有大有小,从而控制彩灯忽亮忽暗闪烁。



双向可控硅的符号
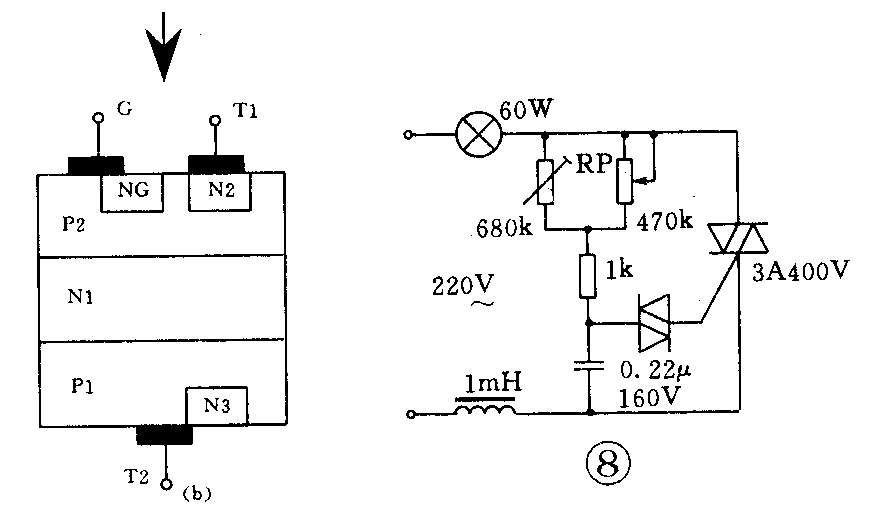
双向可控硅是制作在同一硅单晶片上、有一个控制极的两只反向并联的单向可控硅所构成的,如图6(a)所示,它是N—P—N—P—N型五层三端的半导体器件,见图6(b)。双向可控硅有三个电极,一个电极G称控制极,另外两个极统称为主电极T1和T2。靠近控制极G一端的为T1,另一端为T2。

双向可控硅在电路中,用图7(a)所示符号表示。其外形有多种,如图7(b)所示。

双向可控硅具有正、反两个方向都能控制导通的特性,而且触发电路简单,工作稳定,因此在灯光调节、温度控制、电机调速和无触点交流开关电路中得到了广泛的应用。图8为双向可控硅在调光台灯中的应用实例,通过调节电位器RP就能控制灯光的亮度。(周根发)
