本文介绍的几则变色发光管实用电路,各具特色,实用性强。供拓宽变色发光管使用领域之参考。具体介绍如下:

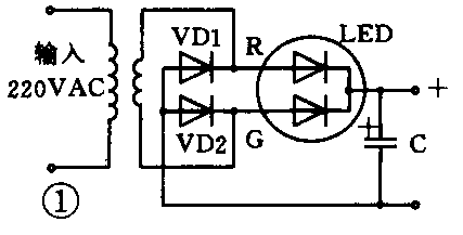
图1是用变色发光管制做的低压小电流整流器。用变色发光管作为桥式整流器的两个整流臂。在这里变色发光管起如下三个作用:即1.利用其单向导电性作为两个桥臂的整流管;2.利用其发光特性作为电源指示灯;3.利用其变色特性作为整流桥臂的故障显示。当某一桥臂发生断线故障时,发光管就会变色。

图2是用变色发光管制作的晶体管快速配对选择器。在电路中LED的R、G两管芯,作为NPN和PNP两只配对管的负荷。SB为偏流调整选择开关(在测试时调亮度用)。当配对两管β值接近时,发光管发橙色光;当NPN管β值>PNP管β值时,发光偏红,反之则偏绿。

图3是用变色发光管制作的电桥检流计。电路由V1担任输入级,目的是为提高输入阻抗。V2担任放大。V3和V4做互补输出。测试前首先调整V1的偏流电阻R1使LED发橙色光。再接入被测电阻R\(_{x}\)。按SB按钮。此时若Rx>\(\frac{R}{_{a}}\)Rb·R\(_{o}\)时,V1电流增大,V2电流减小,V3电流亦随之减小,发光管发偏红色光;反之,当Rx<R\(_{a}\);Rb·R\(_{o}\)时,发光管发偏绿色光。调整测定臂电阻Ro至发光管发橙色光时电桥平衡,则被测电阻R\(_{x}\)=RaR\(_{b}\)·Ro。

图4是用变色发光管制作的保安器熔丝管熔断显号告警电路。在每一保安器电路中接入一只10脚封装的显号告警控制板。当外线带电导致熔丝管熔断后,电流就流经平时与熔丝管并联的光电耦合器内藏发光管,使其发光。并经光耦使次级光敏管导通。这样就接通了由C043或非门组成的双稳电路触发电源,使双稳电路翻转。输出高电位给LED,使其发光。在LED的前面装有在透明玻璃上写的保安器号码,以此达到熔丝管熔断显号之目的。另外,由电路图可知:接在aa'一侧的是LED的R管芯,而接于bb'一侧的是G管芯。因此若LED发红色光,就表示a线上的aa'熔丝断;若LED发绿色光,就表示b线上的bb'熔丝断;若LED发橙色光,就表示两只熔丝全断了。另外,在LED发光的同时,由VD1~VD3取得2V左右的电压,使9300集成块输出告警信号,喇叭发出告警声。当更换熔丝时按一下复位键SB\(_{f}\),双稳电路就再次翻转,使LED失掉由双稳电路供出的高电位而熄灭,电路复原。
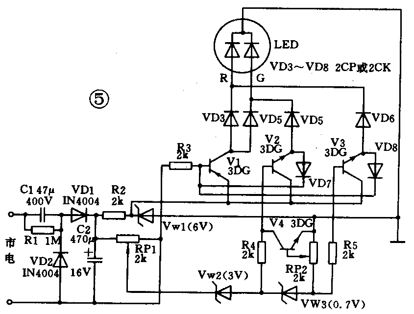
图5是用变色发光管制做的电源监示电路。

在图5中,电路降压后经VD1、VD2整流,由RP1取出取样电压Vc,用此电压控制由V1-V4组成的光点流动式电平指示器,指示器的输出控制LED变色,以达到监示电源的目的。电路的工作状态见附表。
监示原理:当电源电压低于200V时,对应取样电压小于3V。这时只有V1一只管导通。通过VD3和VD4向LED的R、G两只管芯供电,LED发橙色光。当电源电压在200—240V之间时,对应取样电压为3-3.7V,此时V2导通。通过VD5向LED的G一个管芯供电,同时通过VD7关断V1,故意LED发绿色光。当电源电压大于240V时,对应取样电压>3.7V。此时V3、V4同时导通,V3导通后通过VD6向LED的R管芯供电。同时通过V4关断V2和通过VD8关断V1,故LED发红色光。综上所述,电路的工作状态参见表。

在图5中,在电源电压低于200V时,VW1和VW2都不能反向击穿,处于断路状态。电路中只有V2管得到正向偏置而导通,为LED的G管芯供电,LED发绿色光。当电源电压为200—240V时,调整RP1使VW1反向击穿而导通,使V3得到正偏而导通,此时由于V2仍在导通,故LED的R、G两管芯都亮,LED发橙光。当电源电压高于240V时,调节RP2使VW2反向击穿而导通,使V1得到正偏导通,为LED的R管芯供电并关断V2的电路,故LED只剩R管芯由V1供电而发红光。(李一男)