录像机一旦发生软故障,会给维修带来很大的困难,往往陷入迷惘而无从下手。因此检修时必须凭借理论分析和实践经验,采取推断与测量相结合的办法以及切实可行的检修技巧,才能找出故障原因及其所在。现结合故障实例3则,进行分析检修,以供参考。
例1 故障现象:VT-427E型录像机,接上电源后,显示屏发亮,各功能正常,但重放20分钟后自动停机,且全部功能消失,工作电源指示灯也熄灭,仅有显示屏发亮。
分析检修:据故障特征分析,开始时工作正常,一段时间后自动停机,表明电路元件有热态性故障。根据显示屏仍亮推测,其供给定时器电路的电源是正常的,最大可能是系统控制微处理器IC901没有工作,因而其⑥脚就不能输出高电平去接通IC851②脚内部的电源控制开关,于是电源电路便无12V和5V电压输出,因此工作电源指示不亮,整机也无法工作。

打开机器重点检查IC901(HD614088SB60)的工作情况,发现无A5V电压(电路如图1所示)。由图中可以看出,IC901的A5V电压是由V·S调谐电路供给的,是A12V经调整管Q803调整为A5V。Q803的基极电压取自IC801脚输出的A5.6V电压。为找到故障所在,再检测Q803基极和集电极电压,结果电压均正常(这段电路的A12V不受控制,直接取自IC851⑤脚),故障最大可能产生在Q803和IC803,继而测得IC803并未烧毁(IC803为保护电路,型号为ICP-N5,可用0.3A的保险代替),最后确认为Q803有热态性开路故障。焊下趁热测试,发现be结开路,而冷却后结电阻正常。这种晶体管热态性开路现象并不多见,但也时有发生。用一只塑封3DG204B更换,录像机恢复正常,而且能长时间工作。造成此故障的主要原因是Q803工作一段时间后发热,be给热态性开路,导致IC901失去A5V电压,其⑥脚无高电平(4.7V)输出,IC851②脚得不到开关脉冲,内部12V开关不能接通,造成控制型稳压电源电压无输出,录像机便得不到工作电压而丧失功能。值得注意的是,该类机型有时还损坏IC801、脚内部的稳压部分,故障特征表现为显示屏亮而不能开机。
例2 故障现象:VT-426E型录像机,装载后按重放键,不能进入重放状态,而且3秒自动卸载。
分析检修:录像机能正常装载,说明其系统控制电路基本正常,卸载退带是一种保护性停机,最大可能是磁鼓不转或旋转时磁头开关脉冲信号没有送进系统控制中心IC901,于是重点检查鼓驱动电路IC603和磁鼓组件。
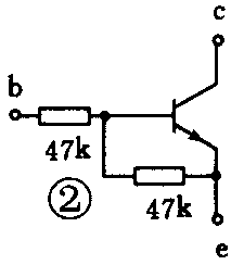
卸开机器上盖板,观察其重放情况,发现磁鼓不转。在停止状态先查磁鼓电机驱动集成电路IC603各脚直流工作电压,测得电机工作电压为14V、IC内控制电路工作电压为5V、霍尔偏置电压为2.4V及IC各偏置电压都正常,而且测得IC901④脚在重放时为高电平,说明系统控制微处理器已送出重放指令脉冲。进而对伺服中心IC601进行检测,重点检查IC601⑦脚是否在重放时由高电平转变为低电平,实测该脚始终为高电平(3.9V),说明鼓通控制信号没有送到。重点检查这条电路上的元器件有无损坏,QR602是关键元件,测其基极电压在重放时为高电平,说明这以前电路正常,最大可能为该管损坏。焊下该管测试,发现bc结正向电阻增大,这样便失去开关作用,导致鼓通控制信号中断。此管为状态转换晶体管(RTIN441S),发射结和基极端各接有一只47kΩ电阻(如图2所示)。不能用普通NPN型晶体三极管直接取代。于是用一只3DX201B加接两只1/8W47kΩ电阻代换,开机试放,录像机恢复正常。

例3 故障现象:VP-4000型放像机,装入磁带盒后按下重放键,有时能工作,但时常自停,而且快进或快倒也有时不能动作。
分析检修:仔细观察装入磁带能加载,但有时刚重放几秒种,便自动停机卸载,而且在重放过程中,发现磁带溢出。由磁带溢出说明主导轴转动而收带盘没有收带,若收带盘不转,便无带盘脉冲输出,系统控制微处理器得不到检测信号,便认为机内有故障,于是发出停机指令而自动保护停机并卸载。据有时能工作一段时间判定,该机属于机械系统软故障。将带盒仓卸出机外,并插入磁带,按重放键观察机内,发现收带盘有时不转动,用手指对带盘惰轮施加一点压力,收带盘能正常转动,而且不再出现停机现象,由此断定是惰轮没有很好地摩擦收带盘,主要原因是惰轮上的橡皮圈严重磨损引起。若手头无此橡胶圈更换,只好采用应急修理措施,即将医用橡胶手套上的手指剪一小段,将其套在惰轮橡胶圈上以增大惰轮直径(或用胶纸在惰轮与橡胶圈接触卡槽内缠几圈,再套上橡胶圈),开机重放或快进、快倒,功能均恢复正常。(刘武)