国外生产的计算与游戏多用器(MATH and GAME)是一种电子学习工具,外形见图1。它能帮助小学生进行加、减、乘、除的3种难度(不同位数)、3种方式的运算(以加为例可求被加数、求加数或求和)。此外,还能作为电子钟、电子计算器、电子琴以及锻炼学生计算反应速度的器具用。该机采用液晶显示,因而耗电极省。下面介绍使用方法,供初学者参考。

一、作为电子钟:按“C”,出现“。”,再按“C”就可以显示时间。
i)显示:包括对、分、秒以及上午还是下午。
ii)调整:当屏幕上“时”后面的“-”稳定时,无法调整时间。可按“set”使“-”跳动,就能进行调整。
按“H”可调时,兼调上午还是下午。
按“M”可调分。按“S”可使秒数清零。
iii)复位:调整完毕,按“Set”使“时”后面的“-”不再跳动。否则满60秒后不能进位,按其它键也不起作用。
再按“C”,使屏幕上显示“0”,便可进行其它操作。
本机在进行其它操作时,计时功能仍旧在照常进行。所以当本机不进行其它操作时,即可置于桌上作为一台电子钟来使用,而不需要再进行调整。
二、自我学习器:可做简单的加、减、乘、除。按功能键“LEVEL”可得到一位与一位、二位与一位、二位与二位的运算。
i)加减乘除可以分别按“+”、“-”、“×”、“÷”来选择。
ii)按功能键“TYPE”,在加法运算时可选择求和、求被加数或求加数。在减、乘、除法运算时类同。
iii)按“=”,根据操作者所选定的难度及方式由机内自动出题。
iV)按入答案的数值,再按“ENTER”。如做对,则熊猫跳跃前进,再出下一题。如做错则熊猫前进后倒下,并要你重做。如一道题做错三次,则机内将答案告诉你后再出下一题。
V)计分:做完10道题后,显示总分。每道题做对得10分,全对是100分。每题错一次扣3分,错两次扣6分,错三次扣10分。
该项功能特别适用于小学生,当学习了加、减、乘、除法运算后,可作为自我学习用。不再需要家长为孩子出题目、批改题目而化费精力。
三、作为计算器:象普通的电子计算器一样,可进行六位数以内的加、减、乘、除运算,小数点后面可有五位数字。
溢位:运算结果超过6位数时,答案中有一个倒下的熊猫。此时,显示的数值要再乘以1000000便是真实的结果。
该项功能使该机可象普通的电子计算器一样来使用。
四、作电子琴:控功能键“ORGAN”,可作电子琴使用。依次按下第二排S/M、l/s、t/Set键和第三排的1/d、 2/r、 3/m、 4/f、 5/s以及第四排的 6/e、7/t、 8/d、 9/r、 0/m,可依次奏出·5·6·712345671·2·3·共13个音符声。
五、算得快:按功能键“GAME”,显示两个“0”,再按“=”,在屏幕上就随机性地出现数字。要求操作者迅速按下10减去屏幕上所出现的数字。例如:出现1则按9,出现2则按8……。当出现数字的速度逐渐加快而来不及按掉时,数字逐渐左移,此时只考虑头一位数字而不考虑后面的大小,数字逐渐增多,超过7位,熊猫就倒下,该局结束。最后出现你的得分,当数字出现在最末位位置上就按掉时得80分,倒数第2位上按掉时得70分,……倒数第7位(即第1位)才按掉时得20分。
该项功能看来简单,实际上要眼睛看数字,脑子考虑答案,再在需要的位置上按下去。所以可以测试一下眼睛、脑子的反应灵敏度及手的动作速度。如果不理想也不要紧,只要多锻炼也会手快眼明的。
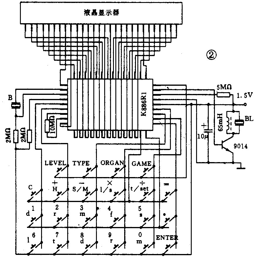
计算与游戏多用器的电路图如图2所示。

电路中核心是K886R1集成电路,外围元件中B是谐振频率为32.678kHz的石英晶体,作为电子钟使用的时间基准。BL是φ27mm的压电陶瓷片,用作产生各种声音。本机用专用的25×50mm液晶显示片来显示。
图2下面部分是置于面板上的操作按键,用导电橡胶使按下按键时接通相应的接线。第一排是4个功能键。第2排是清除键、加减乘除兼时、分、秒及预置键、3个音名(沙啦梯)键以及等于键。第3排是1、2、3、4、5兼5个音名键以及小数点键。第4排是6、7、8、9、0兼5个音名键以及输入键。 (宋士芳)