继电器是自动控制电路中常用的一种元件。实际上它是用较小的电流来控制较大电流的一种自动开关。在电路中起着自动操作、自动调节、安全保护等作用。
继电器的种类很多,常用的有电磁式和干簧式继电器两种,外形见图1。

继电器一般由一个线圈、一组或几组带接点的簧片组成。在电路图中,表示继电器时只要画出它的线圈和与控制电路有关的接点组就可以了。继电器的线圈用一个长方框符号表示,同时在长方框内或框旁标上这个继电器的文字符号“KR”。继电器的接点有两种表示方法:一种是把它直接画在长方框的一侧,这样做比较直观。另一种是按电路连接的需要,把各个接点分别画在各自的控制电路中,这样对分析和理解电路是有利的,但必须同时在属于同一继电器的线圈和接点旁边注上相同的文字符号,并把接点组编号。表1列出了继电器的常用符号和三种接点的符号。按有关规定,在电路图中,接点组的画法,应按线圈不通时的原始状态画出。

常用的两种继电器

1.电磁式继电器,图2是电磁式继电器的典型结构图。它主要由铁心、线圈、动静接点、衔铁、返回弹簧(或簧片)等部分构成。其工作原理也很简单:只要在它的线圈①、②两端加上一定的电压,线圈中就会流过一定的电流。由于电流的磁效应,铁心被磁化而具有磁性。动铁心(即衔铁)就会在电磁力吸引的作用下克服返回弹簧的拉力吸向静铁心,从而带动在街铁上的动接点③与静接点④闭合。线圈断电后,电磁吸力消失,衔铁就会在返回弹簧的作用下返回原来的位置。使动接点③与静接点⑤闭合。上述衔铁吸合,叫继电器“动作”或“吸合”。相反,衔铁复位,叫继电器“释放”或“复位”。

图3是一个简单实用的自动关灯电路图。当按下按钮开关SB后,晶体管VT1立即饱和导通,电源电压(6伏)加在继电器线圈的两端,使它吸合,常开接点闭合,“220V、40W”的灯泡的电源被接通而发光。同时,电容C被迅速充电,使它的两端电压也达6伏。当放开按钮后,由电源提供I\(_{b}\)的电路被切断,但电容C两端存在电压,还能维持晶体管工作,随着时间的延迟,电容中的电荷经过R与晶体管的发射结泄放,电容两端的电压逐渐下降,当晶体管的Ube小于0.65伏以后,VT1截止,继电器线圈失去电压而释放,接点被打开,“220V、40W”的灯泡的电源被切断而熄灭。这个电路,揿一下按钮开关SB,灯亮20秒钟左右自动熄灭(延时时间长短可调节电容C的容量),可作走廊照明灯的控制装置。这个实例告诉我们,利用继电器可用低电压(6伏)、弱电流(几十毫安)来控制高电压(220伏)、强电流(几百毫安)的电路。
2.干簧式继电器
(1)干簧管,干簧管的全称叫“干式舌簧开关管”。图4为实物外形图。它把两片既导磁又导电的材料做成的簧片平行地封入充有惰性气体(如氮气、氦气等)的玻璃管中组成开关元件。两簧片的端部重叠并留有一定间隙以构成接点。

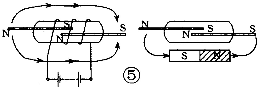
当永久磁铁靠近干簧管或者由绕在干簧管上面的线圈通电后形成磁场使簧片磁化时,簧片的接点部分就感应出极性相反的磁极(见图5)。异名的磁极相互吸引,当吸引的磁力超过簧片的弹力时,接点就会吸合;当磁力减小到一定值时,接点又会被簧片的弹力所打开。

干簧管以体积的大小可分为微型、小型、大型几种。微型的体积只有一粒米那样大小;小型的体积与一段圆珠笔芯相似,大型象一段粉笔。
干簧管接点的形式常见的有常开接点(H)型与转换接点(Z型)两种。
常开接点的干簧管,它的结构见图4(a)。平时它的接点打开,当簧片被磁化时,接点闭合。
转换接点的干簧管,结构见图4(b)。簧片1用导电而不导磁的材料做的,簧片2、3仍是用既导电又导磁的材料制成。平时,靠弹性使簧片1和3闭合。当永久磁铁靠近它时,簧片2、3被磁化而吸引,使接点2、3闭合。这样就构成了一个转换开关。
(2)干簧式继电器,上面我们已经提到,使干簧管动作的激励磁场可以是永久磁铁,也可以是通电线圈。因此,把干簧管置于线圈内,就可以制成一种干簧继电器。

图6是一种成品干簧继电器的结构示意图。在同一干簧继电器的线圈骨架内,可以同时放入2~4个同类的干簧管,从而获得多对接点的干簧继电器。
干簧继电器有以下几个优缺点:
①接点与大气隔绝,管内又充有惰性气体,这样就大大减少了接点开、闭过程中由于接点火花而引起的接点氧化和碳化。并防止外界有机蒸气和尘埃杂质对接点的侵蚀和污染。
②簧片轻而短,有较高的固有频率,提高了接点的通断速度。一般通断的动作时间仅为1~3毫秒,比一般电磁继电器快5~10倍。
③体积小,重量轻。
④缺点是开关容量小,接点易产生抖动以及接点接触电阻大。 (周富发)