本文介绍一种能产生一位随机数字(0~9)的电路,它可用于电子摇奖等方面。
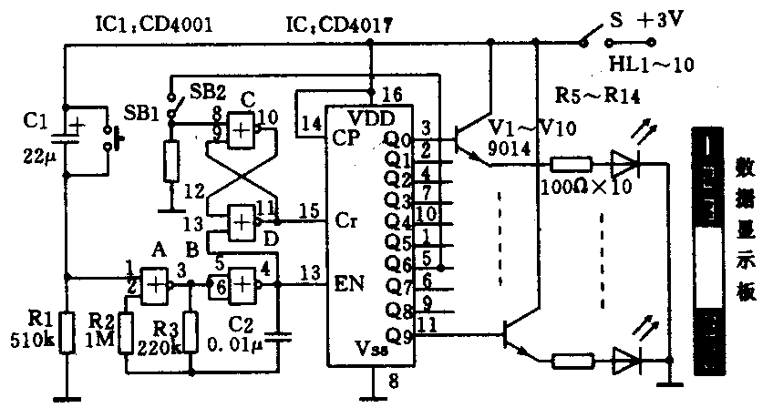
电路原理如附图所示。由IC1(CD4001)的两个或非门(A、B及阻容元件R2、R3、C2组成的可按多谐振荡器产生频率约为200Hz的方波。IC2(CD4017)的第二时钟端EN在该方波信号的作用下,其输出端Q\(_{0}\)~Q9依次输出高电平,经晶体管V1~V10推动后使发光管HL1~HL10依次点亮,从而依次显示出0~9十个字符。由于方波频率较高,这时电路处于扫描显示状态,10个数字符能同时看到。按下按钮SB1后,或非门A被封锁,振荡器停振,IC2停止计数,其输出端中必有一个(也仅有一个)输出高电平,从而获得一个随机数。松开SB1后,此数并不立即消失,需经过数秒钟的延时(约为0.5R1C1,延时期间若重复按下SB1,则不会改变原来按得的数码)。随着C1的充电,R1上的电位逐渐下降至低电平,振荡器重新起振,电路又回到扫描显示状态。

图中SB2是六——十进制转换开关。SB2闭合时,IC2按六进制循环计数,这时随机数将从1~6六个数字中产生。在第七个计数脉冲来到时,Q6输出的高电平经SB2及闸锁电路(由或非门C、D组成)反馈给IC2的复位端cr并使之复位(Q\(_{0}\)指出高电平)。复位脉冲在第8个计数脉冲下跳变时消失。 (金丽生)