本文将系统地介绍由脉宽调制器组成的开关电源。
串联式开关稳压电源的功能方框图如图1所示。由于它的功率调整管处于开关状态,使其电源的效率明显地提高,体积明显地减小。

串联开关电源的稳压原理为:若由于输入电压或负载电流变化,引起输出直流电压V\(_{0}\)波动,取样回路立即将波动信号送入误差放大器,且与基准电压比较,然后将放大后的信号送至脉宽调制回路,使脉宽调制器的脉冲占空比发生变化,再将它送给功率开关调整管,改变调整管的输出,其结果使稳压电源的直流输出电压V0维持不变。
目前,最为常用的单片集成串联开关稳压电源器件有 L4960/L4962/ L4964,W296等。
1.L4960/L4962/ L4964这是意大利半导体公司生产的产品是实现单片低压串联式开关电源的优秀器件。它的外围元件极少,输出电流大,输出电压范围为5V~40V,并连续可调,其脉冲占空比可以在(0~100)%内调整,整个电源效率高达90%。该器件具有慢起动、最大电流限制和过热保护功能。由于器件的开关工作频率高达100kHz以上,使得外围滤波元件的体积和容量明显减小。用它制作的稳压电源,具有较高的参数指标和稳压精度,这种稳压源不但可接成可调式稳压源,也可以接成固定电压输出的、稳压源。
L4960/L4962/L4964的封装形式如图2。它的主要电参数如下:①最大输入工作电压46V;②输出电压范围5V~40V;③最大输出电流L4960为2.5A、L4962为1.5A、L4964为4A;④限制电流L4960为3.2A,L4962为2A,L4964为4.5A。

这三种开关稳压器的等效电路和应用电路完全相同。由它组成的稳压源的原理方框图如图3所示。从图3可见,仅需要10个元件,就可以作成开关稳压电源。这10个外围元件的参数和用途说明于表1。


图4所示的电路为双电压输出的稳压电源。它通过输出滤波电感L上的一个副绕组,产生一组较小输出电流的直流电压。

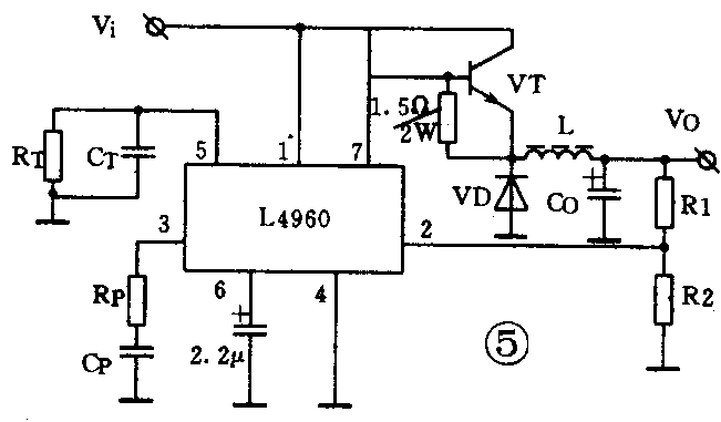
图5所示电路为L4960扩展输出电流的实例。VT是一支 NPN型大功率晶体管,从而使这个电路具有10A以上的输出能力。

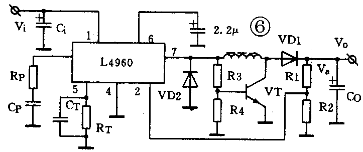
图6为升压转换电路。当L4960的7脚为高电平输出时,功率开关管VT导通,电感L被注入较大的短路流。当7脚为低电平时,VT截止,电感L经负载、续流二极管VD2和R1、R2续流,使V\(_{a}\)=5.1V,输出电压V0为
V\(_{0}\)=\(\frac{5.1(R1+R2)}{R2}\)

W296是一种外接元件少、输出电流大的单片开关集成稳压器,其工作原理与L4960系列完全相同,而且功能更全。W296采用15条引线的单列塑封结构,外形如图7。它的主要电参数为:①最大输入电压46V。②输出电压范围5V~40V。③输出电流为5A。W296内部电路框图及基本应用如图8所示,其输出的直流电压V\(_{0}\)为
采用单片开关稳压器时,为保证有良好的负载调整特性,应尽可能将取样端接近负载。在输出较大功率时,还应考虑加上足够大的散热片。 (漆小平)

