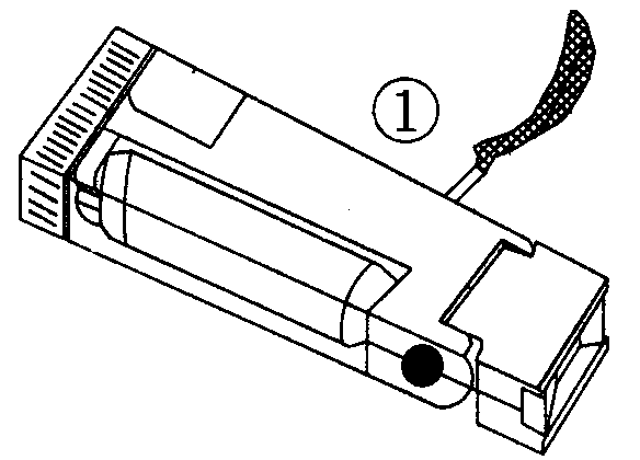
节能三用灯是新开发的一种新型的手电筒。它是一个长22.5cm,宽5.5cm,高2.3cm的长方体,其做工精细,造型别致,美观大方,具有便于携带的特点,外形见图1。它有三种功能,即普通照明手电、信号闪光灯及节能日光灯。由于它使用了特种高频铁氧体变压器,因此在同样照度下,可节电60%。另外,给它装上电池,可作手电筒用;插上电源,可作台灯用。可将它的一头弯成90°,也可竖直放立在水平面上,见图2。


对于常在野外工作的汽车司机、地质工作者来说,更显出它的优越性,它既可用作野外工作照明,又可在发生意外情况时,发出呼救信号。
它的第一种功能是普通照明灯,它的灯泡与普通电筒的灯泡相同。第二种功能是闪光信号灯,其灯泡比较特殊,灯泡内有一个双金属片,靠它来通断灯丝。在电路没有接通时,它和灯丝是接通的。当接通电源时,电流流过双金属片,在灯泡发光的同时发热,使双金属片受热膨胀,电路断开,灯灭。若无电流流过双金属片,冷却后它又恢复原状态,电路又接通,灯又亮,如此循环往复,就形成了灯一亮一灭的效果。第三种功能是日光灯,这种日光灯管长134mm,直径为15.6mm,额定功率为4W,电压6V。它是靠一个LC振荡电路来控制的,在一般情况下,插上电源放在桌子上可看书学习,由于光线柔和适中,功率小省电,十分经济,它工作时实际功率只有1W左右,工作电流为300mA。在停电的情况下,装上充电电池它也能工作一个半小时左右,它的通断以及功能转换是靠一个拨动开关来实现的。
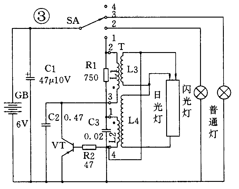
节能三用灯的控制电路如图3所示。它由一个四位拨动开关SA、变压器T、三极管VT、电解电容C1、涤沦电容C2、瓷片电容C3、电阻R1和R2组成。当拔动开关置于“1”位时,变压器通电,变压器绕组L1的3端与绕组L2的1端为同名端,基极输入一个正电压信号,集电极输出一个负电压,绕组L2又形成一个正反馈电压加到输入端基极。由于反馈电压与输入电压同相位,形成正反馈,满足振荡条件,电路起振,L3、L4产生感应电动势。此时,L3感应电压使日光灯灯丝导通,日光灯正常工作。

L3的作用相当于普通日光灯的起动器,L4相当于镇流器。日光灯工作时灯丝电压约3V,灯管两端电压约90V。振荡电路的振荡频率取决于1-2的电感量及电容器C2、C3的容量,此电路的振荡频率约为25kHz。该三用灯的振荡变压器也很有特点,它的体积仅为16×13×11.2(mm)。由于它采用了特种高频铁氧体材料制成,该日光灯管额定功率为4W,在使用220V50Hz市电的情况下,耗电为4.5W。使用高效逆变电路后,耗电仅为1.5W。它的铁芯采用两个相对的E形铁芯,铁芯与绕组配合松动,利于散热,两个铁芯中柱绝缘,不容易形成磁饱和,磁导通率高。当拨动开关置于“2”位时,闪光灯亮,当SA置于“3’位时,普通灯亮。置于“4”位时,电路断开关闭。 (王玮)