华强HQ-819(A、B、C、D)、HQ—829组合音响的功放电路采用了日本三洋公司厚膜功放集成电路STK4131Ⅱ。STK4131Ⅱ电路精度高,功率容量大,外电路设计灵活。华强音响采用了该IC,并选用了优质元器件,主要指标达到了如下要求:当负载8Ω,V\(_{cc}\)为±28V时,不失真功率(T·H·D≤0.3%)≥20W,频带40Hz~20kHz。

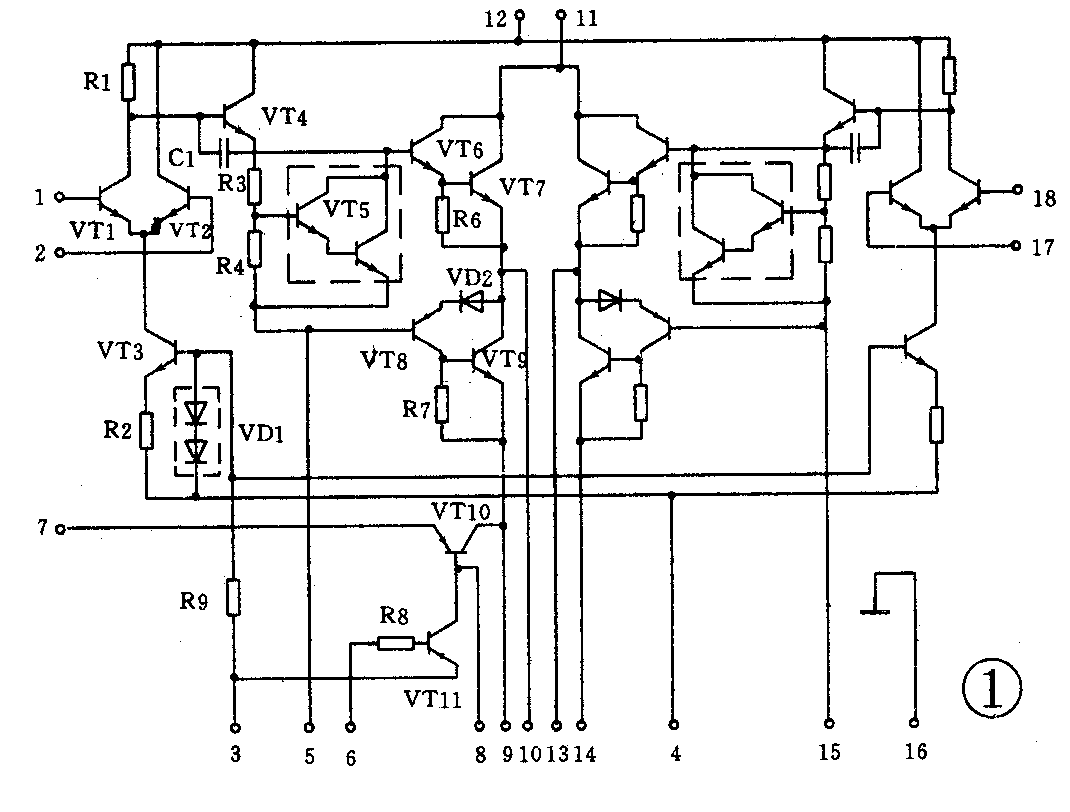
图1是STK4131Ⅱ的内部电路图,现扼要分析如下(一个声道):功放电路由输入级、主电压放大级和输出级组成。输入级由VT1、 VT2组成差分放大,VT3为其恒流源偏置管。VD1起温度补偿作用,并为VT3提供恒流偏置。主电压放大级VT4为共射极放大,主要提供电压增益。VT5为VT4负载电阻的一部分,阻抗随信号幅度的变化而变化。信号幅度变大,则阻抗变小,以实现对大幅度信号的压缩,扩大放大器的动态范围,防止过强信号引起失真。输出级为由VT6和VT7、VT8和VT9组成的推挽功率放大电路,输出级采用了VT5双管倍增偏置电路,以改善电源电压不同时静态电流的偏置精度,使输出级工作点稳定。VT10、VT11是开关三极管,起静噪作用。在一般工作状态时,6脚电压零电位以上(≥1.2V),使VT11不导通,VT10则导通,通过8脚与9脚之间的R508、R507、使VT 10基极为负电位,功放IC正常供电,工作正常。当IC的6脚呈负电位时, VT11导通,VT10不导通,使VT3、VT2、VT1均不导通,VT10的发射极通过外电路R506与IC4脚相接,IC不工作,处于静噪状态。
STK4131Ⅱ由2个完全对称的OCL电路组成。2个声道的工作情况一样,现就其外电路作扼要分析:
图2是HQ-819系列音响功放部分电路图。音频信号从IC1脚(18脚)输入,负反馈信号从2脚(17脚)输入。R531、C533、(R532、C534)组成低通滤波器,限制输入信号带宽,有利于减小瞬态互调失真和防止超音频干扰。10脚与2脚(13脚与17脚)之间的元器件构成功放的负反馈电路,通过改变R537(R538)的阻值来改变放大器的增益。

电压Vcc直接加到11脚,-Vcc直接加到9脚、14脚。前级电压放大级(输入级和电压放大级)供电则由Vcc经过R509、C522滤波后加到12脚,以减小电源电压波动对工作的影响。
放大后的音频倍号从10脚(13脚)输出;C541、R543(C542、R544)组成阻容网络,保护放大器末级输出管,防止其过激时被击穿。
C510、R502、R503、R504、R505等组成防冲击网络,使关机时无冲击电源。平常工作时,变压器次级一端的电压经过C506,D505、D513、R502、C507、C510组成的整流和滤波电路,输出20V左右的电压,通过R503、R505,使IC的6脚为正电位,则IC内的VT11不导通,IC正常工作。但当关机时,由于C510的正电压迅速消失,而大电容C508(2200μF)的负电压不马上消失,通过R504、R505加到IC6脚,因此VT11的b极为负电位,VT11导通,使VT10截止,IC不工作,抑制了关机时的冲击噪声。
R506、R509是过流保护电阻(易熔电阻)。当功放IC出现短路或过载时,其上会有很大的电流通过,此时电阻发热熔断,保护IC和扬声器。
应用功放IC STK4131Ⅱ组装功放电路时,请注意3个问题:
1.C521、C508的极性不能接错,其“+”极接地。2.散热器的面积最好大于或等于350cm\(^{2}\)(理论计算约300cm2);散热器要用3mm厚铝材制成;在功放IC与散热器接触处涂以硅脂,并将散热器垂直安装于电路板上,使功放IC散热良好,充分发挥IC的放大作用。3.首先检查电路板,若无短路、开路或插错件,才可通电;通电后测量IC的11脚和9脚的正、负电压必须相等(约28V)。 (罗晋根)