TEA555lT是飞利浦近期推出的一块单片调幅集成电路,具有接收灵敏度高、外围元器件少等特点。内部方框图如图1所示。混频器采用双平衡混频电路,具有较宽的线性工作范围和较强的大信号输入能力。本机振荡器采用单端振荡电路,具有较高的频率稳定度。AGC电路采用三级控制,二级控制中频放大器的增益,一级控制混频器的增益。因此,AGC的控制范围很宽,高达86dB,而一般的调幅集成电路的AGC都不超过45dB。TEA5551T的另一个主要特点是,功率放大级采用双功放电路,既可接成立体声输出,用于袖珍收放机和袖珍立体声收音机,也可接成BTL输出用高阻扬声器放音。TEA5551的外形尺寸如图2所示,为16脚偏平封装,主要电性能如下:


电源电压范围 1.8~4.5V
静态电流 5mA
灵敏度(S/N=26dB) 1.5μV
信噪比(M=30%) 50dB
失真 <0.8%
最大输入信号 85mV
AGC范围 86dB

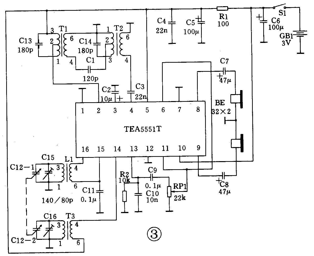
输出功率(阻抗为32Ω,电源电压4.5V)2×60mW采用TEA5551T调幅收音机的应用电路图如图3所示。天线输入信号经可变电容器C12-1和磁棒线圈L1组成的输入调谐回路调谐后,送入第16和15脚,电容器C11为输入端的射频旁路电容。本机振荡的调谐回路由可变电容器C12-2和本振线圈T3组成,本振信号从第14脚输入。为保证能得到最佳接收灵敏度和信噪比,应适当选取本振线圈的初、次级匝数比,使第14脚上的本振信号幅度为有效值100mV左右。经混频后的信号从第2脚输出,然后经由中频变压器T1和T2组成的中频滤波器选出465kHz的中频信号后送第4脚进行中频信号放大和检波。中频滤波器采用双调谐回路,电容器C1为双调谐回路的耦合电容。电容器C3为中频放大器输入端的隔直电容。检波后的音频信号从第13脚输出,电容器C10和电阻器R2组成低通滤波器,以滤除检波输出中的高频分量。电容器C9为级间耦合电容。电位器RP1为音量控制电位器,用来调节功放电路输入音频信号的幅度。功放电路接成立体声功率输出,音频信号同时加在两个功放电路的同相输入端第6和11脚。第8和9脚为双功放的输出端,经耦合电容器C7和C8接立体声耳机。电容器C2为AGC电容,与集成电路内部的电阻一起决定AGC动作的时间常数,改变电容器C2可以改变AGC的时间常数。电容器C5、C6和电阻器R1组成电源的π型滤波电路。电容器C4用作电源退耦电容,装置时尽量让它靠近集成电路。

所有元器件可以安装在图4所示的印制板上。磁棒线圈L1、振荡线圈T3和中频变压器T1、T2的数据及规格见图5。元器件按图4装好后,可进行调试。首先调整中频滤波器,使其中心频率在465kHz上。如有中频图示仪就比较方便,将中频图示仪的输入端接检波输出第13脚上。中频图示仪的输出信号可通过环形天线送入收音机,调节中频变压器T1和T2的磁帽,使中频曲线的中点在465kHz上。接下去调频率覆盖,将可变电容器C12旋至容量最大位置,调节本振线圈T3的磁帽,使收音机能收到520kHz的信号,然后将可变电容器C12旋至容量最小位置,调节半可变电容器C16,使收音机能收到1605kHz的信号。覆盖调好后,最后调统调,一般只需调两点。调谐收音机使收到600kHz的信号,调节磁棒线圈L1在磁棒上的位置,使收音机的输出最大。然后调谐收音机使收到1500kHz的倍号,调节半可变电容器C15使收音机的输出最大。考虑到高、低端调试时的互相影响,不论是调频率覆盖,还是调统调都应反复多次,即高端调好后,回过来再微调低端。为使读者便于检查,现将集成电路各引脚静态时的直流电压值列于附表。(虞建达)

