随着大规模集成电路的飞速发展高集成度、低功耗、一致性好的音乐集成电路已成为一种性能良好而价格低廉的优质音响源。
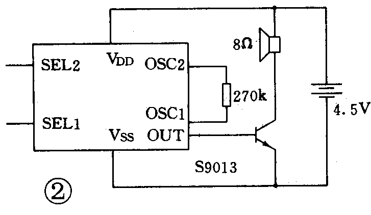
四声音乐集成电路KD-9561,外形采用软封装。内部包括振荡器、节拍器、音色发生器、只读存储器、地址计数器、控制、输出等部分。图1是它的外形图;图2是其典型应用线路图。按照其内部固化的程序,可产生四种音响效果:机枪声、警笛声、救护车声,消防车声。表1给出了模拟声和选声端电平之间之逻辑关系。表中“1”表示高电平,“0”表示低电平,“H”表示高阻态,即选声端悬空。



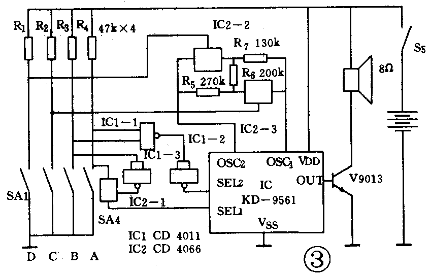
本文介绍的十六声音响电路是在四声电路的基础上,改变四声电路中的时钟振荡电阻的阻值,从而使IC的发音频率改变,再配合选声端,产生出四声电路所没有的音响效果。
KD-9561需外接振荡电阻,在典型的应用线路中,它的阻值为270kΩ,该电阻值决定内部时钟振荡器的振荡频率。阻值越低,振荡频率越高,所发出的音调也越高。电路如图3所示。图中SA1,SA2控制振荡电阻的阻值变化,用于产生附加的音响效果。SA3,SA4控制KD-9561的两个选声端,以选择基本的声响效果。SA1~SA4四位开关可用四位二进制来表示(D、C、B、A)。为方便和直观,开关闭合时为“0”,断开时为“1”。选声部分,主要是选择IC内部所固化的四种基本的音响效果,由SA3,SA4来控制,相应的电路组成部分是IC2、IC1、R3、R4。三个与非门和一个模拟开关组成控制逻辑电路,用来产生选择四种音响所需的逻辑电平。R3、R4是高电平上拉电阻。当SA3、SA4都闭合时,即BA=00时,与非门IC1-3的输出为“1”高电平,这个高电平加至IC2-1的控制端,模拟开关导通,低电平送至选声端1;同时IC1-1输出高电平,经IC1-2反相输出低电平,加至选声2端,电路发出“救护车”声;当BA=10时,与非门IC1-3输出低电平,模拟开关IC2-1关断,选声1端处在高阻态,而同时,选声2端由于与非门IC1.1输出依然为1而处在低电平,此时电路发出警笛声、其余两个状态,控制作用类似。

扩展部分,这一部分的作用是通过控制音乐IC的时钟振荡频率,从而改变合成的音调,产生附加的音响效果,由SA1,SA2两个开关来完成。当SA1、SA2都闭合时,DC=00,模拟开关IC2-2,IC2-3全部关断,外接振荡电阻等效如图4所示。由于模拟开关的关断电阻极大,可以视为开路,整个网络的电阻连接等效为三个电阻串联,总阻值约为600k。当DC=11时,即两个模拟开关的控制端均为高电平时,IC2-2、IC2-3导通,模拟开关的通态电阻很小,可以认为是短路。这时,电阻网络可以等效为R5、R6、R7三个电阻并联,总电阻值为61k左右。其余两种组合情形,原理是相同的,读者可自行分析。通过将两个模拟开关加至这个电阻网络,进而达到改变时钟振荡电阻的目的,以产生附加音响效果。

这样,由SA1~SA4四个开关的不同组合,形成十六个状态,分别可产生十六种音响效果。十六种音响的效果及所对应的二进制代码,各控制端的详细电平如表2所示。

电路的印刷线路板如图5所示,比例2∶1。IC1选用CD4011,IC2选用CD4066,均是CMOS电路,IC3选用四声音乐ICKD-9561。(张国鹏)
