一台日立PAF—820型套缸全自动洗衣机电机的线圈烧毁,电机上的塑料引出式插座也已熔化。由于这种原装电机不容易买到,曾用其它型号的电机代用,但洗衣效果很不理想,因此我把这只烧毁的电机线圈拆下来重新绕制,解决了问题。绕制方法如下:
1.用十字起子卸下电机上的4只紧固螺钉、螺母、弹簧垫、平垫、塑料引出式插座,用木锤敲下电机上下端盖后取出定子。
2. 用1000W的电吹风机或喷灯加热定子线圈,使绕组的铜线和绝缘漆软化或烧尽。剔掉槽内的24根槽楔,用尖嘴钳拉出各个槽内的线圈。
3. 用什锦锉、铲刀、钢丝刷等工具除掉定子表面和槽内的杂物。清理干净后把定子铁芯放入柴油中,用毛刷刷洗干净定子铁芯。
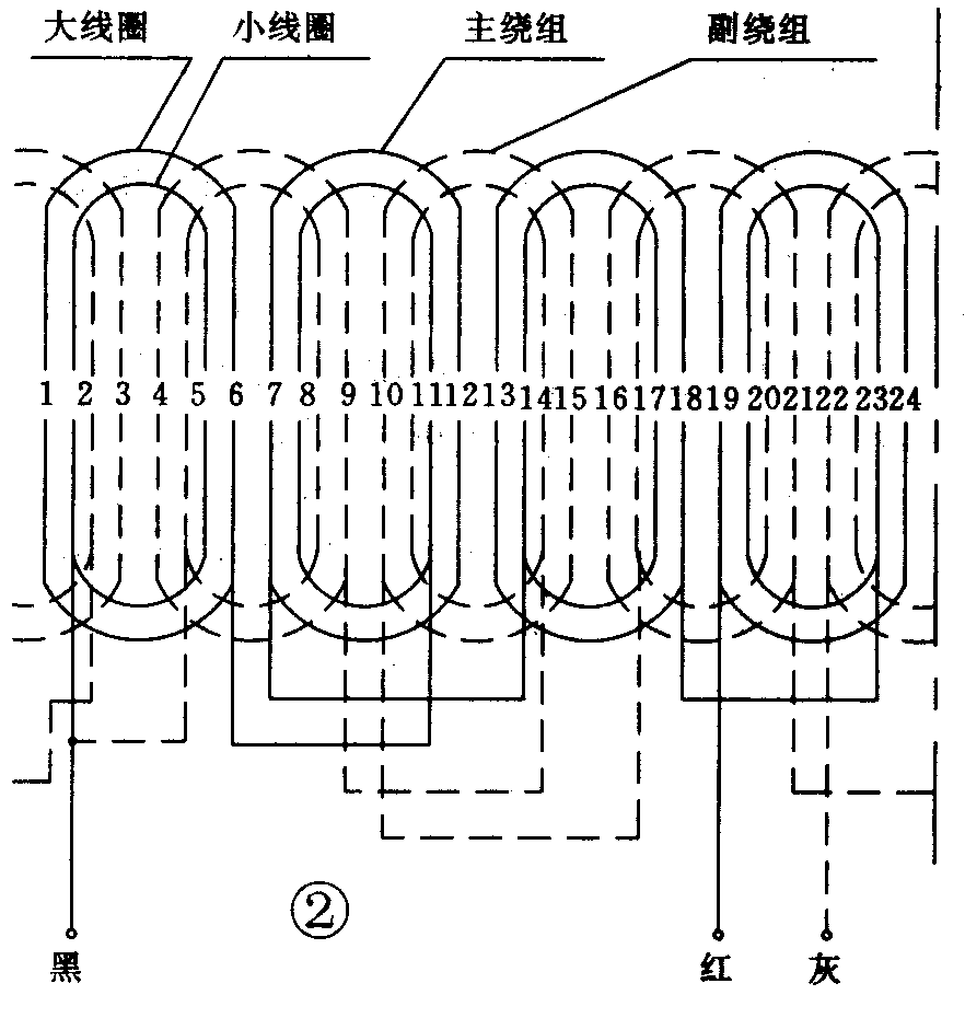
4.用QZ—1型高强度漆包线按表1(A)中的数据制好主副线圈各4只,每只线圈由大小线圈联体组成,头和尾引出线要留有120毫米长的余量。在定子铁芯24槽内放好0.2毫米厚的聚脂薄膜青壳复合纸,以作绝缘,见图1(a)。按图2将主副线圈分别导入24个槽中,主绕组的(4大和4小)线圈应放置在外部,大线圈一个边入一槽,小线圈两个边入一槽,两个边入一槽的小线圈之间应垫上一张0.2毫米厚、14×55毫米的青壳纸,见图1(b),以作层间绝缘。在线圈全部入槽后再插入竹槽楔,见图1(b)和(c)。在端部上的主副线圈之间应插入0.2毫米厚的青壳复合纸,以作相间绝缘。



5. 把定子线圈引出头分别剪至90毫米长,在端尖10毫米处刮掉绝缘漆,露出裸铜后套入ф1×80毫米长的玻璃纤维管,然后按图2头接尾的方式分别将主、副线圈连接好,线圈的接头处应绞成麻花状后上锡,焊牢,把玻璃纤维套管推入焊接处。
6.将万用表选在R×1Ω档,测量定子线圈的主绕组直流电阻应在18.5Ω左右,测量定子线圈的副绕组直流电阻应为22.5Ω左右。阻值无误后,用木锤对定子线圈端部进行整形至端部的线圈放入转子时,以不碰转子外圆及不碰电机上下端盖内壁为好,再用ф0.8毫米的丝线捆扎好整个线圈端部。
7.用500伏兆欧表测量主副绕组的四根引出线与铁芯之间的绝缘电阻应大于10MΩ,测量主、副绕组之间的绝缘电阻应大于2MΩ,给主、副绕组的4根引出线与铁芯之间加50赫兹、1分钟、1875伏的试验电压,应不出现击穿或闪络。
8.校图2再一次检查定子线圈接线后,进行漫漆处理,定子线圈漫漆处理的过程见表2。浸漆处理的目的是增加线圈的强度和提高电机的绝缘防潮性能。

9.由于原电机上的塑料插座已熔化不能再用,因此电机定子引出线只能采用导线引出式。其方法是:①把定子的主、副线圈4根引出线剪至60毫米长,将端头15毫米处刮去绝缘漆套入玻璃纤维管;②取长500毫米,导线截面大于0.5平方毫米的黑、红、灰塑料导线各一根,将端头刮去塑料皮后,套入ф3×60毫米长的玻璃纤维套管;③按图2将黑线接在主、副绕组线(2、5槽)的引出头上,红线接在主绕组线(19槽)引出头上,灰线接在副绕组线(22槽)引出头上。接头处绞成麻花状后上锡,再把玻璃纤维管套好;④用ф0.8毫米丝线把黑、红、灰引出线根部和套管处捆扎牢后,固定在定子线圈的端部上,并将黑、红、灰引出线套上ф5×300毫米长的玻璃纤维管,以防装配电机时划破引出线。
10.定子线圈修复后,把拆卸下来的电机零部件重新装配好,引出线应从下端盖上的半圆止口中引出。装好后的电机轴运转应灵活自如。然后按图3接线,电机加25伏的交流试验电压,转子空载时应能起动和运转。

国产单、双缸洗衣机用90W和120W洗涤电机的线圈绕制数据见表1(B)和(C),修复的方法同上。表1(B)数据适用于90W、定子为24槽、定子内径在ф67.5—70毫米之间、厚度为28—30毫米的洗涤电机。表1(C)数据适用120W、定子为24槽、定子内径在67.5—71毫米之间、厚度在32—37.5毫米的洗涤电机。在绕制时,应注意它们的主、副绕组的线径、匝数,线圈数应是相等的,其匝比数为1。(吴忠义)