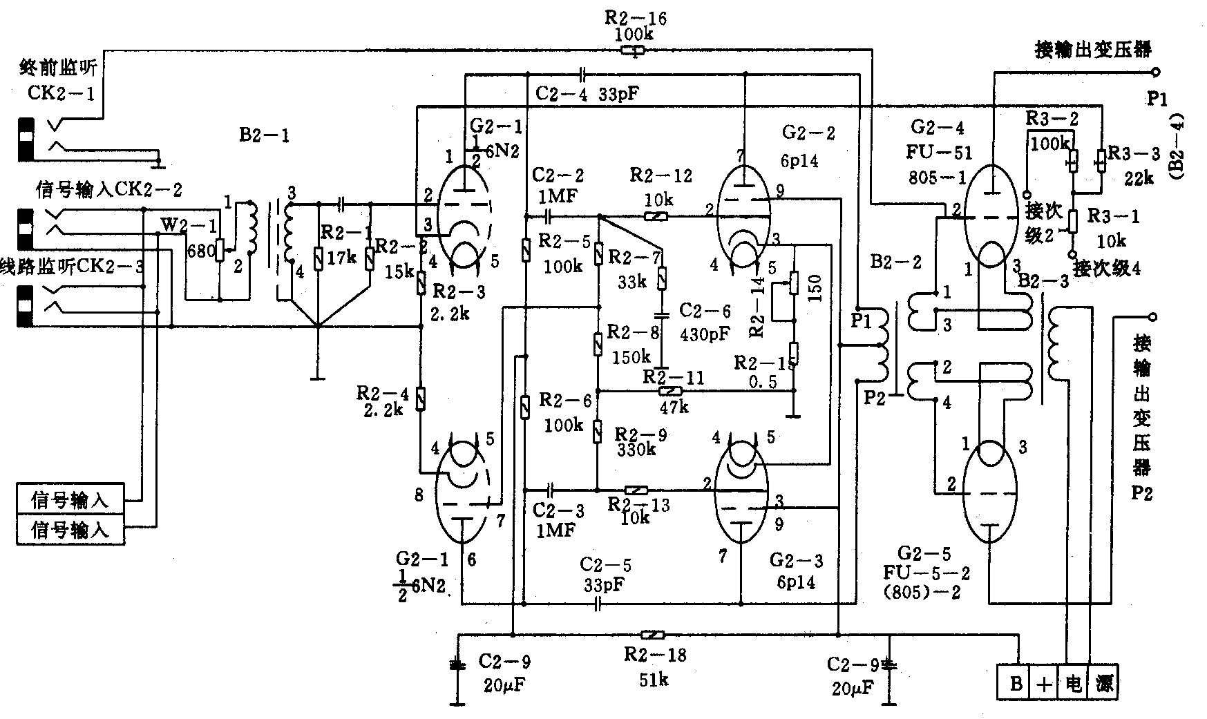
GY2×275W扩音机非线性失真,在1000赫小于等于5%。该机主要由5个电子管(6N2、6P14×2、805×2)作三级放大,如图所示。只要电路中有一个电子元件损坏和失效,就会引起一级不对称而造成非线性失真。在一般只有万用表而没有其它仪器的情况下,我们可以用一听、二看、三测的方法来检查机器,排除故障。

一听:我们首先用听的方法可以初步找出故障发生在哪一级。机器发生故障时,有时会有各种不正常的声音,如“爆裂”声。“噼啪”声等,这些现象都能帮助我们迅速查出故障。如果关掉线路输出开关声音不正常,这说明故障发生在机架放大部分。这时我们可以用测试听筒(220OΩ)逐级试听,首先将测试听筒插入终前监听插孔试听,如果听起来声音有失真,原因可能是805×2电子管有一只损坏或衰老而引起不对称失真;试听下来如果是好的,那可用听筒插入线路监听插孔试听。如果听下来,声音不好有失真,故障可能在前级控制台;如果试听下来没有发现失真现象,故障就可能发生在6N2和6P14×2两级。一般情况下故障发生在6P14×2这一级比较多。
二看:就是可以查看一下机器电路部分有无电阻因过热烧坏而变黑、漆皮脱落,有无元件断线等现象。查明原因更换元件后,就可以恢复正常。例如805电子管一只发红,说明这只发红的电子管屏流大是好的。另一只电子管不发红,则这只不发红的电子管是坏的或者是衰老的,可以用更换805电子管的方法解决。另外还可以将机架上的测量开关扳到“805”一档,查看一下805×2两只电子管屏流是否一致,静态时单个805电子管屏流应该是70~90mA左右,满信号时屏流不应超过140~210mA左右。若测量开关放到805—1或805—2上,其中有一只管的屏流值小于上述值时,说明这只805电子管已经衰老,使工作不对称,声音就会失真。如果805电子管是好的,那么就再看一看6N2和6P14这两级。我们首先查看6P14×2这一级,因为6P14×2电子管是一级推动功率放大,所以电子管损坏的机会也就增多。在工作时可看2个管子是否有绿光闪动。如果其中一只管子有绿光,另一只管子没有绿光,这说明有绿光闪动的一只管子是好的,没有发绿光的这只电子管已坏或者衰老。
三测:就是我们利用机架上的测量开关,分别测试805×2和6P14×2电子管各级电压和电流是否正常,是否在工作点上,初步找出故障所在和确定故障发生在哪一级。测试数据见下表。

下面我们用万用表测量检查有关的电路和元件,进一步找出故障所在和失真的原因:
(1)检查6N2电子管无屏压或屏极电压降低。这说明屏极电阻R2—5、R2—6电阻烧坏或电阻变值,应换电阻。
(2)检查6N2电子管阴极无电压。这说明R2—3、R2—4电阻烧坏或电阻变值,应换电阻。
(3)6N2电子管2个耦合电容器C2—2、C2—3,如果其中一只损坏或漏电,也会引起不对称而失真,应换好的调试。
(4)检测6P14电子管电路的反馈电容,如果反馈电容有一只变值失效,都会使反馈电路不对称。应检查C2—4、C2—5电容器是否失效或短路,调换好的电容解决。
(5)检测负反馈电阻R3—1(10k)、R3—2(100k)和R3—3(22k),如有损坏或变值也会引起放大电路的失真。可用万用表测试后断定。如果电阻损坏可用同样阻值的电阻换上。
(6)检查推动变压器(B2—2)有否局部短路或初级断线、半边断线现象。因为6P14×2电子管和805电子管是大功率放大级,如果推动变压器有了故障会影响到管子的电压分配,因此也就影响到管子的功率放大的对称,而引起失真。也可用万用表测量检查,如果是变压器很坏,可用好的换上一试。
(7)检查805输出变压器(B2—4)是否局部短路。如果输出变压器的局部短路发生在初级线圈中,输出电压将大部分消耗在变压器本身上,同时阻抗也随着起变化,使阻抗不匹配影响机器正常工作。在这种情况下听起来不但有失真,而且因输出量减小,使805电子管的电流增大,管子发红。若关掉机器电源,用手摸觉得发烫,严重的有焦味,这时可换好的变压器一试。
除了机器本身造成的失真外,还有线路上的输送变压器接得不匹配或线路上高压(240V)有某处短路接地也会引起机器失真。这时机器输出电压很低,电流大,声音阻塞难听。判断是输出线路故障还是扩音机内部故障,可用接入假负载法。即用一只耐热功率与扩音机输出功率相同,电阻值与扩音机输出阻抗相等的线绕电阻来代替输送线路上的喇叭工作。如果没有线绕电阻也可用一只额定电压与扩音机输出电压接近,功率与扩音机输出功率相等的电灯泡作临时负载。接上后断开线路开关,如果扩音机工作正常,这说明故障出在线路上。反之,如果扩音机仍然不能正常工作,这说明故障就在扩音机内部。(李顺清)