(周根发)SL517是一种软封装声控集成电路,它由放大器、双稳态电路,缓冲器及驱动电路等部分组成。可用击掌、喊话、敲击等声音来触发,已广泛应用于声控玩具、电动汽车等方面。其外形见图1(a),内部框图见1b)。

SL518、SL519是在SL517基础上发展的新产品,外围元件更少,又省略了不必要的Q端与Q-端的引出脚。输出端也作了改进,SL517可用作集电极输出或发射极输出,而SL518只作发射极输出,SL519作集电极输出。图2、图3为其外形及管脚排列图。


SL517、518、519声控集成电路具有使用电压较低,灵敏度较高,驱动电流较大,装制调试简便,性能稳定可靠等优点。其工作电压为2~7.5V,静态电流≤5mA,输入灵敏度≤15mV,输出电流为100±20mA。
典型应用电路
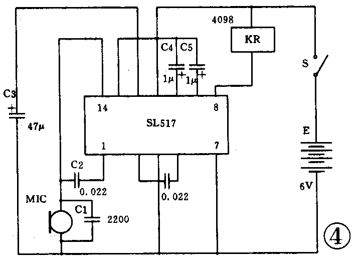
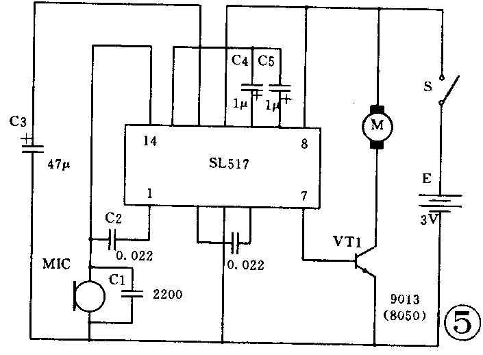
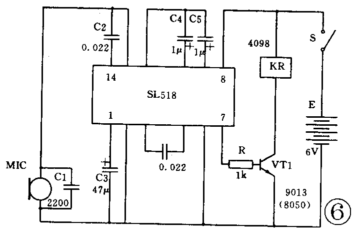
典型应用电路见图4~图9。在这些电路中,通过驻极体话筒将声音转换成电倍号,经耦合电容C\(_{2}\)输入放大器,再经放大器放大后通过电容C4、C\(_{5}\)触发双稳态电路翻转,使驱动电路成开关状态,以控制电动机或继电器的动作。本电路应用于声控玩具中控制驱动小电动机时,常用电源电压为3V(见图5.7.9),若用作带动6V继电器时,电源电压可提高到6V。SL517、SL519是集电极输出,可在输出端直接带继电器(见图4.8),SL518为发射极输出需加驱动级(见图6),并在基极回路中串接电阻R,调整电阻R可调节集电极电流。电容C1用于消除误动作,宜直接焊在话筒上,容量可在1000P~0.022μ间取。C\(_{2}\)可在0.022~1μ间选取。控制距离可在2米左右。






SL517、SL518、SL519声控集成电路还可在其他电子玩具、模型和电子控制装置中应用,下面以SL518为例进行说明。
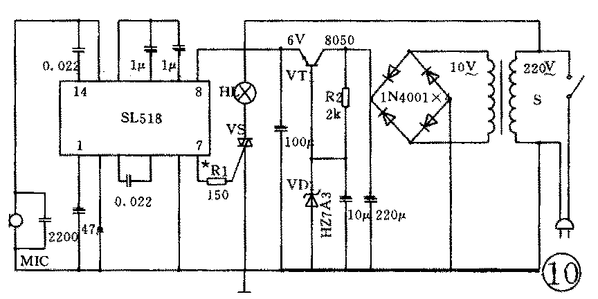
1.声控路灯(或开关),见图10。它由声控电路SL518、可控硅和稳压电源组成,以SL0518发射极的输出电流控制可控硅的导通或截止,使220V电压接入或切断,以控制路灯的亮和暗。若将HL处接成插座即成开关,可作控制电扇、收录机的电源开关。稳压电源中的稳压二极管HZ7A3稳压值为6.8V,功率为0.5W,也可用其它型号或3DG12的be结代用。本电路接地端接有220V的一端,连接时尽可能以零线接地。制作与调试时手不要接触接地线,使用时宜配制一个外壳。

2.声控开关电路见图11,它有前置放大、声控电路SL518、继电器和电源组成,可作控制玩具电动汽车的电源开关。它主要是在原有声控电路上增加一级前置放大,使控制距离增加到4~5米。

3.光控开关的电路见图12,它由光敏三极管3DU11,SL518声控电路和小电动机组成,以光敏三极管组成传感器代替驻极体话筒的传感器,将光信号转换成电信号触发双稳态电路翻转而驱动小电机的转动与停止,当光照一次时,小电机就转动,再照一次时停止。
