(王国强)电视接收中的圆环天线是一种常见的天线。由于该天线结构简单,引起了许多用户的兴趣。为此,本文就圆环天线的电性能特点和应用作一简要介绍。
圆环天线的特点
圆环天线的结构形式如图1所示。其特点是:

1.频带宽:天线技术上所讲的工作频带,通常是指使输入阻抗在额定范围内的频带。在工作频带,天线所接收的信号功率都能有效地传输到电视机。由此可见。天线的输入阻抗变化越小,它的工作频带就越宽。也就是能保障把信号传输到电视机的频率范围越宽。
与普通半波振子天线相比,假设接收第12频道信号(相应的信号中心频率为219MHz工作),当选用直径ф=10mm的金属材料加工半波振子天线时,其输入阻抗Zin≈73Ω;若加工成圆环天线,其输入阻抗Zin≈110Ω。当接收的电视频道改变为第13频道时(相应的信号中心频率为474MHz),原来的半波振子变为全波振子,其输入阻抗Zin≈2000Ω,而圆环天线的输入阻抗Zin≈ll2.5Ω。当选用75Ω同轴电缆馈线时,在第12、13频道上,半波振子的驻波系数S分别是S\(_{2}\)≈1,S13≈27,而圆环天线相应的驻波系数S\(_{12}\)≈1.47,S13≈1.50,(驻波系数S=Zin/Zo),式中Zin是天线输入阻抗,Zo是馈线的特性阻抗)。
由此可见,说明天线与馈线阻抗匹配程度的驻波系数S,在振子天线情况下,其变化比较剧烈,而在圆环天线情况下,几乎保持不变,说明圆环天线的工作频带很宽。
2.增益高:所谓天线的增益,其通俗含义就是指天线的灵敏度。普通半波振子(包括折合半波振子),其绝对增益为1.64(即2.15dB)。一个圆环天线可以等效为两个平行放置的半波天线,如图2所示。因而这样的两单元无线的增益比普通半波天线高1dB。也就是说圆环天线的绝对增益近似为3.5dB。天线增益提高1dB,可以使同步不稳定的图像变为同步稳定的图像,使失去彩色的图像恢复鲜艳的彩色。

3.方向图宽:方向图是天线的一项重要技术参数。所谓方向图就是用以描绘天线对来自不同方向的信号电波具有不同接收能力的一种形象化图形,方向图上的最大值是1,不同方向的接收能力只是相对最大值的一个百分数。具有最大接收能力的50%的方向之间的夹角称为半功率夹角,简称2θ.\(_{5}\),如图3所示。

半功率夹角越宽,说明能接收信号电波的范围越宽。不过半功率夹角宽,也意味着容易接收干扰信号。因此,在电视接收中,为了抗重影干扰,需要抑制多路径反射波,往往希望接收天线具有尖锐的方向性,即要求半功率夹角窄。
半波振子的半功率夹角2θ.\(_{5}\)≈78°而圆环天线的2θ.5≈130°。因此,圆环天线抗重影干扰的性能较差。不过电视机上的双拉杆天线(俗称羊角天线)的2θ.\(_{5}\)远大于78°,甚至大于130°。
4.结构简单、制作方便:圆环天线的结构非常简单,制作时可以取用材料直径ф=3mm~5mm的铜(或铝)丝(管)(制作室外天线时,材料直径ф=6mm~8mm)等,其材料长度l=c+a弯成圆环即可。其中a=3~4cm,a是留作圆环天线输入端的接线端的长度,而圆环的周长C等于λ\(_{0}\),λ0是欲接收的某一频段的信号中心波长。比如欲接收13~30频道的信号,此时可取其λ\(_{0}\)=\(\sqrt{λ}\)13·λ\(_{3}\)0,其中第13频道中心波长λ13=63.8cm。第30频道中心波长λ\(_{3}\)0=45.9cm。圆环天线的接口宽度W,通常是2.5~4cm。
圆环天线的应用
圆环天线既可作为室内天线使用,也可作为室外天线使用。而且,它不仅可单独使用,还可以组合成定向天线使用。
1.室内应用
(1)单圆环天线。单圆环天线形式较多,其中,比较合适的是圆环天线依附在拉杆天线上,如图4所示。此时拉杆作为一个支架使用,由于室内电波极化方式错综复杂,有水平极化波,有垂直极化波和倾斜极化波,旋转拉杆天线可以找到使圆环天线获得最大感应电动势的状态。

(2)加反射网(板)式圆环天线。这种天线形式如图5所示。在圆环天线的后向安装反射板,反射板可以用金属网或密集的反射振子组成。反射板的宽度B=0.55λ\(_{1}\),反射板的高度h=(0.50~0.80)λ1,(λ\(_{1}\)是频道低端波长)反射板与圆环的间距d=(0.15~0.25)λ0,由于反射板的作用,可使天线增益提高1~2dB,而且方向图变得尖锐,抗重影效果明显改善。

(3)作走向天线的馈电振子。其应用形式如图6所示。这是一种四单元的室内单向性接收天线,其中圆环的周长C仍然是近似等于电视频道中心波长λ\(_{0}\)。反射振子长度lr=0.50λ1;(λ\(_{1}\)是接收频道低端波长),引向振子长度l1=l\(_{2}\)=0.44λ2(λ\(_{2}\)是接收频道高端波长),其余尺寸如图6中所示。这里必须提出一点,反射振子、引向振子的横担支架,应该垂直圆环平面,而且横担高度应该在圆环所等效的两根半波振子(参看图2)中的一根振子位置上。

在此还必须说明,上述三种应用情况中,若选用300Ω扁平馈线,当阻抗变换器采用双孔磁芯阻抗变换器时,选择75Ω(对称)→300Ω(对称)的一种状态,原理如图7(a)所示。若选用75Ω同轴电缆馈线,则选择75Ω(对称)→75Ω(不对称)的状态,原理如图7(b)所示。

2.室外应用
(1)组合成双圆环定向天线。该天线形式如图8所示。该天线设计制作中,反射振子、引向振子的长度、间距等参数,均可参照常用的室外走向天线的尺寸。这里需要注意的是,双环端口的间距d=(0.35~0.5)λ\(_{0}\),为了进行调整,同时考虑到制作方便,在加工双环天线时,可以分成两个单环独立加工,然后用螺钉连接成双环天线,如图9所示。


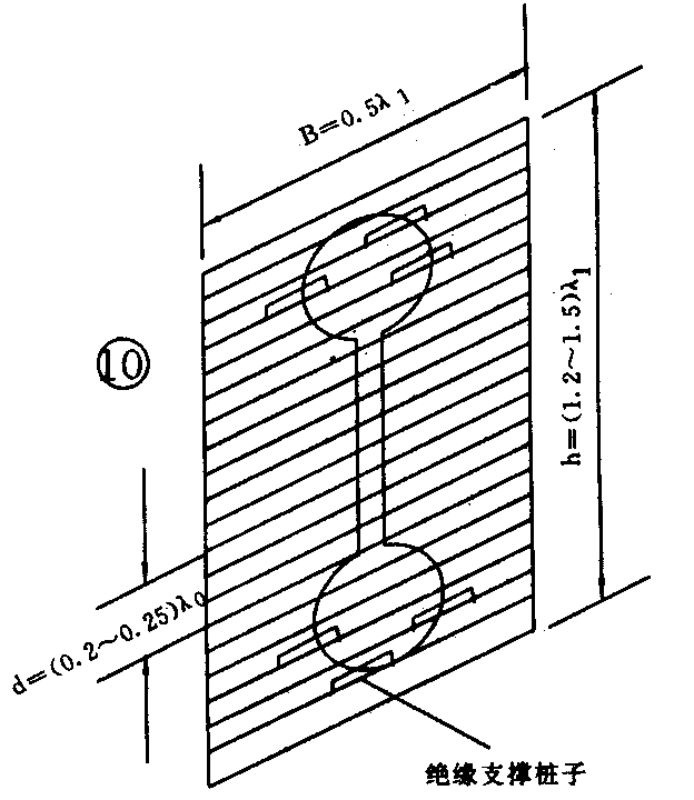
(2)双圆环加反射板(网)。这种形式的天线如图10所示。这是一种高增益的定向天线。每副圆环天线可等效为两副半波振子天线,那么,双圆环配置反射板,由于反射板的镜象作用,总计可等效为8副半波振子天线,其增益可达6—8dB。

双圆环与反射板的间距d=(0.20~0.25)λ\(_{0}\),反射板宽度B=0.55λ1(λ\(_{1}\)是接收频道低端波长),反射板高度h=(1.2~1.5)λ1。反射板固定在支掌架上,而双圆环可以通过绝缘桩子固定在反射板上,如图10所示。
如果在上述双环的基础上,再配置若干根引向振子,构成图11形式的双层定向天线,那么这种天线不仅增益高,而且方向性尖锐,特别是在垂直平面内的方向图变得更为尖锐。增益高、方向性尖锐,既有利于远程弱信号接收,也有利于山区改善重影干扰的接收。这是因为在山区的电视接收中,引起多路径反射波的重影中,来自垂直平面内的多路径反射波居多。

最后说明几点:①上述角戏圆环天线作馈电振子的定向天线,其引向振子长度、间距等尺寸都如同普通定向天线的情况。而引向振子的横担应该垂直双环平面,而且安装的高度应该分别在每一个圆环等效的半波振子上。②选用上述天线时,馈线尽可能采用75Ω电缆线,此时双孔磁芯阻抗变换器,可用75Ω(对称)→75Ω(不对称)的形式,如图7(b)所示。若没有双孔磁芯阻抗变换器,那么可剪取一段馈线,自己制作阻抗变换器,如图12所示。图中A是一段变换器馈线。其长度等于λ\(_{0}\)/4(λ0是频道中心波长)。A的一端其铜网层(外导体)连成一个端点e,e点与电缆馈线的铜网层相连。A的另一端其铜网层分成(c、b)两个端点,其中C点与传输电缆芯线相连,b点与双环的连接杆相连。传输电缆的外导体(a点)与双环的另一根连接杆相连。这样也可以实现75Ω(对称)→75Ω(不对称)的转换。③圆环天线、双圆环天线一般是在UHF频段中使用,但为了取其增益高,垂直面内方向性尖锐(对双圆环而言)等许多优点,在特殊需要场合,也可以把它们应用于VHF频段中的6—12频道。因为在这些频道上圆环尺寸还不很大。
