在很多场合需要使用大功率的稳压电源。本文向大家介绍一种大功率稳压电源的推动集成电路。型号为TWH9101,图1是该集成电路内部框图及引脚图。附表列出了TWH9101的主要参数。


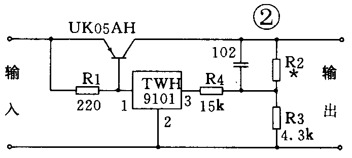
图2是TWH9101的实际应用电路。它虽然比一般的稳压电路元件多些,但是这个电路具有以下特点:1.输出功率可根据实际需要用调整推动管的数目的方法来调整,每只UK05AH的工作电流为5A,当采用4只UK05AH并联时,工作电流就达20A。2.效率高。满载工作时输入输出电压差仅为1.5。3.精度高,电压调整率达0.04%。推动集成块内部基准电压为1.25V,可输出较低的电压。4.推动电路内部设过热保护电路,安全可靠。6.TWH9101采用T09ZL封装,体积小,可直按紧贴在推动管上接线,安装容易。

图3是实际安装示意图,TWH9101应紧贴在UK05AH的散热器或管壳上。通常每只UK05AH应按装30×10(cm\(^{2}\))面积的散热器,当采用多只UK05AH并联作大功率稳压时,要注意UK05AH型号下面的一组配对编号一致。电路如经常处于满载工作状态时,应按装仪表排风扇。以保证散热器温度不超过70℃为好。

制作可调稳压器时,R2用110K电位器即可,而制做固定式稳压器时,R2应由下式确定:R2=R1(V\(_{0}\)/VREF-1),V\(_{0}\)是输出电压,VREF是参考基准电压为1.26V。例如:制做一台13.8V船用电台的稳压器,这时R2应取4.3×(13.8/1.26-1)=42.8(kΩ)。(蔡凡弟)