近年来,闭路电视在我国广大城市发展很快,在部分乡村也开始建立小系统,对广播电视发展起了积极作用。笔者就闭路电视系统的主要部件的技术性能、使用知识和测试要点作些介绍,供读者参考。
部件的性能和使用
1.天线放大器:简称天放。其作用是放大从天线接收来的微弱信号,天放的一个重要指标就是噪声系数N\(_{F}\),一般天放的NF为5~6dB,低噪声天放的N\(_{F}\)为2~3.5dB。如果天放的NF低,就意味着能放大更微弱的信号,故要求天放的N\(_{F}\)尽可能低。天放的增益为20~30dB,它的输入电平范围为40~75dBμ。该范围的下限称天放的输入门限电平,若输入信号低于此值时,使用天放也不会使信噪比得到改善。当输入信号高于这个范围的上限时,又会产生非线性失真,所以使用天放应注意这个技术条件。
天线放大器有窄带(单频道)和宽带(多频道)两种。U段天放通常是宽带的,在多数使用环境中需在它的输入端串入带通滤波器。单频道天放具有如图1所示的幅频特性。

天放使用时装在天线杆上,与天线应保持1米左右距离以避免自激。天放的馈电装置在前端共用器内。由于从天线到天放之间任何衰减的dB数,都将折合为天放噪声系数的dB数,故应尽量减小这种衰减。
2.单频道功率放大器:它具有与单频道天放一样的幅频特性,但它允许有较高的输入电平(80dBμ以上)。通常用于前端混合器之前将某频道信号放大到110dBμ左右,也可将录像机和电视唱机等设备输出的射频信号(一般70dBμ左右)放大后送至前端。它的增益为30dB左右并可调节,有些机型带有自动增益控制(AGC)。噪声系数N\(_{F}\)一般为10dB。它可以由工厂按用户所需频道生产,也可以用宽带放大器加不同频道滤波器组成。
3.线路放大器:简称线放,种类较多,它主要用来增大系统负载能力,补偿传输电缆及部件上的衰耗。它具有全频段工作的特点,因此可作前端宽放。图2是单通道V段线放的幅频特性,在高频端提高增益是为了补偿电缆和部件在高频端的损失。图3为全频段组合式线放的结构(以日本BW-40AS型为例),组合式比单通道式有更高的增益。由于采用分频段衰减和放大,所以出现互调和交调干扰的机会比单通道少。

一般线放的N\(_{F}\)为10dB左右,好的线放NF可达3~5dB,它的增益在25~30dB,有些可达35dB以上。长距离传输应选用指标较高的线放。线放的最大输入电平,是指同时输入两个频道时的电平。当同时放大多个频道信号时,这些信号即不同频又不同相,因此它们经功率迭加后进入放大器。这就必须适当降低各频道信号电平,防止因信号过强而产生非线性失真。各频道输入电平减小量(与最大输入电平相比)应为(7.5~10)log(N-1)dB,其中N为频道数,可通过改变线放输入端衰减器来调节。图3中PIN衰减器是放在多级放大器的中间,故不能通过调节它来降低输入电平。

4.混合器:它为无源线性部件,它是将两个或多个输入口上的信号馈送给一个输出口的装置。也有窄带(单频道)与宽带(用于频段之间)之分,窄带具有良好的选择性,其规格应到厂方定制。混合器的插入损耗应小于3dB,各输入端要有20dB以上的隔离度。它具有“可逆”性能,倒过来使用可作分离器,且插入损耗不变。某些引进的前端设备中,由于传输频道较多又经常改动,故将混合器取消,而采用各单频道放大输出信号直接混合方式。
5.功率分配器:也称分配器,属无源线性部件,基本形式有二分配器和三分配器。二分配器的插入损耗为3~4dB,三分配器的插入损耗为6dB左右。图4所示的四分配器实际是由3个二分配器构成,图5和图6所示六分配器实际是由二分配器和三分配器组合而成。分配器的隔离度一般在20dB以上。使用时必须将剩余空端接上75Ω电阻(假负载),这样才能保证整个频段内平坦的传输特性和良好的反向隔离度。

二和四分配器倒过来使用时,可作宽带混合器,其插入损耗不变。但三分配器倒过来使用效果差。图7示出某系统中加入录像节目时,用二分配器混合的实例。

6.衰减器:电缆电视系统中经常使用π型和T型两种电阻式衰减器,如图8所示。T型衰减器对地分布电容小,适于UHF频段设备,多级串联使用衰减器时也应选用T型,VHF频段设备中选用π型衰减器就可以。衰减器在系统中有两个作用:①衰减信号,②作阻抗均衡器。当衰减器加入器件的输入输出端口时,可改善器件与器件之间的阻抗匹配。

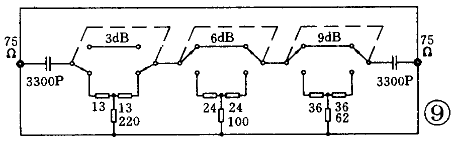
自制各种75Ω固定衰减器可参照有关资料介绍,选用1/4W或1/8W金属膜电阻或硅碳膜电阻,只要标称值近似就可以使用,切不可追求精度而选用线绕电阻。衰减器可串联使用,衰减的dB数相加。图9所示的可调衰减器由3个T型电阻衰减器和3只2×2开关串联而成,有0、3、6、9、12、15、18、21dB8个档位。

7.滤波器与陷波器:这两种部件经常用在系统前端设备的输入端。滤波器用来抑制频带外干扰,提高系统回路的选择性。目前使用最多的是LC滤波器(包括厚膜集成LC滤波器)。螺旋线—腔体式滤波器一般在UHF频段设备中使用,它比LC型有更高的带外衰减,更小的插入损耗(2dB左右),更接近于1的矩形系数。滤波器的通带宽度应不小于8MHz。
陷波器用来吸收固定频率的干扰信号载频。专用陷波器幅频特性在吸收点呈现出很尖锐的下陷点,最大衰减量可达40dB,如图10所示。陷波器应并联接入系统前端的输入电路。当难以购到或自制LC型陷波器时,可参照图11用长度为λ/2·k的终端短路同轴电缆代用。其中λ为干扰信号的波长,k为此段电缆的波长缩短率,聚乙烯实芯同轴电缆k取0.67,发泡型电缆k取0.81。调试时稍改变电缆长度以求达到最佳效果。

8.频率均衡器:也称线路均衡器,它对低频段(V\(_{L}\)段)信号衰减大,而对较高频段(VH及U段)信号衰减小。当把它串入线路时,正好补偿线路上较高频段信号衰减过大的状况,使放大器高低端电平拉平。
有时不用均衡器可以得到频率均衡。如新型组合式全频段放大器(日本BW—40AS、ME-4AER、国产DX-1740等),借助于面板上的选择开关,可具有V段、U段信号独立输入的功能,改变各段信号输入的大小以达均衡目的。还有一种可按图12所示的方法得到均衡,即在线放的输入端串接主干衰减小的一分支器,将主干输出端接到放大器U输入端,而将衰减较大的分支端接到放大器V输入端,再与放大器内部滤波器配合而实现频率均衡。如果U段信号衰减过大,可使用日本BU-40AS线放,它可使U段信号提高30~40dB,而使V段信号直通(不放大),这也可达到均衡的目的。

9.分支器:它工作于全频段。它同分配器组成一个分配网络,把信号均匀地分配给各用户的电视机。分支器内部是一个走向耦合器,它的插入损耗与分支损耗成反比关系,如图13所示。分支器通常多级串接使用,如图14所示。使用时注意规格要选择正确(分支器上面标的dB数为分支损耗),切勿接反,最后一个分支器主干输出端应接有75Ω电阻。还要特别注意选用电压驻波比特别小的,一般驻波比不应大于1.5。

部件的测试要点
多数使用单位没有频率特性测试仪器,无法对系统中部件进行完善的测试。但对日常一般维护中的测试,有一台电视场强仪,如国产NEG-9C系列、RR3,日本LFC-944D、945等型和一台万用表,就能解决不少实际问题。
对有源器件(如各类放大器)进行如下几种测量:①用万用表测放大器直流电源电压E\(_{C}\)是否正常;测各晶体管Ube是否正常(放大器多用硅管其U\(_{be}\)为0.6~0.8V);测各管Uce是否在1/2E\(_{C}\)~2/3EC范围之内。②用电视场强仪测放大器的增益、频响等。如上述测试结果在正常范围之内,则放大器工作基本正常。
对无源器件(如混合器、分配器、分支器等),在系统日常维护检测中,用电视场强仪测量器件的衰耗、隔离度和频响等。应注意在3个频段(V\(_{L}\)、VH和U段)中各选1个或2个频道来测,才能了解该器件在全频段内传输特性。测量时使输入信号电平在70~75dBμ范围之内,信号电平太高或太低都不易测准。测量时可用信号源的信号或直接利用系统中的信号。
利用电视场强仪进行上述各种测量的具体方法,在仪器的使用说明书上都有具体的说明,这里不再赘述。(郑督)