随着集成电路技术的不断提高,各种调幅单片集成电路相继问世,国内常用的有 ULN2204A、ULN3839A和TA7641BP等,我们称它们为早期电路。近年来国外公司推出的有TEA5551和CXA1033P等,这些集成电路也正被用于各款式的调幅收音机中,我们称它们为近期电路。一般说来,由于受功放电路工作时基片温度升高和由于功放非线性产生的高频辐射干扰等因素的影响,要提高调幅单片集成电路的输出功率和电性能会受到一定程度的限制。因此,这些调幅单片集成电路比较适用于袖珍调幅收音机。
电路特点
就集成电路内部的组成来说,无论是早期电路还是近期电路均采用传统的超外差接收方式,均由混频器、中频放大器、检波器和功率放大器等基本电路组成。天线输入信号经输入回路调谐后,首先进入混频器与本机振荡信号混频。然后由外部的中频滤波器从混频输出端取出中频信号送中频放大器和检波器进行信号放大与检波。检波输出中的直流信号用来控制自动增益控制(AGC)电路;检波输出中的音频信号一般经过外部的音量调节电位器送功率放大器,最后去推动扬声器放音。ULN2204A和ULN3839A的内部方框图基本相同,如图1所示。稳压电路用来稳定前级电路的工作电压,以避免功放输出时电源电压的起落对前级电路影响。TA7641BP的内部方框图如图2所示。除基本电路外,没有其它的附加电路,比较简单。TEA5551和CXA1033P的内部方框图分别见图3和图4。除基本电路外,还附加了一些电路。如TEA5551中有稳压电路、立体声双功放等,CXA1033P中有直流音量调节电路和调谐指示驱动电路等。尽管这些集成电路的接收方式和电路组成基本相同,但在电路设计中各有不同,叙述如下:




一、滤波方式不同
早期调幅单片集成电路的中频滤波一般都采用分离滤波方式,即在中频放大器的输入和输出端都设有中频滤波器,如图5所示。以提高中频选择性和降低中频放大器的输出噪声。近期的调幅单片集成电路则大多采用集中滤波方式,即只在中频放大器的输入端设中频滤波器,如图6所示。在中频放大器的输出端不必设中频滤波器,以简化外围电路。


二、AGC控制方式不同
早期调幅单片集成电路一般都采用改变中频放大器的电源电压来控制中放器的增益,如图7所示。检波器输出的直流信号加在晶体管VT1的基极上来控制该晶体管的集电极电位。由于该晶体管的集电极与中频放大器的电源端直接相连。因此,中频放大器的电源电压随之变化,从而便控制了中频放大器的增益。而近期调幅单片集成电路大多采用电子变阻器来控制中频放大器的增益,如图8所示。用检波输出中的直流信号来控制晶体管VT\(_{1}\)和VT2的集电极与发射极之间的阻抗,由于该阻抗对中频信号的衰减作用,使中频放大器的增益得到控制。采用电子变阻器比较容易实现多级控制,即当输入信号较小时,先由第1级AGC电路起控,当输入信号较大时,再起控第2级AGC电路。这样就可以获得较宽的AGC范围。如TEA5551采用三级AGC控制,两级控制中频放大器,一级控制混频器,AGC范围高达86dB。


三、变频电路不同
大多数调幅单片集成电路如ULN2204A、ULN3839A、TEA5551和CXA1033P的变频电路都由混频器和本机振荡器两部分电路组成,而且本机振荡器一般都使用单端振荡电路如图9所示,振荡线圈的两端,其中一端与集成电路相接,另一端直接接电源。采用单端振荡器具有振荡频率稳定、天线输入信号与振荡信号的隔离度高以及能承受较大的天线输入信号等优点。TA7641BP的变频电路与众不同,采用的是单晶体管的变频电路如图10所示。由一个晶体管同时完成混频和本振,与以前的晶体管收音机很相似,只有本振信号和天线输入信号都加在晶体管的基极上,而不同于晶体管收音机中的变频电路,天线输入信号加在晶体管基极上,本振信号加在晶体管的发射极上的。这种变频电路在集成电路中已很少采用。


应用电路介绍
ULN2204A和ULN3839A的应用电路基本相同,如图11所示。T1为中频放大器输入端的中频滤波器,T2为中频放大器输出端的中频滤波器,它们组成分离中频滤波电路。与其它的调幅单片集成电路不同,ULN2204A和ULN3839A的中频放大器的增益是可调的,可以通过电阻器R2来调节。但是,另一方面,中频放大器的AGC也是通过检波输出的直流电流在R2上的电压降来控制的。因此,调整电阻器R2时,必须兼顾接收灵敏度和AGC控制范围。

TA7641BP的应用电路如图12所示。也是采用分离中频滤波的方式,T3是中频放大器输入端的中频滤波器,T4是中频放大器输出端的中频滤波器。C10是AGC电容,由于AGC起控电平已在集成电路内部确定了,外部不用调整。为提高输出功率,该集成电路在功放电路中特别设计了自举电路,将自举电压由第8端加到集成电路内部的输出功率晶体管的集电极上,以提高功率晶体管的电源电压,从而提高功率输出。R1是功率放大器的负反馈电阻,调节R1和R2的比值,可以改变功率放大器的增益。

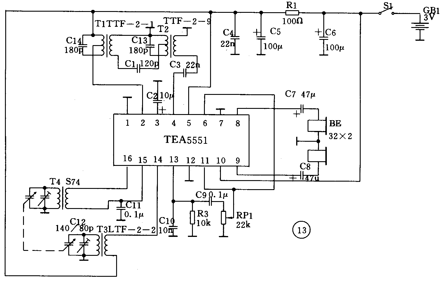
TEA5551的应用电路如图13所示。T1和T2组成集中中频滤波器。AGC控制电平也由集成电路内部确定,不用调整。C2为AGC电容。与其它的调幅单片集成电路不同,该集成电路的功率放大器采用双功放输出,既能用作立体声输出,也能用作桥接负载(BTL)输出。由于对功放部分进行了专门的设计,该集成电路的功放交越失真和高频辐射都做得相当低。TEA5551有两种封装形式。TEA5551T为16脚扁平封装,输出功率较低,适用于立体声耳机放音。TEA5551P为16脚双立直插封装,输出功率较大,可接成BTL形式用扬声器放音。

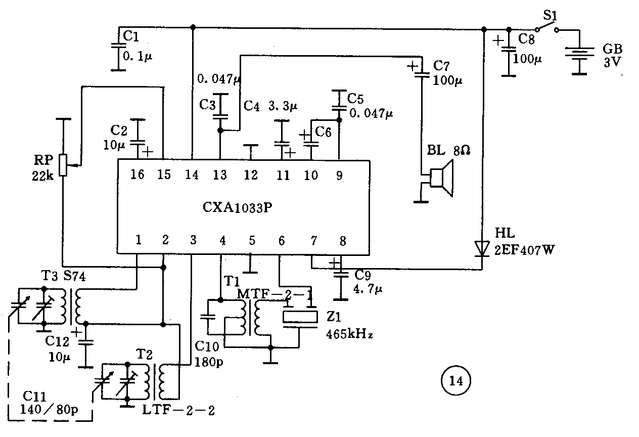
CXA1033P的应用电路如图14所示。陶瓷滤波器Z1和中频变压器T1组成集中中频滤波器。该集成电路采用直流音量控制电路,用电位器RP改变第15脚的电位就能控制输出音量。采用直流音量控制电路,可以避免电位器在旋转过程中出现杂音。调谐指示信号由第7脚输出,HL为调谐指示用发光二极管。C9为AGC电容。为方便读者,现将上面介绍的几种集成电路的主要参数列在附表内,供大家参考。(虞建达)

