本文介绍的是一种有趣的电子玩具。电路主要由KD-5609模拟鸡叫IC、KD-5608模拟狗叫IC和555时基IC组成,外围元器件较少,适合业余自制。
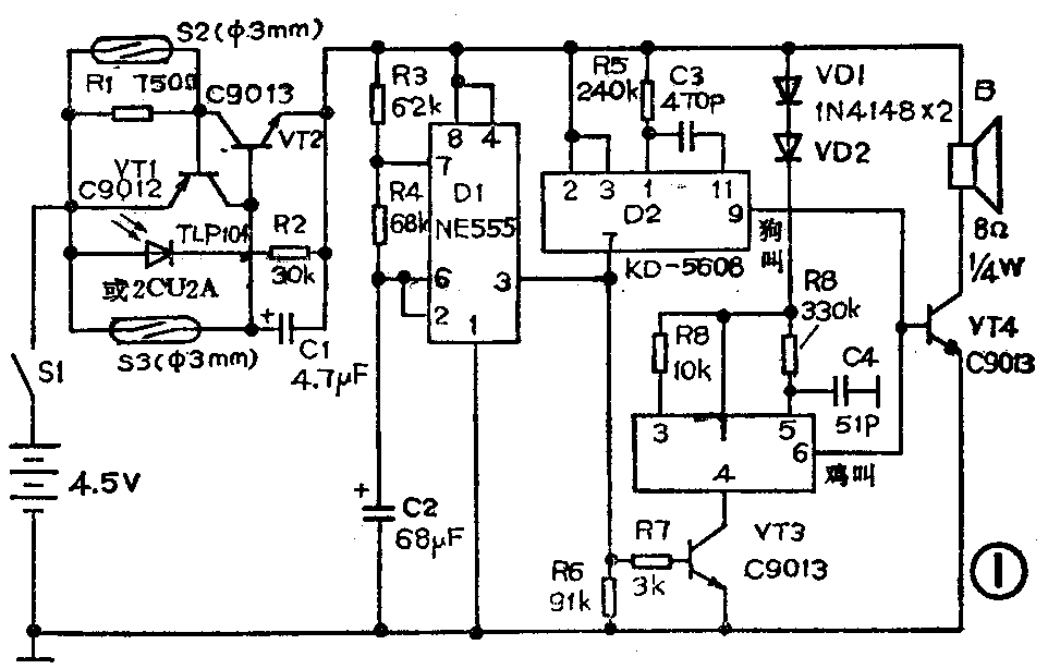
玩具电路如图1所示。当干簧管S3吸合或VG受光照阻值下降均能使VT2导通,VT1也随即导通。此时去掉上述外界条件,VT1、VT2也一直保持导通状态。时基ICDI(NE555)为主体的振荡器产生振荡,从D1的3脚发出高低变化的控制电位。高电位时,D2的7脚与电源地断开,D2不工作,而D3的4脚经VT3与电源地接通工作,产生鸡叫之声;反之低电位时,产生狗叫声。从而使玩具轮流发出鸡狗叫声。

当将永久磁铁靠近干簧管S2时,S2吸合,VT1 VT2截止,玩具断电。
电路安装无误,不需调试即可工作。需要注意的是KD-5609工作电压大于3V时容易产生自激。改变R2的阻值可改变VG对光的灵敏度,调整R3、R4可改变D1的振荡周期;从而改变鸡狗叫的持续时间。
安装时,先用三合板做一空心底座,把除VG、S2、S3以外的其它所有元器件安排在底座内将。玩具狗、玩具鸡面对面安装在底座上面。VG装在鸡或狗的头部露出感光面。S2、S3装在鸡和狗的背部靠近表面处。再用非磁性材料做一条空心棒,棒内壁用万能胶粘一块永久磁铁,这样就做成一条指挥棒。
玩耍时,将指挥棒靠近S3或S2就会发出或停止鸡狗叫声。本玩具作天亮呼唤器时可将它放在窗台上,VG的受光面冲外。作射击玩具靶时,用手电筒或发光枪照射到VG时可发出鸡狗叫声。如用闪光枪时,要求将C1断掉。C1的作用是防止瞬间干扰导致的误动作。
KD-5068、KD-5069的外形图见图2。(沈绍雷)
