多功能红外线电扇遥控器有四种功能:即遥控开关、遥控调速、遥控定时、遥控模拟自然风。使用本遥控器不需对原电扇作任何改动,是一种机外型电扇遥控器。其主要性能如下:
遥控距离≥8m;发射器静态工作电流≤1μA;接收机功耗≤0.8mW,接收机控制功率≤150w;调速档次分3档;定时时间10~45分;模拟自然风通断比5S/5S。
工作原理
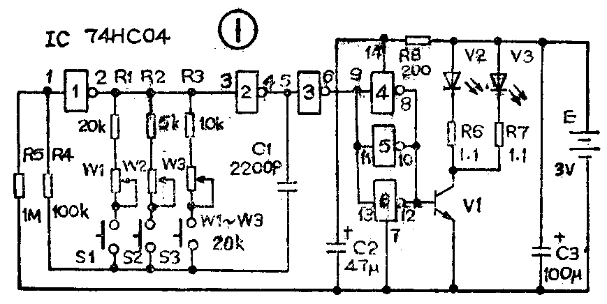
一、发射电路:电路见图1。门1门2以及R1~R3、W1~W3、C1构成自激多谐振荡器,当分别按下S1~S3时,电路产生三种不同的振荡频率。振荡信号经门3及门4~6送至V1,由V1进行功率放大后驱动红外发光二极管V2和V3向外发射红外光脉冲。使用两只红外发光二极管的目的是为了增大发射功率及发射光脉冲的作用面积。门4~门6并联是为了提高门电路的驱动能力。这里门电路采用74系列CMOS六非门74HC 04,其工作电压为2~6V,发射器电源电压选3V。如果采用4000系列CMOS六非门CD4069,其工作电压3~18V,在新电池情况下,发射器电源电压选4.5V较合适。由于R5的作用,平时,使门1的输入端为低电平,经四级非门反相后,门4~6仍输出低电平,故平时未按S1~S2时,V1是截止的,整个发射电路的静态工作电流小于1μA,故发射器省去了电源开关,仅设置三个功能控制按钮S1~S3。

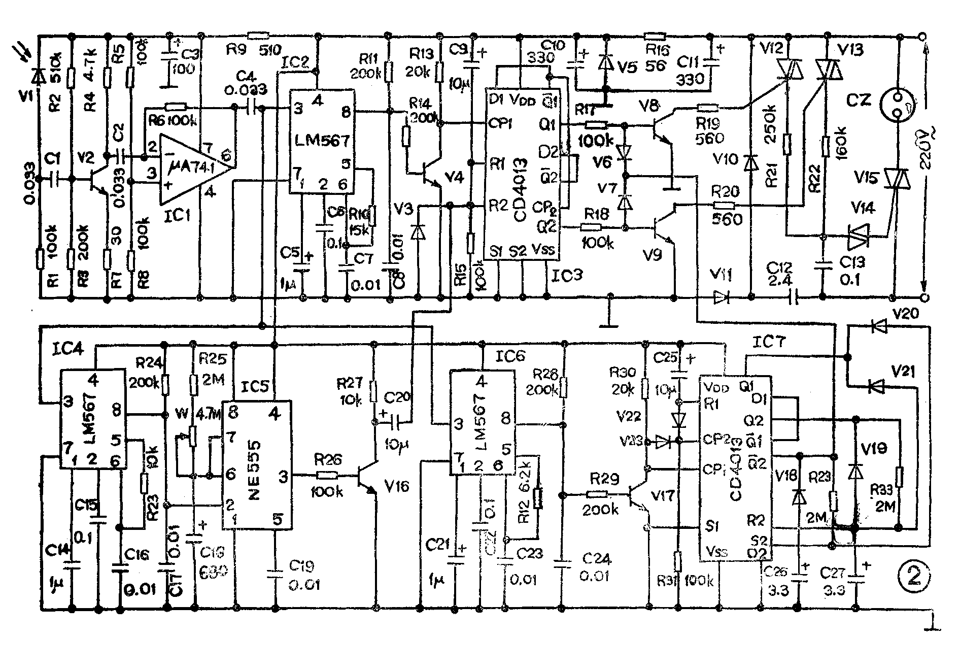
二、接收电路:接收电路如图2所示。它向前置放大器、锁相环音频译码器、三档交流调压器、定时器、模拟自然风控制器及电容降压的稳压电源等几部分构成。

V2及IC1等组成前置放大器。当红外接收管V1收到发射器的红外光脉冲时,在C1的左边便产生与光脉冲同频率的微弱电压信号,经C1送入V2及IC1构成的两极放大器进行放大。
放大后的信号经C4后分为三路,分别送至集成锁相环音频译码器IC2、IC4、IC6的3脚。当3脚输入信号的频率与压控振荡器的中心频率f\(_{0}\)相符时,其逻辑输出端8脚由高电平变为低电平,输出一个负逻辑脉冲。本电路就是利用这一功能实现对遥控信号的选频。
IC2、IC4、IC6中的压控振荡器的中心频率分别与发射电路中S1、S2、S3按下时的发射频率一致。
当按动发射器S1时,IC2的8脚输出一个负脉冲,经V4反相后变为正脉冲,作用于IC3的CP1端。计数器为“00”态,V8和V9均截止,双向可控硅V12、V13截止、C13无充电电流,V14截止,V15也截止,CZ插孔内无电压,电扇处断电状态。可见,本电路具有通电自动置“0”功能。可以保证在电网停电又送电时电扇处断电状态。当IC3的CP1到V4送来的正脉冲作用时,Q1变为“1”,V8导通,V12导通,C13的充电电阻为R21,通过V14,使V15以某一导通角导通,电扇为较低转速。若再按下发射按钮S1,IC3的CP1又得到一正脉冲作用,于是V9导通。由于V13导通,C13的充电电阻为R22(<R21),故V15导通角较V12导通时增大一些,电扇为中等转速。同理,若再按动发射按钮S1,则IC3中的CP1又得到一正脉冲,此时,V15导通角最大,电扇转速最高。若再按动一次发射按钮S1,则IC3的Q1、Q2均变为零,V15截止,电扇关掉。适当选择R21与R22可得到三档满意的电扇转速。
当按动发射器中S2时,IC4的8脚输出一负脉冲,作用于由IC5(NE555)构成的单稳态定时电路的2脚,使其进入暂稳态。单稳时间即定时时间T≈1.1RC(R为R25及W,(为C18),在10分~45分之间可调。进入暂稳态时,IC5的3脚由低电平变为高电平,V16导通,其集电极输出一负脉冲引至IC3的清零端R1和R2,为防止对IC3造成损坏,电路设置了二极管V3将负脉冲短路掉。当IC5的暂稳态结束时,也就是定时时间到时,其3脚由高电平变为低电平,V16截止,集电极输出一正脉冲,经C20引至IC3的清零端R1和R2,使IC3中的两个触发器均被置“0”,即无论原来IC3处何种状态,只要清零端有正脉冲作用,就会使IC3的Q1=Q2=0。这样当IC5的定时时间一到,电扇无论处何档转速均被关掉。
这里需指出,若不按发射器S2(定时按钮),只按S1(开关与调速按钮),仍可遥控调速与开关。定时控制可随时加入,如某一时刻按动S2后,那么经过10~45分钟,电扇自行关掉。
当按动发射器S3时,IC6的8脚输出一个负脉冲,经V17反相后变为正脉冲,作用于IC7的CP1端。经C25与R31微分的正脉冲作用于R1,使Q1=0,V20与V21导通,将第二触发器的置“0”端R2,置“1”端S2的电位箝在0.6V,方波振荡器不能起振。另外,第二触发器的CP2与R1同时受C25与R31微分脉冲的作用,又因D2接于低电平“0”上,故使Q2=D2=0,Q-2=1。由于Q-2与V6、V7的负极相联,此时V6和V7均截止,不影响V3和V9的基极电位,电扇恒速运转。当CP1受到V17送来的正脉作用时,Q1由“0”变为“1”,V20和V21截止,不再影响R2与S2端电位,方波振荡器起振。由于起振前:Q-2=1,此时Q-2通过R32向C26充电,S2端电位逐渐上升,经过t=0.69 R32 C26时间,S2端电位升至其翻转电压,第二触发器被置“1”,Q2=1,Q-2=0。C26通过V18及Q-2端迅速放电,为下次充电做好准备。同时Q2端的高电平通过R33向C27充电,R2端电位逐渐上升,经过t2=0.69 R33 C27时间,R2端电位上升至其翻转电压,第二触发器被置“0”,Q2=0,Q-2=1。然后,重复上述过程,形成振荡。振荡周期T=t1+t2=5S+5S。当IC7的Q-2为高电平时,V3和V7截止,不影响V8、V9基极电位,电扇按原转速正常运转。当IC7的Q-2为低电平时,V6和V7导通,将V8和V9的基极电位箝在0.3V左右,使其截止。电扇断电停转,但由于惯性,不是马上停转,而是逐渐减速,当Q-2又为高电平时,电扇通电,开始加速。这样,电扇通电5S,断电5S,从而模拟了自然风的效果。当不需要自然风效果时,只要再按一下发射按钮S3即可。另外,由于CP2与CP1同时受到正脉冲作用,故Q2=D2=0,从而保证了停振后Q-2=1,V6、V7截止,电扇按原转速正常运转。V22、V23在此起隔离作用。
C12、V10、Vll构成电容降压半波整流电路。
元件选用
发射电路中,V1用CS9013,或3DG130,要求β≥100。V2、V3用SE303、HIR405B、HIR305B φ5mm圆形红外发光二极管。S1~S3用5×5或6×6mm微型轻触开关,也可选用导电橡胶开关。W1~W3用微型半可调电阻。电源用两节5号干电池或蓄电池。
接收电路中,V1用PH302方形式HPT605C等圆形光敏管,φ5mm圆形较方形灵敏度高。IC2、IC4、IC6也可用NE567。三极管全部9013,β≥100。V6、V7用2AK或2AP型锗二极管。V16、Vll用1N4004或1N4007。V5用7.5V/1W的稳压二极管。其余二极管全部1N4148。C12的耐压要大于400V,可选用容量相等的电扇电容,也可用绦伦电容。V12、V13用1A/600双向可控硅。V15用3A/600V双向可控硅,如TLC336、TLC386等。V14用2CTS型双向触发二极管。C13耐压要大于160V0R16用1/2W的,其余电阻用1/8W的。
调试要点
发射机调试:分别按动S1~S3,测量电路总电流在60mA~80mA,表明发射电路工作基本正常。
接收机调试:首先测量V5两端电压,应在7~9V之间,若超出此值应更换V5,过大或过小均会造成锁相环LM567工作不正常。还要注意V5焊接一定要可靠,不可出现开路现象,否则,电路会出现较高电压损坏器件。然后测量IC2,IC4、IC3的8脚电位,均应在3.5~4V左右,否则应检查IC及有关器是否完好。

然后,让电扇处于某一转速,短路一下C17,观察是否经过45分钟自行关掉(W旋至最大)。若不满足要求,可改变R25、W、C18来调整。
必须注意,调试接收机时,人体不得触及电路,以免发生危险。
发射机与接收机联调:将发射机发射管面对接收机接收管(不必正对),相距8m~10m远,按下S1,调节W1,使接收机中的IC2的8脚变为低电平,停止调节。因距离较远,仪表指示不易看清,可按图4在IC2的8脚与正电源之间接一指示电路,LED亮时,表明8脚为低电平。(苏长赞)
