为了改善音响系统的音色、音质,可以借助CD测试唱片的播放来作主观听音评价,根据评价结果对音响系统作必要的调整。
在正式测试、试听之前,首先应使音箱的摆位正确。正确的音箱摆位大致是这样的(有些结构特殊和采用其它设计原理的音箱除外),举占多数的长方形居室为例,应首选纵向摆放(见图1)。设居室的宽度为x,长度为y。两音箱扬声器中心点间的距离应在0.6x左右。距离太小,音场拥挤,立体感不强;距离太大,在小音量时容易造成中间空缺的现象。L音箱的左侧、R音箱的右侧距墙壁0.15x左右(随音箱本身的体积、宽度不同作适当的调整)。音箱的背板距墙壁应在0.2x左右。这样摆放,可以给声音的绕射创造一个良好的条件,使音场宽阔,纵深感强,整体感好,音场可以明显脱离音箱的本来位置,产生很强临场感。

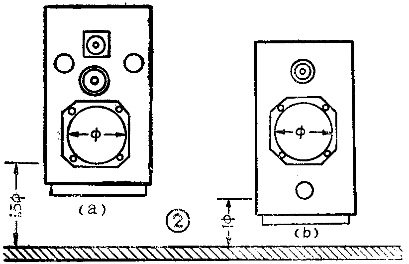
值得一提的是音箱的摆放高度问题。对于大型落地式音箱来说,其低音扬声器下沿距地面的距离应以低音扬声器的口径φ作一个参考标准。如果低音扬声器装在音箱的下部(见图2a),低音扬声器下沿与地面的距离应为1.5φ左右。对于音箱倒相孔在下方的那种形式(见图2b),其倒相孔与地面的距离大致等于低音扬声器的口径φ。

低音扬声器与地面的距离,直接影响低音的厚度和质感。如低音扬声器距地面过近,从它发出的低音音频声波被地面迅速发射,反射后的声波因时差、相位差的关系与正常播出的低音互相干扰,使低音发浑,低音的份量感减小。离地面太高,对扬声器低频可感部分有利(超低频)而可听部分与地面的反射减少了,使低音有一种不实的感觉。对于多数组合音响系统来说,其音箱底部应垫高100mm~400mm。
对于小型书架式扬声器,最重要的是高音单元的摆放位置。因其体积小巧,低音扬声器与地面的距离绝不会偏小。这时音箱的摆放高度应以高音单元与聆听位置时的人耳高度为参考标准,摆放位置略低一点较好。这样可以适当地加强小型扬声器箱的播放整体感和低音。
当音箱摆位基本正确后,就可用CD测试唱片进行测试校声。目前世界各录音公司出版CD测试唱片种类很多,仅以JVC公司出版的一种具有白噪声和粉红色噪声测试信号的CD片为例(片号SVCD—1005),介绍这两种测试信号的使用方法:
首先,将音响系统的EQ关闭或将所有的频率均衡钮均置于中央定位点处,再进行测试信号的播放。该片的第18段为白噪声测试信号。其主要功能是作相位校正之用。白噪声信号是一种很均匀的“沙沙”声。如果音箱摆位较好,连线正确,播放时的音场应该是纵向的(如图3a)。在最佳听音区内,听到的声音集中在两只音箱的中间,在正中央处的声音最强,而在每只音箱扬声器的中线以外的部分,音量明显衰减,有一种近似无声的感觉。这时如果在最佳听音区内将自己的听音位置从高到低进行移动,你会发现从上到下的音量基本上平均,只是在最低位置时,音量稍有加强。如果两只扬声器中有一只相位是反的(音箱线红、黑反接),听音的感觉将如图3b的样子,中间音量小而两只音箱附近的音量大,整个音场超过了两只音箱的摆放宽度,变成了横向的。该测试唱片的第19段是粉红噪声测试信号。当音箱摆位正确、相位无误时,该信号的音场形状应该是上小下大(如图3C),低音信号丰富,声音沉稳,并有一种靠近水库水闸时听到的超低频“隆隆”声。以上测试结果比较满意之后,就可进行音乐的播放、试听了。

在这里仅向大家介绍2张常见的、有代表性的CD唱片:
首先介绍的是DGG公司出版的著名歌剧《卡门》选曲。第一段开始时,是远处的小号声;接着是近处的小号声,其位置与音箱的横排面大致平行。当童声合唱开始后,其音色应该很有弹性,音场宽而均匀,合唱中有明显的齿音与气声。跺台板与敲击声离音箱后面很远,位置低而有力。该片的第二段是女声独唱《哈巴涅拉》。该段的4~6秒钟时,应能听到歌唱演员准备起唱前的两次呼吸声。演员的歌声音色厚实亲切,有清晰的齿音和气声。该段的1′34″~1′36″时,可以听到椅子发出的“吱吱”声。
如果童声合唱时跺台板的声音偏近,位置偏高,这是由于低音不足造成的;而女声独唱的呼吸声和椅子声听不清楚,则是由于低音发浑、偏重的结果。如果音响系统的均衡不好,高低频提升过度,则会出现人声偏小、音乐声偏大的现象。
以上所作的是音色评价,下面再作一下动态评价。选用TELARC公司出版的用合成器演奏的贝多芬作品,片号CD—80153。该片的动态范围很大。以第1段为例:该段的开始部分有微弱的模拟人声“XYYZ”,当音量开到此声清晰可辨,而乐曲进行中的低音节奏、打击乐声扎实、低沉,没有丝毫破声(削波失真后的声音),则说明播放系统的动态比较好。该片第8段开始部分的低音强有力;如低音爽快不浑、富有弹性,则说明被测系统的低频响应不错。如低音发硬、弹性不足,说明该系统低频响应不好,而低频“打嘟噜”则多由扩音机阻尼系数不够所致。以上测试均满意后,就可试听该片的第13段了。该段的动态是全片中最大的,几乎达到了CD唱片的全动态,应从小音量试选。
下面谈谈试听后,对不理想的音响系统如何进行校正的问题:
首先是相位校正。当试听时发现声场的区域、图形不正确时,先检查音箱红、黑色连线是否连接正确?其它有关连线是否正确?左、右声道有没有接反?如果全对,就要在音箱内部的分频器、扬声器连线上找找原因。打开音箱的背板或从音箱正面拆下低音扬声器,音箱内部的接线便一目了然了。用对比的方法,看看两只音箱的内部连线是否完全一致,如有问题,按分频器上的“+、-”标号予以纠正;如完全一致,那就是扬声器单元本身有反相。在常规检测中,曾发现过进口高档扬声器也存在个别相位色点标错了的现象。扬声器相位确定的方法如图4:用一块万用表,拨到直流100μA档,把两只表笔分别接在扬声器的两个接线片上(必须断开分频器,对单只扬声器进行测量),用手指沿箭头方向轻压扬声器纸盒,如电表正向指示,此时黑表笔接的就是扬声器“+”极;如电表反打,则红表笔接的是扬声器“+”极。这种方法也适用于球顶高音扬声器的测定,只是球顶扬声器行程短,球顶本身也很脆弱,测试时观察要仔细,手要轻。待相位校正完毕后,就可进行音色的校正了。

音色的校正分两部分:一部分是换传输线;另一部分是音箱本体的校正。
换线的原则是这样的:对于音箱线来说,如果音箱发出的低音含浑不清,没有力度,这常常是因为音箱线太细造成的。扩音机与音箱的配合,除了要在输出、输入功率上相适应外,还有一个重要参数就是阻尼系数。阻尼系数DF的含义是扬声器阻抗R\(_{L}\)与扩音机输出阻抗R0之比。即DF=\(\frac{R}{_{L}}\)R0,此值一般在10~50之间较好。DF过高,扬声器过阻尼,低音放不出来;DF过低,扩音机对低音的控制能力减弱,致使低音单元部分失控,低音浑浊,并掩盖了一部分中低音频,使播放的音乐空洞、无力。设DF值为10,音箱阻抗为8Ω,此时的R\(_{0}\)=8Ω;10=0.8Ω。若音箱线的电阻为1Ω,这时的阻尼系数将变为80.8+1Ω=4.44,除输出功率下降外,阻尼系数已下降到不足原DF值的一半,为典型的欠阻尼状态。所以在多数情况下,用电阻较小、直径较粗的音箱线为佳,但对于播放音色本身就发干的音响系统,换用稍细一些、阻值偏大一点的线对低音的播放有一定的补充作用。
音频信号线对于音色的影响主要有四个方面:①导线的传输速率。②导线的比电阻。③导线的比电容。④导线的RC比值。导线的传输速率主要由导线的材料和性质所决定。传输速率越高的信号线,播放音乐时的清晰度、分辨率也越高。导线的比电阻(单位为MΩ/米)越小,对阻尼系数越有力。导线的比电容(单位为pF/米)越小,传输的音频信号声像越偏前。而导线的比电容大,声像往后移。至于导线比电阻与比电容的比值,一般在1:3~3.5左右为好。这时的音色比较均衡,音场较宽,低音扎实、沉稳,高音明亮清晰,声像位置准确,整体感也不错。当RC比偏小时,有中高音前冲、音场缩窄的趋势。只要信号线与音响系统搭配合适,就能起到校正音色,改进音场的目的。一般比电阻小于30mΩ,比电容在100pF左右的信号线,对多数音响系统都适用。
最后再谈谈音箱的校正问题。有些音箱存在着一些共性的明显不足。这就是所播放的音乐,低音比较浑浊无力、层次不清;在中低频的某一频级,还会发出一种“轰轰”的特殊共鸣。这主要是音箱箱体的板材偏薄,防震加固不足,例相孔设计得不够合理所致。
具体改进方法有如下几种:
1.加固。打开音箱背板,选适当粗细的方木条在背板上粘上2条,在左右侧板上各粘上一条。胶合剂选用乳胶即可,在刚进行粘合时,为了使木条定位,可用木螺钉作辅助固定;所用的木螺钉不宜过长,在使用时蘸一点乳胶,在面板的适当位置作一些加固。
2.增添吸音材料和挂消驻波吸音材料包。在音箱内表面粘贴膨松棉、泡沫塑料等吸音材料。这种方法对放音音色发干的音箱尤其适用。对于低音浑浊、且有驻波共鸣的音箱,采用悬挂吸音材料包的方法,常可收到立竿见影的效果(见图5)。具体做法是用布做一个口袋,内部填充泡沫塑料等材料,再用木螺钉、尼龙绳等将包的四角固定拉紧,使包悬挂在音箱中部,破坏箱内驻波的形成条件。包的大小根据不同的情况,由实验决定。

3.对于低频含浑不清、软弱无力的倒相式音箱,还可以用软布、聚苯板等部分或全部填塞倒相孔,提高音箱的低音谐振频率,调整音箱内压,使音箱播放出的可闻低音增加。可感低频减少,提高音箱低频段的清晰度和力度。(耿纯)