二、识图的方法——抓住输入特点查表
有了字典,还必须学会查字典的方法。555电路速查表的使用方法是。抓住电路的输入特点去查速查表。从表1~表3看到,每一类每一种每一个单元电路都有各自的特点和代号。从电路结构上分析,它们的区别或者说它们的结构特点主要是在输入端。因此当你拿到一个555电路时,首先应该看它的两个输入端是怎样连接的:
(1)6.2端是分开的
①7端悬空不用的一定是双稳触发器。有两个输入的是双限比较器(2.1.1);一端固定、一端输入的是单端比较器(2.1.2)。
②7.6端短接并挂有电阻电容的一定是单稳类电路。这时应进一步检查:果从2端输入,就是简单的单稳(1.2.1)或是带RC微分电路的单稳(1.2.2)。果5端还有输入电压成控制电压,或者带有晶体管等辅助器件的则是单稳型压控振荡器(1.3.1或1.3.2)。
(2)6.2端是短接的
①输入无C的是施密特触发器(2.2.1)。
②输入有R和C,7端悬空的就应查看R和C的接法:虲一上一下的是单稳定时电路(1.1.1或1.1.2)。黄鹌米饔玫氖倾兄档缪箍傻鞯氖┟芴卮シ⑵鳎2.2.2)。虲一上一下,R的一端连到V\(_{0}\)端的是直接反馈型无稳电路(3.1.l)。
③7端也接到输入端成为“R\(_{A}\)—7—RB—6.2—C”的形式,一定是无稳类电路。再进一步查看:有一个电阻R\(_{B}\),RB的一端接到V\(_{0}\)端的是直接反馈型无稳(3.1.2)。A的一端接在Vcc上的就看其它元件,可能是3.2.1或3.2.2或3.2.3单元电路。果5端还有输入电压或控制电压,或者带有复杂的辅助器件的则一定是无稳型压控振荡器(3.3.1或3.3.2)。
只要按照上面介绍的方法和步骤细心地分析和核对,一定能很快地搞清电路的类别和功能。电路的类别搞清以后接着就可以进行定时时间、振荡频率等计算。这些计算公式都已在表中每个单元电路旁给出,照着公式计算是不会太困难的。
有时我们拿到的电路图中所用的符号和我们介绍的不同,或者电路画法也不是常见的原理图的画法。例如556双时基应用电路常常是画出集成块外形示意图,把元件连到各个引脚上。这样就使初学者不能一眼就看出电路的类别和功能。这时只要细心地把556电路分成两个单元,按原理图的画法重画,就能得到一张清晰可读的电路图,识别和应用就不困难了。
三、555电路复合应用举例
下面我们举几个555复合电路的实例说明怎样用这种识图方法去分析和识别电路,并通过这些实例进一步介绍555电路的应用。
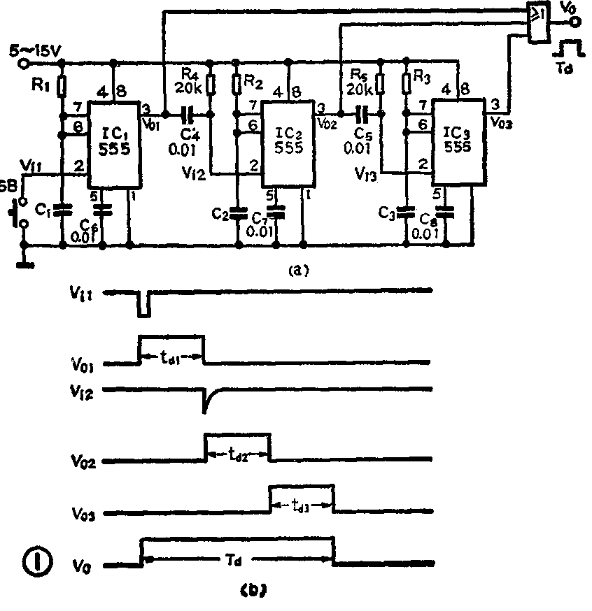
1.长延时电电路(1.2.1+2×1.2.2)
图1(a)是一个555长延时电路。它有3个单元电路。它们的输入端是“R—7.6-C”的形式。显然,第1单元是最简单的脉冲启动单稳(1.2.1);第2、3单元是带RC微分电路的单稳(1.2.2)。整个电路可给以1.2.1+2×1.2.2的代号。

它的工作原理是:平时3个输出都是0电平(稳态)。按下启动钮SB时,IC\(_{1}\)被触发启动。输出翻转成V01=1,7端开路,电源向C\(_{1}\)充电,延时开始。经过一段时间td1(t\(_{d1}\)=1.1R1C\(_{1}\))后,V01=0。V\(_{0}\)1的脉冲后沿经RC微分电路产生一个负脉冲又触发启动IC2,于是V\(_{0}\)2=1。经td2(t\(_{d2}\)=1.1 R2C\(_{2}\))后, V02=0。V\(_{0}\)2的脉冲后沿又经微分电路后触发启动IC3,使V\(_{0}\)3=1。又经td3(t\(_{d3}\)=1.1 R3C\(_{3}\))后才恢复到V03=0。延时结束。电路图上端有一个或门把这3个延时脉冲相加,从或门输出端得到信号V\(_{0}\),其脉冲宽度或延时时间是Td=t\(_{d1}\)+td2+t\(_{d3}\),因此得到的是长延时时间的信号。如3个单元电路的定时电阻、定时电容取相同的数值,则Td=3\(_{td}\)。图1(b)是它们的输出波形图。
因为一级单稳延时电路的延时时间最长只有几十分钟,所以用这种多级延时电路就能得到长达几小时的延时时间。
2.环形时序发生器(3×1.2.2)
工业控制上常使用一种环形时序发生器的部件,它能依次产生控制信号T\(_{1}\)、T2、……,到最后一个控制信号结束后又从头开始,循环不已。每个控制信号可以用来对某一工序进行控制。
图2是用555电路组成的多路时序控制器。它和图1很相似。图1是用或门把3个延时控制信号相加,图2则去掉或门,让每个控制信号作独立控制用。控制的时间可以用改变每一级定时元件数值的方法来调整。工作时只要按下启动钮SB\(_{1}\),电路就开始工作,依次送出高电平控制脉冲T1、T\(_{2}\)、T3,T\(_{3}\)结束后再接着送T1、T\(_{2}\)、T3……,循环不已。如要停止,可以按动停止钮SB\(_{2}\),使3个单元电路同时复位。

555电路组成的环形时序发生器的优点是电源电压低,功耗也低。
3.电源上下限告警电路(2×2.1.2)
图3(a)为是用556双时基电路制成的电源上下限告警指示电路。把图中两个单元电路分开按原理图画法重画成图3(b)。可以清楚地看出它们都是一端固定,一端输入的单端比较器(2.1.2)。不同的是一个用S-端输入,另一个用R端输入。因此可以给以2×2.1.2的代号。

为了更容易说明,下面我们用实际数字来说明它的工作原理。假定被监视的电路板的正常工作电压是6伏,要求电压低于5.4伏和高于6.6伏时都要告警。根据这个要求,第一步先调整RP\(_{1}\)使C1上的电压V\(_{i1}\)=3.6伏,然后按一下SB1,因为V\(_{i1}\)低于上阈值电压(\(\frac{2}{3}\)Vcc=4伏),所以ICa的输入成为R\(_{1}\)=0、S-1=0,输出V\(_{0}\)1=1,LED1灯不亮。第二步再调整RP\(_{2}\)使C2上的电压V\(_{i2}\)=2.2伏,然后按SB2,这时因为V\(_{i2}\)高于下阈值电压(1;3Vcc=2伏)所以IC\(_{b}\)的输入成为R2=1、S-\(_{2}\)=1,输出V02=0,LED\(_{2}\)灯也不亮。这是电源电压正常时的情况。
如果由于某种原因电源电压突然降低,例如降到5.3伏。这时整个电路内部的上阈值电压变成V\(_{T+}\)'=\(\frac{2}{3}\)Vcc'=3.53伏。由于电容器上的电压不能突变,C\(_{1}\)上的电压Vi1在这个瞬间仍是3.6伏,它已经高于V\(_{T+}\)',于是ICa的输入成为R\(_{1}\)=1、S-1=1,输出翻转成V\(_{0}\)1=0,LED1灯点亮指示告警。同样,当电源电压突然上升到6.7伏时,新的下阈值电压V'\(_{T}\)-=1;3Vcc'=2.23伏。电容C\(_{2}\)上的电压Vi2在这瞬间仍是2.2伏,于是IC\(_{b}\)的输入成为R2=0、S-\(_{2}\)=0,输出翻转成V02=1,LED\(_{2}\)灯点亮指示告警。如在两个输出端接入压电陶瓷蝉鸣器,就能得到声光同时告警的效果。
4.光电告警电路(2.2.1+3.2.1)
图4是双时基光电告警电路。把双时基电路两个单元的引脚和单时基555电路对照后看到,IC\(_{a}\)的输入接法相当于555电路6.2端短接又不带电容,所以是施密特触发器(2.2.1),ICb的输入则是典型的间接反馈型无稳(3.2.1)。因此整个电路的代号是2.2.1+3.2.1。

它的工作原理是:光敏电阻R\(_{1}\)在无光照时电阻为几~几十兆欧,V01=1,VT导通,IC\(_{b}\)的MR-(10)端通过R5、VT接地,IC\(_{b}\)复位不振荡。R1受光照时电阻下降到几~几十千欧,IC\(_{a}\)输出翻转成V01=0,VT截止,IC\(_{b}\)被解除复位而振荡发声告警。因此只要把光敏电阻放进箱柜抽斗式公文包内就能起防盗告警作用。
如去掉VT,把V\(_{0}\)1直接接到ICb的MR-(10)端,电路的逻辑功能和刚才的正好相反,成为有光不发声、无光发声。这时如用220伏电源点亮的小灯照着光敏电阻,这个555电路就成为有电时无声、停电时发声的停电告警电路了。
5.电子触摸游戏机电路(1.2.1+3.1.1)
图5是双时基电子触摸游戏机电路。IC\(_{a}\)是单稳定时电路(1.2.1),ICb是直接反馈型无稳电路(3.1.1)。平时IC\(_{a}\)的输出V01=0,使IC\(_{b}\)复位不振荡。把ICa的输入感应片A贴在画象的眼睛、鼻子或耳朵上,让游人蒙住眼睛上前用手摸。如摸到A点,人体感应的负脉冲输入IC\(_{a}\),输出翻转成V01=1。于是IC\(_{b}\)被解除复位而振荡发声。同时电源向C1充电,经过几十秒或几分钟后IC\(_{a}\)又恢复到V01=0,IC\(_{b}\)又被复位而不发声。发声时间长短可用RP1调整。

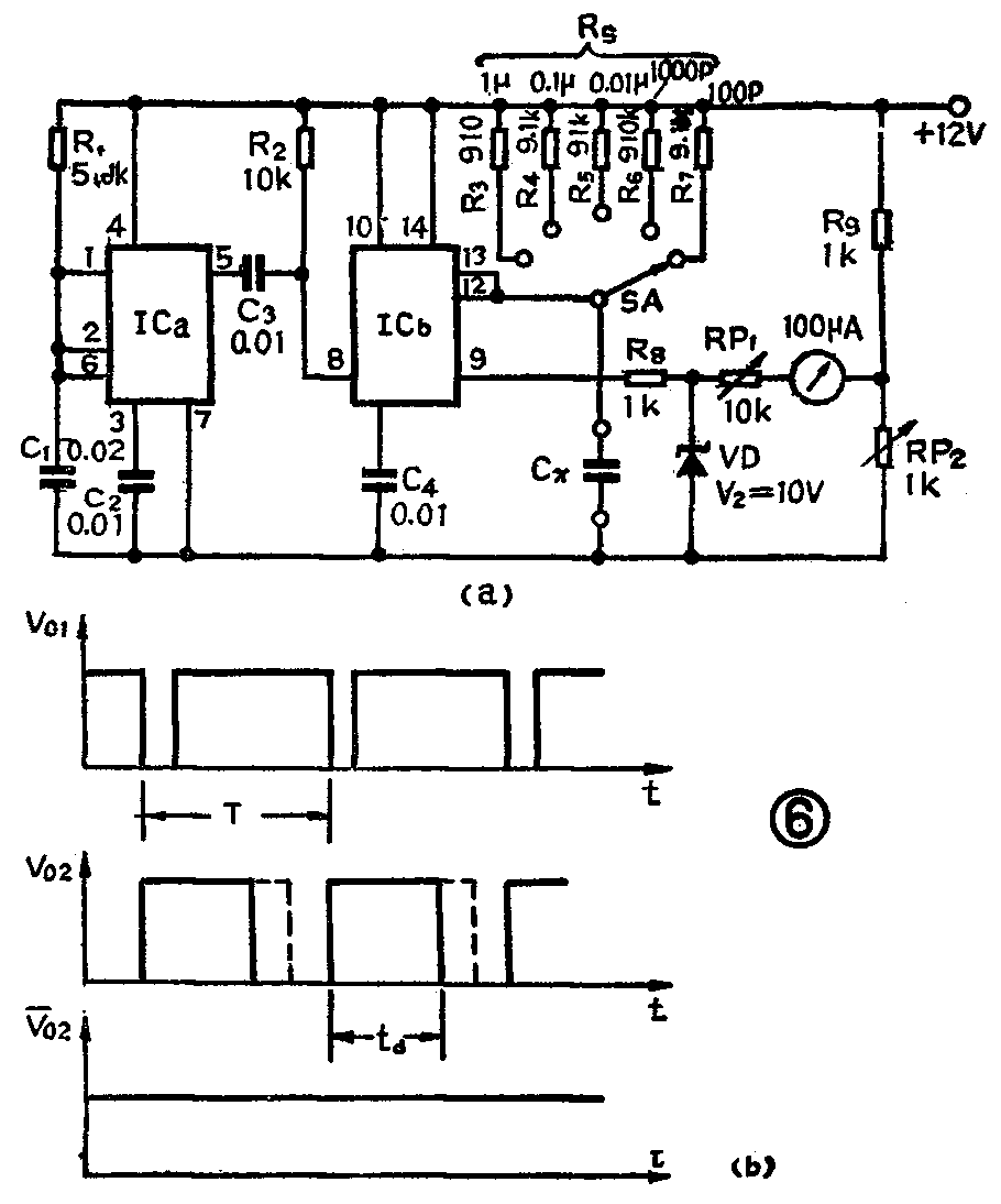
6.电容测量仪(3.2.1+1.2.2)
图6(a)是双时基电容测量仪。IC\(_{a}\)的1、2、6三端短接相当于555电路的7、6、2三点短接,所以它是只有一个电阻KA的间接反馈型无稳的变型电路(3.2.1)。IC\(_{b}\)是带RC微分电路的单稳定时电路(1.2.2),它的输入电路被画在右侧。整个电路的代号是3.2.1+1.2.2。

电路的工作原理是:IC\(_{b}\)在没有输入时输出V02=0,接地端DIS(13)接地,C\(_{x}\)上电压为0。ICa的振荡频率约是100赫(周期100毫秒),因为只有一个电阻R\(_{A}\),振荡电容C1的充电时间长放电时间极短,所以输出是占空比很小的矩形脉冲,见图6(b)。这个矩形脉冲的后沿经R\(_{2}\)C3微分电路后产生负脉冲触发和启动IC\(_{b}\),使ICb的输出翻转为V\(_{0}\)2=1,接地端DIS(13)开路,电源通过Rs(R\(_{3}\)~R7中的一个)向C\(_{x}\)充电。充电时间td=1.1 R\(_{s}\)Cx。从公式看到,R\(_{s}\)选定后,输出脉冲V02的宽度是和C\(_{x}\)的大小成正比的,或者说表头M中的电流(脉冲电流平均值)是和Cx成正比即C\(_{x}\)越大,电流越大,电流表指针偏转也越大。因此把电流表的刻度按照电容量的大小重画后,这个电路就成为一个电容测量仪。为了防止V02输出电压的波动影响测量精度,在输出回路里接入一个超限幅作用的稳压管VD,它使电流表里的电流大小只和t\(_{d}\)、即Cx的大小有关,而和输出V\(_{0}\)2的幅度无关。
这个仪器用调节量程开关SA选择不同电阻的方法来变化量程,可以测量0~100p/1000p/0.01μF/0.1μF/1μF的电容量。电路中的RP\(_{1}\)是用来调整满度电流、RP2是表头调零用的。
通过以上各例看到,这种识图方法确实实用、方便,能帮助我们很快地判断555电路的类别和功能。同时还可以看到,555时基电路可以组成具有各种不同功能的电路。说明555时基电路确实是性能优异、功能多变、使用方便、用途广泛的一种电子器件。它将越来越受到人们的欢迎和重视。(俞鹤飞)