电磁摆作为廉价的家庭新颖别致的小摆设,确实别具一格。它取材容易、制作简单,给人以静物中有动的新鲜感觉。
工作原理
当磁性摆锤停止时,如图3所示。晶体管be间无电压,集电极电流为零(be间虽有L1,但其直流阻值甚小,如同短路,故V\(_{eb}\)=0。即无顺向电压供给,此时Vbe为逆向电压,故管呈断开状态)。

当磁性摆锤N极移近线圈而有变化的磁力线切割L1而感生电压,其极性如图4所示上“-”下“+”,此电压加在管eb间为顺向偏压,电流由e流向b,管导通。线圈中的磁力线使之成为电磁铁上“N”下“S”,则摆锤被推斥,此即“来者拒”。

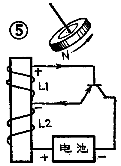
当磁性摆锤N极离开线圈而有变化的磁力线切割L1而感生电压,其极性如图5所示上“+”下“-”,此电压加在管eb间为逆向偏压,管截止,集电极无电流。

晶体管基极电路的微小基极电流及输入的检磁小电流,通过晶体管的直流放大作用在集电极电路得到大的励磁电流。从而产生强的磁场,对磁性摆锤周期性地施力推斥,不断补充能量,使摆锤得以持续摆动。
每当磁性摆锤摆动到干簧管部位时,簧片吸合,LED管发光。亦即每个周期LED闪亮一次。
启动电磁摆时,可待磁性摆锤静止后使其稍偏离平衡位置放手即可开始工作,随摆幅增大到一定值时,干簧管工作,LED闪亮,小磁针被磁性摆锤吸动摇摆,活灵活现一只昆虫在眨眼,昆虫的“吸器”(小磁针)左右搜寻,蠢蠢欲动……。
制作方法
1.检磁励磁线圈:纸质线框内经40mm,外径60mm,框高40mm。用线径0.1mm和0.2mm的高强度漆包线各一根,同向并绕约2000匝,线径为0.1mm绕成的为L1,线径0.2mm绕成的为L2;把L1的末端与L2的始端绞合起来焊一根引出线即为②头,L1的始端焊一根引出线即为①头,L2的末端焊一根引出线即为③头。
2.摆锤。用长约1米的尼龙线一端打结穿入一直径约20mm的铁片中心,使旧扬声器磁环中心与园铁片中心对齐,磁环将牢牢吸住铁片,悬挂尼龙线即得磁性摆锤。
3.装配:按原理图1接好电路,(+),(-)引线接电池盒B的3V电源E1。另3V电源E2按图2接干簧管和发光二极管,将干簧管装在电池盒尾部如图6所示,发光管装在检激磁线圈上装饰成昆虫的“眼睛”。检激磁线框及晶体管作为一个整体装饰成昆虫的驱体A。在两发光管间粘固一弯曲的大头针在驱体A上,针尖朝上作为小磁针的轴。小磁针可绕轴自由旋转,装饰成昆虫的“吸器”。将电池盒与“昆虫”(包括驱体A、“眼睛”、“吸器”)放置如图7,间距约10cm。


整个装置装配如图8,从三角支架顶部悬下摆锤,使摆锤稍偏离平衡位置起动后即可持续摆动下去,摆锤正常等幅摆动时激磁系统工作电流在200μA~400μA间摆动则为正常激磁。

电磁摆线上若装嵌凸形塑料片作为“眼球”,在三角架上对应部位剪贴一彩色猫头鹰(眼部挖空)则随着电磁摆的持续摆动,猫头鹰双眼也左右晃动,同时下部“昆虫双眼”(LED)眨动,“昆虫吸器“左右搜寻摆动,再加上磁性摆锤的持续等幅振动,这样在空间四处形成立体交叉形象生动的动态玩具。(袁中和)

