本文介绍一种只用少量元器件构成的逻辑分析装置,不需改动原单踪示波器内部电路就可以使其具有显示逻辑值“0”或者“1”的特殊功能。本装置的特点是:电路结构新颖、实用效果好、直观性强、同时提高了原示波器的使用价值。
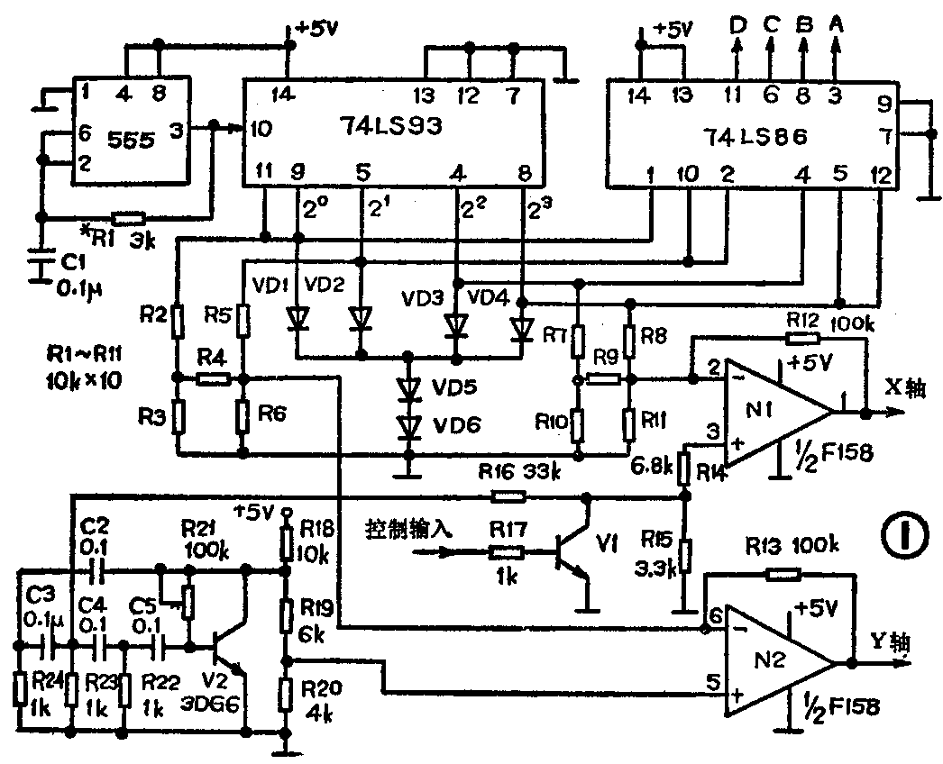
工作原理如图1所示。由555集成块构成的1kHz振荡器用作示波器的外部时钟,并驱动74LS9316分频计数器和74LS86四个双输入异或门,所形成的数字信号供给R2~Rll组成的梯形网络产生双四值阶梯波。从74LS93计数器输出的2\(^{0}\)~23四个权位码,依次地循环通过74LS86四个异或门输出端A~D形成地址扫描信号,用来驱动被测逻辑电路。

与此同时,再将梯形网络产生的波形送到F158运算放大器N1和N2的倒相输入端口,用以得到示波器水平与垂直放大器所需要的阶梯偏转电压,来确定示波器电子光点在屏幕上初始位置的扫描,为保证这些光点行与列能成均匀矩阵且使逻辑字符不倾斜,采用了VD1~VD6箝位二极管。使计数器每一根引线的输出电压幅度在它的整个开关周期内保持恒定和彼此相等。将一个工作频率约20kHz的正弦/余弦发生器接到运算放大器N1和N2的同相“+”输入端。正弦信号直接加到N2输入端;而余弦波信号则通过V1控制开关加入。
在示波器和附加电路之间仅用两条信号线及其公共屏蔽地线联接而成,如图2所示。被测数字电路输出信号只需接到附加电路的控制输入端口;而附加电路的X和Y输出对应到示波器的X、Y轴输入接口。当附加电路给定的一组动态逻辑变量Ai~Di送到被测数字电路入口,使某些故障点为逻辑“0”时,运算放大器N2所输出的则是被梯形网络产生的电压偏移了的正弦彼,A2输出的是被偏移了的余弦波。因为这两个波形频率相等而相位差是九十度。所以在示波器给定的初始位置上产生的叠加信号是熟知的李沙育图形,即为一个圆环,可以设定为逻辑“0”值。

如果被测数字电路故障点处在逻辑“1”,则V1导通使N1的输入端保持低电平,而N2的波形以20kHz频率正弦变化。这样,示波器上的信号就在给定的区域内成为一条垂直线段,可以设定是逻辑“1”值。(刘奇光)