本文介绍的SD-4型圆珠笔收音机,结构独特、外形新颖,圆珠笔可自由伸缩,集收音机,书写笔于于一体。它的电路原理及SD881单片调幅收音机集成电路见1990年《无线电》第6期“微型收音书写两用机”一文。
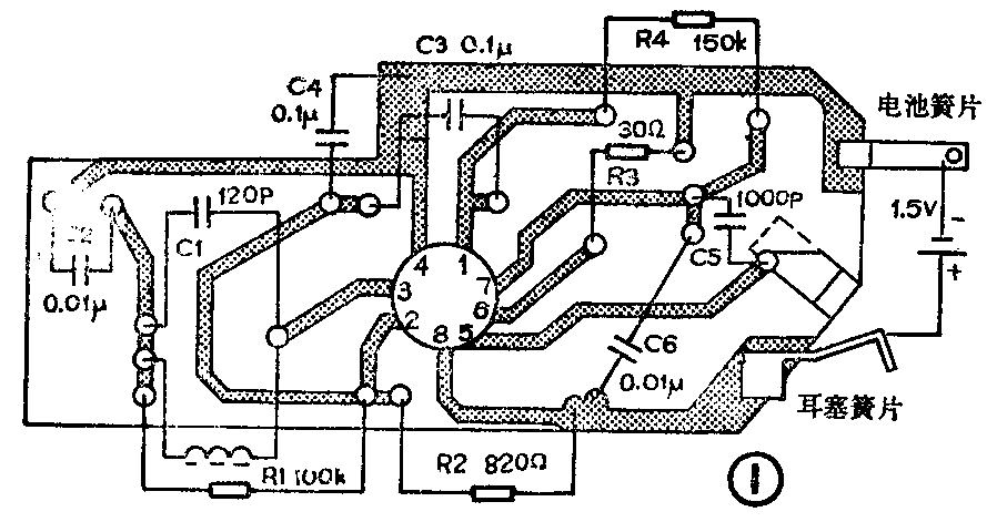
安装与调试:图1是印制电路板图,图2是整机装配图。磁棒为φ5×25mm,电源是AG13扣式电池,线圈用φ0.07mm漆包线在φ6mm塑管上密绕177圈,耳机选用75Ω~150Ω高灵敏度中阻耳机,集成块选用SD881专用集成块,全部零件按图1焊接无误后基本不用调试。耳塞插头插入后,B、C、D三簧片应接触可靠,插头拔出后,簧片应断开。


本机采用调感式调谐。即天线线圈固定不动,将磁棒插入磁棒骨架并用塑料粘胶剂紧配式粘合,调节调谐轮,带动齿条(齿条与磁棒骨架为一体)、磁棒,并由齿条在塑壳刻度指示槽中的滑动部分指示频率刻度。装配时,只需校正低端540kHz刻度位置或高端1600kHz刻度位置便可保证接收范围为540~1600kHz,具体可根据各地区的电台情况,选择一个电台,将齿条刻度指示对准其相应频率位置,再调整线圈位置,并用塑料粘胶剂固定线圈即可。图2中A为电池负极簧片,B为电池正极簧片(不用焊接,直接按图插进定位柱缝隙间),C为输出音频簧片,D为电池正极开关簧片。
若有自激现象,可适当增大R2阻值(一般取820Ω),或者在线圈低端粘贴4×5mm2香烟铝箔即可消除。改变音量大小,可适当改变R3阻值(一般取30Ω~100Ω)。
本机选用标准圆珠笔芯,使用时,推动笔卡于自锁位置,笔芯伸出即可书写。将笔书退出自锁位置,笔芯自动弹回。(刘军)