160米波段无线电测向活动由于所用设备简单易制、操作方便及价格便宜,在我国得以迅速普及。
开展160米波段无线电测向活动,一般要有信号源和测向机。这项活动要求运动员找到相距500~1000米的三个台(信号源),这三个信号源分别发出“.”、“..”、“…”信号,这些信号频率分别是1810、1840、1870kHz。训练时,初学者可以先找一个或两个台。训练场所宜选择对电波传播影响不大的开阔场地。
下面对160米波段无线电测向活动中经常使用的测向机和信号源进行介绍。
160米波段无线电测向机电路简介
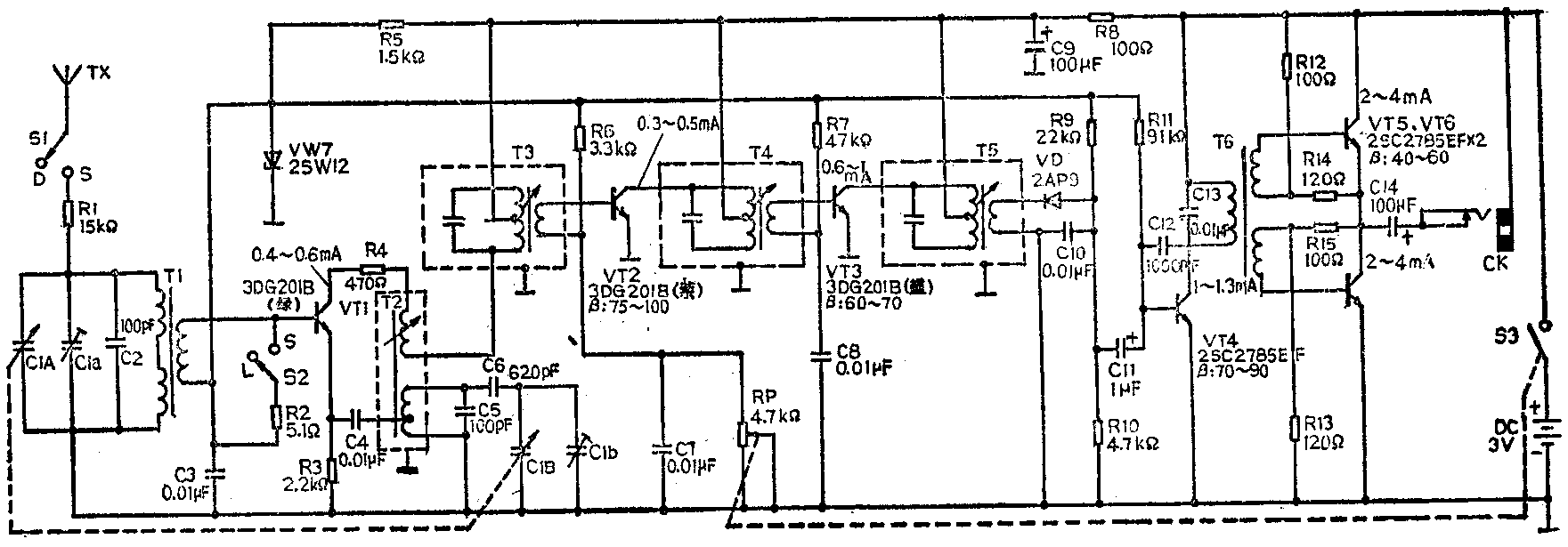
160米波段无线电测向机的工作原理与普通收音机的工作原理十分相近,附图所示的是莺歌牌160米波段无线电测向机电路原理图。该机与收音机的很大不同之处在于天线。

测向天线的作用是接收信号源发出的无线电信号,并对来自不同方向的无线电信号感应出不同的感应电动势。由于160米波段信号源发射的信号频率接近于中波广播的频率上限,所以160米波段无线电测向机采用直立拉杆天线和机内磁性天线组成复合天线来判别方向。天线性能的好坏决定整个测向机的方向性好坏。160米波段无线电测向机的磁性天线与收音机的结构相同,在φ10×120的磁棒上,用硬纸做一个线圈骨架,用φ0.05×7股的漆包线平绕32匝和5匝,形成L1和L2。还有一种绕法是在磁棒上做两个线圈骨架,其中一个定在磁棒一端1/4~1/3处;另一个放在磁棒的另一端并可移动。把L1平均分成两组,顺同一方向分别绕在这两个骨架上,两部分之间的线不剪断。在将线绕上去之前,先在骨架上卷一层铝箔,注意铝箔首尾之间必须留有一道宽约1mm的缝隙,不可短路。在铝箔上压一根裸导线,整个线圈绕制完成后,分别将两个骨架上裸导线相连并接地。这样在线圈和磁棒之间就形成了一个屏蔽层,从而有效地防止了杂波对天线的影响。另外采用加长磁棒还有助于提高灵敏度。为了获得单一方向,测向机还需要一根直立天线,一般采用拉杆天线,也可用其它硬导线代替,位置应和磁性天线垂直。
电路中,晶体三极管VT1工作在高频段,要求有足够高的截止频率,穿透电流应在50微安以下,电流放大倍数在50~60。达不到要求,会带来噪声,自激啸叫、工作不稳定等现象。VT2、VT3用作中频放大管,工作在中频465千赫,这部分决定了整机的灵敏度。VT4是前置低放管,工作在20~20000赫的音频范围内,它的作用是进行电压放大,推动末级功放管工作,故对整机增益影响较大。
调整时,先调整各偏置电阻,使相应晶体三极管的集电极电流符合图中要求,这样就确定了直流工作点。打开160米波段无线电测向信号源,应能听到信号,此时可进行中频调整:加大距离,顺序调整T5、T2、T4,使收听到的信号声音最响。将单、双向开关S1置于“D(双向)”位,近、远程开关S2置于“L(远程)”位,进行高频频率覆盖调试。低端调T2,高端调C1b,借助信号发生器将频率覆盖在1760~1920千赫范围。接着进行同步跟踪调整;将频率调谐于1810千赫,调整线圈在磁棒上的位置,使输出信号最大;然后将频率调谐于1870千赫,调整C1a,使输出最大。反复调整后,用石蜡封住磁棒线圈。测向机的“单向”形成条件是:垂立天线长度所决定的感应电动势与磁棒线圈的感应电动势的大小相等,并且由调相电阻R1决定的相位要相同。调整R1使测向机具有良好的方向性。
160米波段无线电测向机的维护和修理
为了使测门机具备良好的状态,延长使用寿命,应做好如下日常维护工作:
1.不用时,应及时关掉电源;长期不用时,应将电池取出;如发现电池漏液,应及时用酒精棉球擦净。
2.在阴、雨等潮湿天气下使用测向机,应注意防潮。一旦受潮,可打开测向机在白炽灯下烘烤。测向天线应抹少许缝纫机油,以防天线生锈。
常见故障现象及修理方法:
1.完全无声:这时,应检查耳机是否断线,电池接触是否良好,电池电压是否正常。测量电池电压时,应将测向机电源开关断开。还可测整机电流,正常值应为10毫安左右。
2.声音很小:如打开电源开关时能听到很弱的“喀”一声,且电池电压也正常,可用小改锥从电路后级向前级逐级触碰三极管的基极。耳机中应能听到“喀啦”声,且越往前级声音越响。到哪一级不响了或声音小了,就重点检查这—级;本机电路中,中频变压器T6经常出现外壳假接地,造成声音变小的故障。
3.自激啸叫:本机的增益受环境影响会发生变化,如在高温天气下容易出现自激啸叫现象。排除的方法是调整R6、R7的阻值,直至啸叫声消除。(任德祥)