555无稳态工作方式是3种工作方式中应用最广的一种。它被大量用作信号发生器、音响告警电路、电子玩具、游戏机、家电控制、自动控制电路、电源变换器和压控振荡器等。
1.信号发生器电路
用555电路制成各种信号发生器正是555无稳电路的专长。它的振荡频率范围可以从零点几赫到1兆赫。它的波形可以是方波、矩形波、锯齿波、三角波,甚至还可以得到近似的正弦波。因此,可以用它做成各种信号源、时钟脉冲源或测量仪器中的信号源。
(1)音频信号发生器
图1是一个最简单的音频信号发生器。它的振荡频率可按下式计算:
f=1.443/(R1+2R2+2RP)C1

按给出的元件数值,调整电位器RP可使振荡频率在300赫~10千赫范围内变化。因此可以用它作为调测收音机的音频信号源。
(2)中频信号发生器
把图1电路中元件的数值减小,便得到图2的中频信号发生器。如改用交流供电(见图中虚线部分),用全波整流而不加滤波电容,输出端得到的是被100赫调幅的465千赫中频信号,可以用作调整收音机的中频信号源。

(3)锯齿波发生器
图3是一个能同时输出锯齿波和矩形脉冲的信号发生器。图中的555电路按无稳态工作。电容C1的充放电曲线就是锯齿波。但因为电容充放电是按指数规律变化的,所以曲线的上升和下降部分都不是直线。为了得到线性的锯齿波,在555的放电端DIS(7)加一级射极跟随器VT1,从射极跟随器的射极输出锯齿波。同时经C2把输出送回到R1和R2之间形成正反馈,使V\(_{0}\)2端的输出成为有较好线性的锯齿波电压。

除了锯齿波电压以外,从555的(3)端即另一个输出端V\(_{0}\)1可得到矩形脉冲波。
2.音响和告警电路
(1)电子门铃和电码练习器
在图1音频信号发生器的输出端接一个扬声器BL,把电源开关换成按钮开关便成为一个电子门铃。按一下按钮开关,电路就振荡、扬声器BL就发声。如果把按钮开关换成击打式电键,把振荡频率调整在800赫左右,便成为一个莫尔斯电码练习器。
(2)警笛声电路
救护车的警笛声是高低音两种音调交替出现的结果,交替的周期大约是1~1.5秒。图4是用一块双时基电路CB556制成能模拟救护车警笛声的电路。CB556的左半部IC\(_{a}\)组成一个约为1赫的低频方波振荡器;右半部ICb则组成一个约为几百赫的音频振荡器。

IC\(_{a}\)的输出V01加到IC\(_{b}\)的电压控制端VC上,使音频振荡器的输出频率受V01的控制。当V\(_{0}\)1为高电平时,ICb的阈值电压被提高,充放电时间加长,V\(_{0}\)2的输出频率降低。当V01为低电平时,IC\(_{b}\)的阈值电压被降低,充放电时间缩短,V02的输出频率被提高。于是扬声器中可以听到“滴—嘟—滴—嘟”的声音。图4(b)的示意图表示出V\(_{0}\)2的输出频率是受V01的控制而变化的。
救火车和公安警车的警笛声只是频率高低和交替时间长短的不同。因此模拟救火车或公安警车的警笛声电路除了元件数值不同外,电路结构、工作原理和救护车警笛声电路基本相同。
(3)防盗告警电路
在音响电路的基础上增加各种辅助的防盗控制元件就组成各种防盗报警器。
图5左图的电路用一根细铜丝作控制元件。把细铜丝接在抽头或橱门的暗处。正常情况下,铜丝使555的总复位端MR-(4)接地,电路处于复位状态,没有振荡输出,扬声器BL无声。一旦铜丝被盗贼碰断,555电路立即解除复位,电路振荡,扬声器BL发声报警。

图5右图的电路是用光敏三极管VT1作控制元件。把光敏管装在抽斗或橱门内,平时不见光暗阻很大,相当于开路,电路不起振扬声器无声。一旦抽头或橱门被打开,光敏管受到光照,光电阻迅速下降到只有几十千欧,振荡器有输出,扬声器BL发声报警。
其它报警电路,如液位报警、烟雾报警、煤气报警、过压报警、速度上限报警、火情报警等,只是控制元件、传感器和警戒方法有所不同,电路结构与工作原理和防盗告警电路大同小异。
3.家电控制和自动控制电路
(1)红外遥控发射器
图6是用555电路制成的红外遥控发射器。实际上它是一个脉冲振荡器,用输出脉冲使红外发光管LED发光。因为RP》R1,所以电容C1的充电时间t\(_{1}\)远大于放电时间t2。在C1放电的短暂时间内相当于输出一个负的窄脉冲,使LED因通过较大电流而发出很强的红外光。LED应该使用HG500型红外发光管。

(2)摩托车转向闪光灯电路
图7是自制的摩托车或自行车转向闪光灯电路。这是一个约为1赫的低频振荡器。图中SA是双刀三位开关。开关在中间位置时,电源被切断不消耗电能。拨向左侧时左灯HL1按每秒1次的频率闪亮,拨向右侧时右灯HL2闪亮。

如果电路改用双时基电路,再增加一个音频振荡器,使它在闪亮的同时发出“滴—滴—滴”的声音,效果更好。
(3)直流电机调速电路
图8是直流电机调速控制电路。这是一个占空比可调的脉冲振荡器。电机M是用它的输出脉冲驱动的,脉冲占空比越大,电机电枢电流就小,转速减慢;脉冲占空比越小,电机电枢电流就大,转速加快。因此调节电位器RP的数值可以调整电机的速度。如电机电枢电流不大于200mA时,可用CB555直接驱动;如电流大于200mA,应增加驱动级和功放级。

图中VD3是续流二极管。在功放管截止期间为电机电枢电流提供通路,既保证电枢电流的连续性,又防止电枢线圈的自感反电势损坏功放管。电容C2和电阻R3是补偿网络,它可使负载呈电阻性。整个电路的脉冲频率选在3~5千赫之间。频率太低电机会抖动,太高时因占空比范围小使电机调速范围减小。
4.电子玩具和游戏机
这类电路都是利用振荡电路产生的脉冲,通过声、光或机电元件的变换,或是发声,或是闪光,或是做出各种动作达到娱乐的目的。
(1)发声玩具
图9是一个由光线强弱变化控制发声的玩具。它是一个音频振荡器,频率由R1、C1和光敏三极管VT(3DU型)的内阻R2决定。晚上把它放在灯光下移动时,不同的光照使R2变化引起振荡频率的变化。扬声器会发出各种声音:有时象警笛,有时象雷鸣,有时象鸟叫。

(2)闪光灯玩具
图10是一个输出频率从0.3~50赫可调的低频振荡器。它的工作原理和摩托车转向灯基本相同。通电后可使红、绿灯不停地闪亮。调节电位器RP可调整闪动的频率。人眼能分辨的能力是每秒闪动不超过10次。

把这个闪光灯装在玩具动物的眼内便制成两眼闪闪发光的可爱小动物玩具。把它装入鱼缸内便成鱼缸灯。如果改用双时基电路,使一个振荡器管闪光,一个管发声,便可制成各种声光玩具和游戏机。如闪光发声的小动物、闪光电声枪、光控电子鸟、光控电子琴、穿圈游戏机等。如用极低频率的脉冲去驱动继电器或电磁铁,还可做成各种会动作的玩具。
5.电源变换电路
电源变换电路是指能进行交/直流变换,电压极性变换和电压数值变换的电路。555电源变换电路能完成的只是后面两种功能。它的最大优点是成本低廉,电路简单,不需要电源变压器。它的缺点是输出电流比较小。
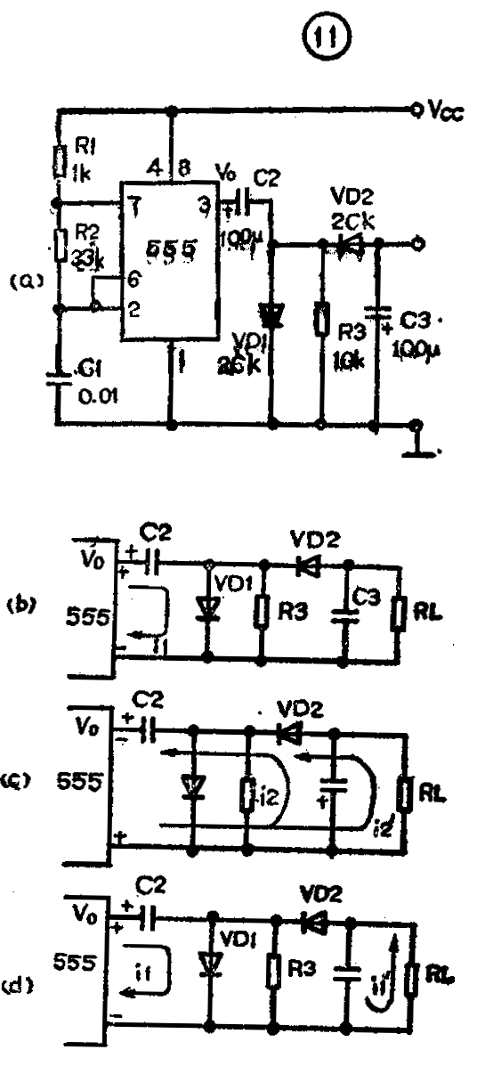
(1)555电压极性变换电路
图11(a)是用555电路组成的无变压器电压极性变换电路。图中555电路是一个2千赫频率的振荡器,把直流电压变成交流电压再在输出端用倍压整流取得极性相反而数值约为直流电压一倍的电压。它的工作原理是:

①刚开机时,输出V\(_{0}\)=1。VD1导通、VD2截止。V0向C2充电,C2上电压为V\(_{0}\)。见图11(c)。
②输出V\(_{0}\)=0时,VD1截止、VD2导通。V0和C2上的电压叠加起来向C3充电并流过RL。在RL很大、RL中电流很小时,C3上电压可充到2V\(_{0}\)值。见图11(c)。
③在下一个输出V\(_{0}\)=1时,VD1导通、VD2截止。V0又向C2充电补充能量,C3慢慢放电,方向如图11(d)。负载RL内得到C3供给的电流。
④下一个V\(_{0}\)=0时,重复②的充电过程。
可见在负载RL上得到的是上负下正数值约为2V\(_{0}\)的直流电压。这个电路完成了极性变换的任务。实际上因为负载电流不可能很小很小,所以实际输出电压要低于2V0的数值。
(2)负高压发生器
如果要想得到比所用的直流电源电压高得多的直流电压,就必须用交流升压的办法。先把直流变成交流,再把交流电压用升压变压器升高,最后再整流成直流高压。
图12是一个555负高压发生器。它可以把普通的12伏直流电源变换成负的3~5千伏直流电压。图中用555电路组成十几千赫的振荡器,用它的输出驱动大功率管VT1作开关动作。振荡器输出V\(_{0}\)=1时,VT1导通;V0=0时,VT1截止。开关管的电流通过升压变压器B的初级,在次级可得3~5千伏的负高压。它可以用于负离子发生器或静电除尘器中。

图中的升压变压器B可用电视机行输出变压器改制。高压线包不动,把初级线圈改用φ0.6mm漆包线绕30圈。注意同名端不要搞错。
6.压控振荡器的应用
(1)在锁相环中的应用
锁相技术是由鉴相器、环路滤波器和压控振荡器(VCO)三部分组成的,见图13。它是一个相位的反馈系综,因为它形成一个闭环,所以也称为锁相环。压控振荡器是锁相环中的一个重要部件。在没有输入信号V\(_{f}\)时,VCO的输出就是它固有的中心频率f0。在有输入V\(_{i}\)时,VCO的输出信号的相位ф0在鉴相器中和输入信号的相位ф\(_{1}\)进行比较,产生一个与相位误差有关的直流电压Vd,它经过环路滤波器滤除高频成分后成为VCO的控制电压V\(_{CT}\)。VCO在控制电压VCT的控制下,使它的输出信号V\(_{0}\)的频率逐渐向输入信号Vi的频率靠拢。也就是使差拍频率越来越小,直到频差等于零而被锁定为止。这种过程也叫“跟踪”或“捕捉”过程。它的最终结果是使本地振荡(VCO)和输入信号的频率完全同步而且稳定。如果VCO是接收机中的本地振荡器,利用锁相技术就可以使本地振荡器的频率和远处发射的高频信号频率同步,使我们能接收到高质量的广播电视乃至卫星发送来的图像和数据。

(2)在模/数转换技术中的应用
压控振荡器还被用于模/数转换技术中。因为它能把输入的电压变化转换成输出的频率变化,所以在模/数转换技术中它又称为电压频率变换器,简称压频变换器(VFC)。用一个VFC、一个时钟信号、一个控制门、一个计数器和一些辅助部件可以组成一个模/数转换器,如图14。输入的模拟信号的电压变化被VFC变换成频率高低的变化。然后使VFC的输出电压V\(_{f}\)通过由时钟信号控制的门送入计数器。当时钟信号为高电平时,门被打开同时计数器开始计数。因为模拟电压Vi的大小已被变换成频率高低的变化,单位时间内计数的结果是:频率低的信号,脉冲个数少,计数器数得的数小;频率高的信号,脉冲个数多,计数器数得的数多。于是计数器的输出就是一串二进制数字信号,模拟信号被变换成了数字信号。

(3)在脉宽调制技术中的应用
脉宽调制是把输入交流信号的电压变化变换成脉冲宽度的变化。脉冲宽度的变化就是占空比的变化,所以脉宽调制又叫占空比调制。把555电路接成间接反馈式多谐振荡电路,并使它的R\(_{A}\)《RB。于是它的输出近似地是方波。如果在它的电压控制端VC上加上音频调制电压V\(_{i}\),由于VC端的电压变化会改变阈值电压,于是这个多谐振荡器的输山脉冲宽度会随着音频电压幅度的变化而变化,这个电路也就成为一个脉宽调制电路了。(俞鹤飞)