本文介绍一种可供二人对奕的有趣的电子玩具——抢夺城堡棋,该棋电路新颖,趣味性较强,具有自动裁判和音乐功能。
游戏方法
本棋由棋盘电路和2只控制盒组成。棋盘面板结构设置如图3所示。在棋盘正中上方画有一座“城堡”。沿棋盘的两下角起至“城堡”中央分别安装有十只排成一列的发光管,用来表示甲、乙两方抢夺“城堡”时的路线和所处的位置。在棋盘的两上角各安装有一只插孔(XS1、XS2)用来连接甲、乙控制盒。控制盒由游戏的双方各用一只,在每只控制盒上装有二只乒乓开关(如图1)。游戏时,先将位于“城堡”内的电源开关SA0接通,再按动一下总清零按钮SB2,这时,甲乙两路发光管中只有最底端的LED1和LED11被点亮,表示甲乙两方的起点至“城堡”的距离相同,此时双方就可开始游戏了。双方均在避开对方视线的情况下,操纵各自控制盒上的乒乓开关,待双方均将控制盒置好位后即可按下裁判按扭SB1这时红色的LED21被点亮,说明裁判电路开始工作,此时,只有两种可能,即,不是甲方向“城堡”前进了一步(LED2亮)就是乙方向“城堡”前进了一步(LED12亮)。红色LED21裁判灯在点亮数秒钟后会自动熄灭,表明裁判电路停止工作,这时双方可再次依上法重新对各自的控制盒置数,然后,再次按动裁判按钮,以显示谁能再前进一步,依此方法反复进行多次,直到一方进至“城堡”内的发光管被点亮时,就说明“城堡”被该方夺得,此时扬声器将发出优美动听的电子音乐声响,为胜利者祝贺。双方如需再玩,按总清零按钮后依上法进行即可。


电路原理
电路如图2所示,它包括有输入和状态判别电路,裁判电路、计数显示电路及音乐声响电路等四部分。

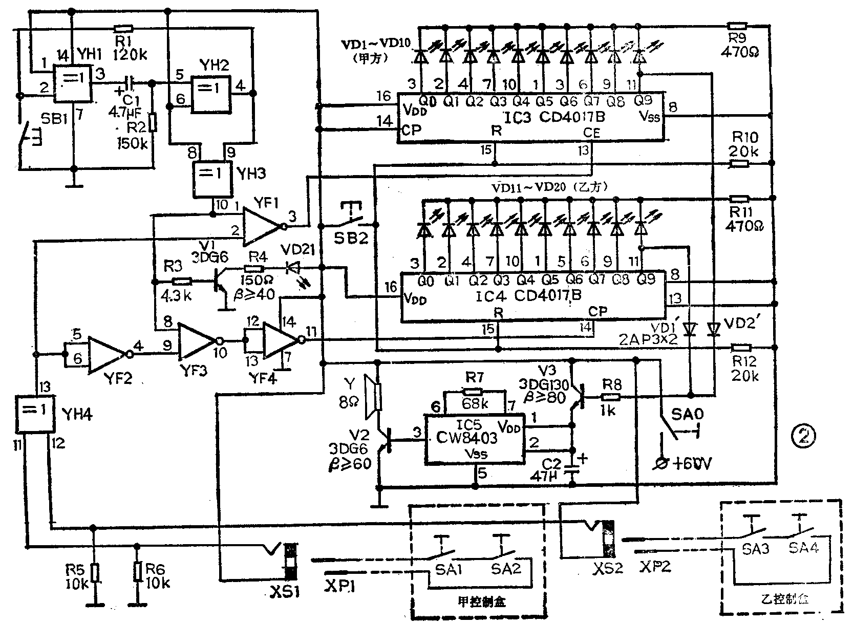
1.输入和状态判别电路 输入和状态判别电路由异或门YH4及甲乙控制盒等组成。在YH4的两个输入端各接有一只10kΩ电阻至地端,这样,当甲乙两控制盒上的开关均接通时, YH4的两输入端就分别经甲乙控制盒上的开关接至电源“+”端,相当于输入均为“1”,则YH4输出为“0”;当甲乙两控制盒上各有一个以上的开关断开时,YH4的两输入端分别经R5和R6接地,相当于输入均为“0”,则YH4输出也为“0”;同理,当甲乙两控制盒所置成的状态不一致时,就会使YH4的两个输入端一个为“1”,另一个为“0”,满足“异或”条件,则YH4输出为“1”态,从而电路完成输入和状态判别功能。
2.裁判电路 该电路由YH1~YH3及与非门YF1~YF4组成,其中YH1~YH2组成了一个脉宽为数秒的单稳电路,YH3及YF1~YF4组成了控制门。正常情况下单稳处于稳态,此时YH2输出“1”,经YH3反相,封闭了YF1和YF3,则YF1输出为“1”,IC3不计数;经YF4反相为“0”,IC4也不计数。当按下裁判按钮时,单稳翻转进入暂稳态,YH2输出变为“0”,V1导通,VD21点亮,表明裁判电路开始工作,与此同时,YH3输出的“1”态打开YF1和YF3,开始对YH4输出电位进行裁判,完成根据甲乙输入状态不同情况来裁判IC3或IC4计数的功能。在电路中加入单稳的目的主要是使IC3或IC4每次只计一个数。
3.计数显示电路 计数显示电路由IC3、IC4及VD1~VD20组成,其中IC3接成下降沿触发型,IC4接成上升沿触发型。当按下SB2时,IC3、IC4均被置零,此时IC3和IC4中只有各自的Q0端为“1”,其余输出端为“0”,随着计数脉冲的输入,IC3和IC4输出端的“1”电位将沿Q0→Q9方向移动,显示出甲乙两方进攻“城堡”的行动路线和所到达的位置。
4.音乐声响电路 音乐声响电路由IC5组成,当甲乙两方均未夺取“城堡”(VD10和VD20均未点亮)时,V3截止,IC5不工作,音乐声响电路处于静止状态。当VD10或VD20中有一只被点亮的同时,V3导通,IC5得电工作,输出的信号经V2放大后推动扬声器工作,发出电子音乐声响。
元件选择
VD1~VD20用高效率扁方型绿色发光二极管,VD21用圆型红色发光二极管。XS1、XS2及XP1、XP2用φ3.5mm插头、插孔,电源使用四节5号电池串联而成,其余元器件可按图中所标规格选用。全部电路连同电池一起装于一只20×13×6cm的塑料盒中,棋盘面板可按图3样式制做。甲乙两方用的控制盒可用装135胶卷的空塑料圆筒盒代替,分别将SA1、SA2和SA3、SA4安装在盒盖上焊上导线和插头即可。
调试方法
调试时可先不接三个控制盒,此时接下SB1,红色VD21应被点亮,同时乙方应能前进一步,然后,插入一只控制盒并使该盒置成“1”态,此时按下SB1甲方应能前进一步,这说明输入和状态判别及裁判电路和计数显示电路均工作正常,如果VD1~VD20点亮时的亮度不够可分别适当减小R9和R11的阻值。(张继辉)