目前我国省市级大型电视台有300多个,县级电视差转台(站)有3000多个,这些台(站)多数能够自办节目。这种星罗棋布的局面使得大多数地区可以看到几套电视节目,一般城市能看到4~6套节目,有的城市可收到十几套节目。而这么多的节目往往来自几个方向的电视台,信号强弱也不同,再加上高大建筑物等引起的反射,要想收看好电视节目,必须有一副功能全、宽频带、高增益的接收天线才行。
本文向读者介绍一种由沈阳市铁西新华电器厂生产的“雷达式预选电视天线”,该天线是专利产品(专利号33615)。它能够对电视信号进行放大混合、检测跟踪,对天线的接收方向在室内控制,并具有记忆存储功能。使用这种天线,在平原地区对省级大功率高发射塔的电视台,收看半径可达100公里,在山区可达30~40公里。收看县级差转台在平原地区也能达到40~50公里。这种天线由预选天线调向器、调向电机、接收天线以及电缆等组成,如图1所示。下边对该天线的工作原理作一简介。

1.预选的作用:彩色电视机上的频道预选开关,每一个可用微调调出一个电视接收频道,调好后就被记忆储存在电视机内。一旦要看某频道电视节目,只要按下对应这个频道的开关就行。这种天线有这样类似结构,它有一个预选天线调向器(参见图1),前面板安装有8个预选开关,每一开关都对应一个预选微调装置(预选电位器),不过它不是调电视频道,而是调欲看某频道的电视台的方位。这就是说每一个预选开关可用相应的微调,调出一个频道的最佳接收方位来,调完后这个方位就被记忆储存在预选调向器内。想再看这个频道的节目,只需按下该频道对应的预选开关,天线立即自动转到事先调好的最佳方位上再停下来。显然使用方便可靠,且比用固定式天线可收到更多的电视台的节目。以沈阳市为例,普通天线只收4~5套节目,而用这种天线可收到9套节目,除收沈阳市几个台外,还能收到鞍山、抚顺、本溪和辽阳等地的电视台节目。
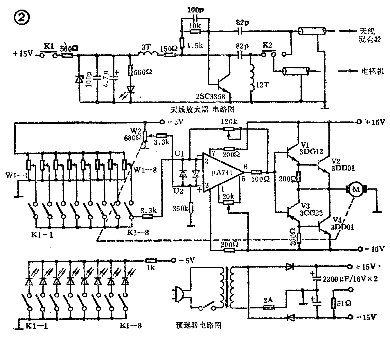
2.预选器自动控制原理:图2示出预选器盒内所装的基本电路,上边为天线放大器电原理图,天线放大器原理本刊多次介绍,这里不再赘述。下边是预选器电路图,从图看出它是一个差动输入式放大器,V1、V2、V3、V4组成的OCL电路直接驱动电机。U1和U2为放大器的两个输入信号,其值分别由电位器W1(W1—1~W1—8)和W2来决定。根据差动放大原理可知:当U1和U2幅值相等相位相同时,运放(μA741)6脚电位为零,后边输出电路不工作,电机不转动;当U1和U2相位相同而幅值不等时,运放6脚有输出而使电机转动。由图3看出,电机转动带动天线旋转,同时也带动电位器W2的转轴。因W2两端加有-5V电压,因此它在转轴转动时,使它中心接点对地输出电压U2也随之变化。从图2看出,W1和W2共用-5V电源,即工作时均为负电压。W1之中心接点给出的电压U1加到运放反相输入端2脚作基准电压;U2加到正向输入端3脚作比较电压。当|U1|>|U2|时,运放6脚为正电位,V1和V2导通而V3和V4截止,电机正转。反之,当|U1|<|U2|时电机反转。当|U1|=|U2|时,电机停转。显然,电机的转向即天线的转向是由U1和U2的比较来决定的。电位器W2被天线转向电机带动的目的,是随着天线的转动使W2不断改变U1而向预设的值趋近,直到|U1|=|U2|使电机停转为止。


使用时先打开电视机,然后接通预选开关K1中之一个,再慢慢调节这个开关上边对应的预选电位器使天线缓缓转动直到出现满意的图象为止。此时天线所指的方向就是某个频道的收看方位,依次类推就能把当地能收到的所有频道的方位找到,这样就把所收的频道的方位记忆储存起来。以后要看哪个频道的电视节目,只需按下该频道的预选开关,天线就会正转(|U1|>|U2|)或反转(|U1|<|U2|),直到预设方位的位置停下来(此时|U1|=|U2|而停转)。
3.预选器的外部结构及天线选择:预选器外部结构如图1所示。前面板装有8个预选开关和8个预选电位器。背面右侧两插孔是信号放大器用插孔,放大器增益≥6dB,使用范围1~56频道。背面左侧是控制线输入插座,通过控制线传输电机供电电压,W2上加的-5V电压及W2返回来的U2电压。
天线的选择是非常重要环节。如果天线不好,再好的电视机也达不到预期效果。我国电视频段已发展到U段,因此必须选用全频段接收天线,或者选用组合天线(加混合器),图1所示的天线就是这种天线,它在(1~5)、(6~12)和(13~56)频道有各自独立的振子,同混合器一起组成一高增益全频道天线。
4.调向电机和检测电位器的选用:调向电机由一个小型直流电机配减速装置而成,一般有成品可购。本文介绍的天线中宜选功率6瓦,工作电压低于15V的直流电机,主要考虑与控制电路配合。检测电位器选用1kΩ左右的线绕电位器,这是因线绕的直线性好而容易作到天线准确定位。通常电位器的转动范围为270°左右,要保证天线转360°时检测电位器只转270°而无死角,则设计电机轴上输出拉线轮与电位器拉线轮的直径比为3:4.5~3:5。
5.常见故障检修:①电机只朝一个方向转而不停。检测电位器拉轮松动或拉线断了;电位器接线片有开焊现象;控制电路中三极管或运放等元器件有损坏等都会引起这种故障,可分别检查给予排除。②电机不转。电机内部有锈蚀卡死现象;控制电路出故障使电机得不到供电电压;预选电位器有开焊现象等都会引起这种故障。(陈春田)