555电路的无稳态工作方式是应用最广的一种,它被大量用作脉冲信号发生器、音响告警电路、电子玩具、检测电路、控制电路、电源变换电路和压控振荡器等。
555电路的无稳工作方式有两种:一种是多谐振荡器,另一种是压控振荡器。应用最广的是多谐振荡器。
一、555无稳态多谐振荡器
前面我们介绍了555的单稳和双稳电路。双稳电路有2个稳态,单稳电路有1个稳态和1个暂稳态。无稳电路则有2个暂稳态,没有稳态。它不需要外脉冲的触发就能自动从一种暂稳态翻转到另一种暂稳态。它的输出状态是不断地在从高到低和从低到高交替翻转的。它的输出是一串连续的矩形脉冲,因此实际上它就是一个脉冲振荡器。因为它没有稳态,所以被称为无稳电路或非稳电路。又因为它的输出是矩形脉冲,根据脉冲电路的理论,一个矩形脉冲可以看成是由这个脉冲的基频的正弦波和许多频率是基频整数倍而幅度不等的正弦波(称为谐波)叠加起来合成的。而且它还有不需要外脉冲触发(也称激发)就能自动振荡起来的特点,所以脉冲振荡器又称为多谐自激振荡器,简称多谐振荡器。
1.直接反馈式555多谐振荡器
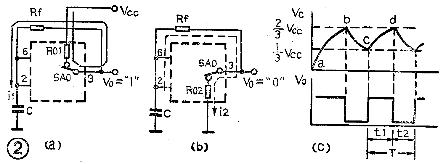
利用555施密特触发器的回滞特性,在它的输入端接一个电容C,再在输出和输入之间接一个反馈电阻R\(_{f}\),就组成一个直接反馈式多谐振荡器,如图1(a)。按等效R-S触发器的原理可以画成图1(b),因为放电开关和电压控制端都与振荡无关可以略去不画。

现在让我们看看它是怎样自动振荡起来的:
(1)刚接通电源时,电容C上电压为零,对555等效触发器来讲,相当于R=0、S-=0,输出应为高电平:V\(_{o}\)=1。于是电源电压通过内阻R01、等效输出开关SA\(_{0}\)、电阻Rf向电容C充电,如图2(a)。电容C上电压增长的曲线如图2(c)中V\(_{c}\)曲线的ab段。

(2)当C上电压上升到大于上阈值电压V\(_{T+}\)(2/3Vcc)时,等效触发器的输入成为R=1、S-=1,输出就翻转成低电平:V\(_{o}\)=0。于是C上的电荷通过电阻Rf、等效输出开关SA\(_{0}\)、内阻R02放电入地,如图2(b)。C上电压下降的曲线如图2(c)中V\(_{c}\)曲线的bc段。
(3)当C上电压逐渐下降到低于下阈值电压V\(_{T}\)-(1/3Vcc)时,输入又成为R=0、S-=0,输出又翻成高电平:V\(_{o}\)=1。于是电源电压又向C充电,重复图2(a)的充电过程。电容C的充电曲线如图2(C)中Vc曲线的cd段。
(4)当C上电压又上升到大于V\(_{T}\)+时,重复图2(b)的放电过程。
由于施密特触发器有2个不同的阈值电压,所以电容C就在2个阈值电压之间交替地充电和放电,循环不已。它的输出电压就成为一串连续的矩形脉冲,见图2(C)中V\(_{o}\)的波形。
因为555电路的输出内阻R\(_{0}\)1和R02都很小,和R\(_{f}\)相比可以忽略不计,所以充电时的暂稳态t1和放电时的暂稳态t\(_{2}\)分别是:t1=0.693R\(_{f}\)C,t2=0.693R\(_{f}\)C,T=t1+t\(_{2}\)=1.386RfC,f=1/T=0.722/R\(_{f}\)C,式中,Rf的单位是欧姆,C的单位是法拉,T的单位是秒,f的单位是赫兹。例:R\(_{f}\)=68kΩ,C=0.01μF,f约为1kHz。
可见555多谐振荡器的振荡频率f只和电阻R\(_{f}\)和电容C的数值有关。改变电阻Rf和电容C的数值可以做成从0.1赫到1兆赫的脉冲振荡器。
但是这个振荡电路有2个缺点:一个是当振荡频率较高、电阻R\(_{f}\)的值较小时,电容的充放电电流比较大,而CMOS的CB7555的输出管所能承受的电流能力比较小,充放电电流可能会烧坏输出管。另一个是电路的负载也接在输出端V0上,当负载电流比较大时,会影响电容的充放电,使输出电压降低,充放电时间变化,振荡频率不稳。有没有更好的办法,把负载电路和充放电电路分开提高振荡器的质量呢?
2.间接反馈式555多谐振荡器
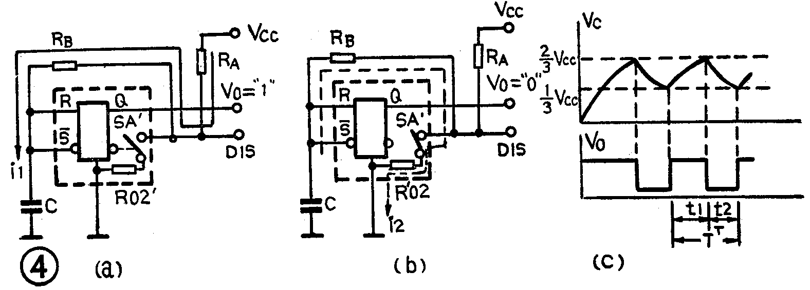
让我们看看555的放电端“DIS”(7)的作用。我们发现它和输出端V\(_{o}\)有相同的逻辑功能:
①V\(_{o}\)=1时,Q-=0,内部放电开关SA'断开,DIS端开路,相当于高电平“1”。
②V\(_{o}\)=0时,Q-=1,内部放电开关SA'闭合,DIS端接地,相当于低电平“0”。
因此用放电端DIS代替输出端V\(_{o}\)从逻辑上讲是完全可以的。但为了要取得充电的能源,还要增加一个充电电阻,成为有二个反馈电阻RA和R\(_{B}\)的电路,如图3(a)。经过这样的改动后,就把负载电路和充放电电路完全分开了。也就是说,充放电电流不再受负载的影响。另外从电特性上讲,CMOS的CB7555放电管的放电电流IDIS比较大,可以到50mA(双极型的CB555更大,可有200mA),比它的输出驱动电流I\(_{L}\)(约为20mA)要大1.5倍。所以这样改动后的第二个好处是电路能承受电容充放电的能力提高了,电路工作起来更加安全可靠了。所以在实际应用中,555多谐振荡电路几乎都是改进了的间接反馈式电路。

间接反馈式555多谐振荡器在充放电时的等效电路见图4(a)和图4(b),电容C的充放电曲线和输出V\(_{o}\)的波形见图4(C)。从充放电等效图上看到,电路在充电时有RA、R\(_{B}\)两个电阻,放电时只有RB一个电阻(R\(_{0}\)2'很小可以不计)。从充放电曲线也可看到,它的二个暂稳态时间t1和t\(_{2}\)是不相等的,周期T和频率f为:
t\(_{1}\)=0.693(RA+R\(_{B}\))C,t2=0.693R\(_{B}\)C,T=t1+t\(_{2}\)=0.693(RA+2R\(_{B}\))C,f=1.443/(RA+2R\(_{B}\))C。

按以上公式就可以从已有的电路求出它的振荡频率,或者按要求的振荡频率去设计振荡电路。
上述公式在振荡频率不太高时,实际输出的频率值和用公式计算出的数值基本相符。而在频率较高、RB的数值较小时,因为CB555放电管的接地电阻R\(_{0}\)2'只有十几欧,CB7555的R02'则是几十欧,它们和R\(_{B}\)比较时不能忽略不计。所以实际输出的振荡频率值要比用公式计算出来的频率值低,在设计和使用时必须注意这一点。(未完待续)(俞鹤飞)