每逢元宵佳节,我国人民都有玩灯的传统习惯。本文介绍一种电子兔灯,外形见图1。它不但有光,而且有声。兔灯两眼眼珠前后闪亮,恰似左顾右盼,同时发出“嘟、嘟……”的鸣叫声,可谓声光并茂,逗人喜爱。

一、工作原理
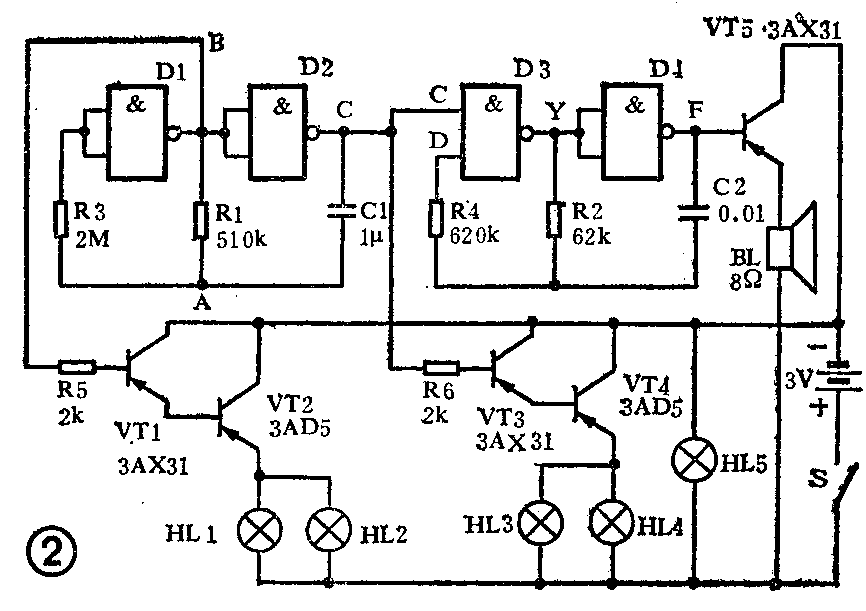
电子兔灯电路原理如图②,电路由两个多谐振荡器组成。CMOS电路输入阻抗很高,因此用CMOS门电路构成的多谐振荡器,无须用大容量的电容器,就能获得较大的时间常数,特别适用于制作低频和超低频振荡器。并且它具有体积小、成本低、线路简单和低功耗的突出优点。

CMOS与非门D1、D2等构成超低频多谐振荡器,振荡频率f≈0.9Hz。在这里,D1、D2的两输入端分别并接作为非门使用。设时间t=t0时,电路各点逻辑状态为:A=1,B=0;C=1;电容C1上电压极性为上负下正。当t>t0后,C1先是通过R1→D1←V\(_{SS}\)→VDD→D2→R3→D1→D2两个回路放电(在一块CMOS电路中,各逻辑门D1、D2、D3、D4的电源正极V\(_{DD}\)和电源负极VSS引线是分别并接在一起的)。放电过程结束后,开始出现V\(_{DD}\)对C1的充电过程,充电回路为V\(_{DD}\)→D2→C1→R1→D1→VSS→V\(_{DD}\),这时C1两端电压极性发生变化,为上正下负。当A点电压达到转换电压时(t=t1),电路发生翻转,各点逻辑状态变为:A=0;B=1;C=0。当t>t1后,C1先经C1→D2→VSS→V\(_{DD}\)→D1→R1→C1和C2→D2→D2→R3→C1两个回路放电,继而被VDD→D1→R1→C1→D2→V\(_{SS}\)→VDD充电,C1两端电压极性再次变化,为上负下正。t=t2时,A点电压达到转换电压,电路再次翻转为:A=1;B=0;C=1。t>t2后,重复t>t0后的过程。如此形成振荡,振荡周期为T≈2.2R1C1(R3》R1),各点波形见图3(a)。R3为补偿电阻,它的作用一方面是给D1输入端限流,另一方面可以有效地抑制由于温度、电源电压的变化所引起的振荡频率不稳定,R3=(2~10)R1。

由于小灯泡电流较大,所以由VT1、VT2及VT3、VT4组成两个达林顿复合射随器,以提高CMOS电路的负载驱动能力。振荡器B点和C点输出的互为反相的方波脉冲,分别经两个复合射随器驱动负载小灯泡HL1、HL2与HL3、HL4交替闪亮。
CMOS与非门D3、D4等构成门控音频多谐振荡器,f≈750Hz,基本工作原理同D1、D2构成的超低频多谐振荡器,所不同的是与非门D3多了一个控制端C。对于两个输入端C、D的与非门D3来说,输出Y=C·D-,当C=0时,不论D=1还是D=0,Y将始终=1,电路停止振荡;只有当C=1时,Y=D-,电路振荡,波形见图③(b)。由图②可见,D3输入控制端C与D2输出端C连接在一起,因此,D3、D4等构成的门控音频振荡器受D1、D2等构成的超低频振荡器控制。当C=1时,门控音频振荡器振荡,音频脉冲经VT5射随器驱动喇叭发声;当C=0时,振荡器停振,喇叭无声;其综合效果是喇叭发出“嘟、嘟……”的鸣叫声。
二、元器件选择
D1~D4选用CMOS四2输入端与非门CC4011,引出端功能见图④。VT1、VT3、VT5选用3AX型小功率晶体管;VT2、VT4选用3AD型大功率晶体管;要求每一个复合射随器总放大倍数β=β\(_{1}\)β2(或β\(_{3}\)β4)≥1000,β\(_{5}\)=40~100。小灯泡HL选用2.5V手电筒电珠。由于小灯泡耗电较大,电池应尽量选用大容量的,或采用多节并联的方法。

三、安装与调试
图⑤为印刷电路板图,用小刀刻出,元器件直接焊在铜箔面。大功率管和扬声器直接固定在电路板上。

自制或购买一个带轮子的兔灯,将电路板和电池盒固定在兔灯体内(见图①)。小灯泡HL1和HL2分别固定在头部左右两眼的前上半部分,HL3和HL4分别固定在两眼的后下半部分,当HL1(HL2)与HL3(HL4)交替闪亮时,兔眼便前后闪动起来。HL5置于兔灯体内中央部位,代替原来的蜡烛。牵拉兔灯的绳子是一根双股电线,其顶端接有电源开关S,其末端接到电路板上,这样,在牵着兔灯玩时,随时可以开关电源,控制兔灯的声光。
本电路的结构比较简单,且性能可靠,元件在焊接前应当逐个检查,在确保元件完好的情况下焊接,只要焊接和安装正确,即可通电工作,由于本电路中的晶体管工作在开关状态,所以电路不用调试即可正常工作。因此本电路非常适合初学者试制。(文江)