一般的电烤箱只有定时和调温功能,当某些烘烤工艺较为复杂时,则需要人工手动操作才能完成。本文介绍的电烤箱控制电路,可以自动完成要求比较高的工艺流程,对时间温度曲线在很大的范围内任意调节。
设定某一烤箱烘烤工艺的时间温度曲线如图1所示,我们可将整个曲线分成七段,每几分钟为一段,再对每段即每个10分钟进行独立的温度调节,就可相当精确地实现所需要的温度控制了。对于其它任意所需时间的温度曲线,只要将此曲线分为合适的几段(最多不超过七段),就可以得到任意形状的温度曲线了。其整机电路见图2。


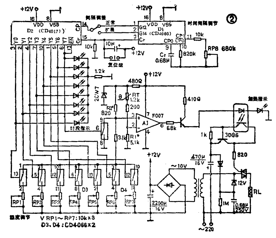
电路原理:数字集成电路D\(_{1}\)(CD4060)含有一个振荡器和一个14级分频器。其振荡频率由外接的Cr和电位器RP8所决定,振荡器产生的信号经内部分频器分频,在12、14端分别得到12级和14级的分频信号。调节RP\(_{8}\)可从12端产生1分钟至1小时的信号,从14端可产生4分钟至4小时的信号,以此作为时间间隔。将此信号送入计数/分配器D2(4017)的脉冲输入端,每输入一个脉冲,则在其输出端Y\(_{0}\)—Y7会依次变为高电平,并对应地控制着电子开关K\(_{1}\)—K8的依次导通。当最后一个输出端Y\(_{7}\)变为高电平时,也使EN-端呈高电平,此时D2将停止计数,并对输出端进行锁存,电子开关K\(_{8}\)的导通,使可控硅在任何情况下均不能导通。
复位按钮的作用是,在刚刚接通电源时,对D\(_{1}\)、D2进行复位,使得电子开关K\(_{1}\)-K8从最初的K\(_{1}\)开始导通,在之后的任何情况下,无论是某一位导通,只要按动复位按钮,就会一切从头开始。
导通的电子开关可将调温电位器RP\(_{1}\)—RP8中的某一位接到由运算放大器AJ所组成的恒温电路中,与电阻R\(_{1}\)、R2及热敏电阻RT一起构成热平衡电路,其电位器的阻值就决定着恒温电路的预定温度。这样,恒温电路的预定温度也就随着电子开关K\(_{1}\)—K7的依次导通而对应地改变着,RP\(_{1}\)—RP8则控制着各个时序段的具体温度。当被测温度低于调整电位器所设定的温度时,运放AJ输出高电平,使双向可控硅导通,电阻丝加热,温度升高。反之,当被测温度高于设定值时,运放输出低电平,可控硅截止,电阻丝停止加热,使温度保持在一个恒定的值。
该电路的输出功率视双向可控硅而定,对于2000W的电烤箱来说,可控硅选用10A/600V即可。(龙志宇)