彩色电视制式NTSC/PAL制控制电路
L-15录象机称为多制式录象机,能重放三种彩色电视制式的录象磁带的图象与声音信号,但它不是真正的多制式录象机,只能重放但不能记录NTSC和SECAM制电视节目。在重放NTSC录象磁带时,可以在PAL制彩电观看图象但场幅减小一些,这是正常现象。在接收SECAM制电视信号时,该机将以MESECAM系统工作。如果录象磁带是用真正的SECAM录象机录制的,而重放在MESECAM系统进行,将会把彩色图象变为黑白图象,这也是正常现象。录象机面板上仅有PAL-D/PAL-I/SECAMD.K控制健。当重放NTSC磁带时,微处理机IC2001检测到从它的23脚送入的控制信号,将自动判别并从IC2001的56脚送出NTSC低电平信号,控制录象机视频电路和伺服电路自动转入NTSC工作方式。实际控制电路如图9所示。在NTSC制时,IC2001的56脚为低电平,该低电平一路直接接到机频电路,另一路加到Q2003和QR2402的基极,使这两只晶体管导通。Q2003导通后改变了在IC2001内部与31脚相连接的PG单稳态电路的时间常数。QR2402导通后,集电极电位变高,使QR2403截止,其集电极电位变低,从而改变了IC2001内部伪场同步单稳态电路和慢寻迹单稳态电路结构以适应NTSC制的要求。在PAL制时,IC2001的56脚为高电平,则QR2402截止而QR2403导通,此时QR2403的集电极电位升高,从而改变了IC2001内部伪场同步单稳态电路和慢寻迹单稳态电路结构以适应PAL制的要求。

重放/记录控制电路
微处理机IC2001控制视频电路、音频电路和伺服电路,使在记录方式时仅使这三部分电路中与记录有关的电路工作,而与重放有关的电路不工作。重放时反之。如果在重放方式时记录通道的电路也工作,则会使重放图象中出现不应有的杂波干扰。L-15录象机重放/记录控制电路如图10所示。当记录键按下之后,从IC2001的36脚进出记录高电位(约5V)经R3028加到机频部分的晶体管Q3007的基极,使Q3007截止,则集电极电位为0V,这个记录低电位加到亮度色度板(Y/C)24脚。从IC2001的50脚送出视频E-E低电位加到视频部分的开关管QR3004的基极使其导通,QR3004的集电极送出E-E高电平电压5V加到亮度色度板17脚。从IC2001的51脚送出音频E-E高电平电压加到音频信号处理电路中IC4001的10脚。从IC2001的33脚送出延时记录的高电平电压经延时记录12V发生器、P3001的2脚加到磁头放大电路。这样,视频、音频电路就工作在记录状态。当重放键按下后,电路可作类似分析,这里不再赘述。微处理机IC2001对伺服电路的记录/重放控制在IC2001内部进行。

延时记录12V发生器电路
录象机内的伺服电路从接到记录工作指令到稳定工作需要一定的时间,否则在被记录图象的始端将会看到没有经过伺服的杂乱无章的图象。为此,向视频电路和音频电路的供电需要延迟一段时间,这部分控制电路称延时记录12V发生器电路如图11所示。安装在带盒仓底部的安全片开关串接在晶体管Q6006的基极电路中。重放或记录键按下并延时一段时间之后从微处理机IC2001的33脚、34脚分别送出视频和音频延时记录的高电子电压,分别加到QR6004的基极和Q6008的基极。这时QR6004导通且集电极电位变低,这个低电平电压加到Q6007使其导通。如果这时安全片开关为闭合状态,Q6006也导通,那么稳压12V经Q6006、Q6007加到视频电路。同样,由于Q6008的导通使Q6009也随之导通,稳压12V经Q6006、Q6009加到音频电路。如果所使用的磁带安全片被去掉,这样的磁带插入到录象机内,安全片开关不能闭合,Q6006不导通,即使IC2001的33脚、34脚处于高电平,视频和音频电路也不工作。

盒灯的供电电路
最早生产的VHS录象机中的盒灯采用白炽灯,只要录象机接通电源,盒灯始终是亮的,因此盒灯的寿命较短,是录象机中最易损坏的元件。最新开发的VHS录象机中的盒灯采用红外线发光管,始端、终端传感器采用红外线接收管。盒灯的供电是如图12中所示的脉冲电压。盒灯是间断工作的,在正脉冲期间盒灯才亮,可使盒好的寿命大大提高。当需要盒灯工作时从IC2001的57脚送出盒灯亮的低电平电压加到QR6003和Q6011的基极使其导通。Q6011的导通是给微处理机的70脚送入数字寻迹开关的状态信号,而QR6003导通,集电极电位升高,使Q6004导通。由Q6004的导通给盒灯提供工作电流。当IC2001的57脚为高电平时QR6003、Q6004都截止,盒灯不工作。尽管盒灯间歇工作,始端和终端传感器仍能正常工作。盒灯的供电是由Q6010、Q6008组成的12V稳压器来提供的。

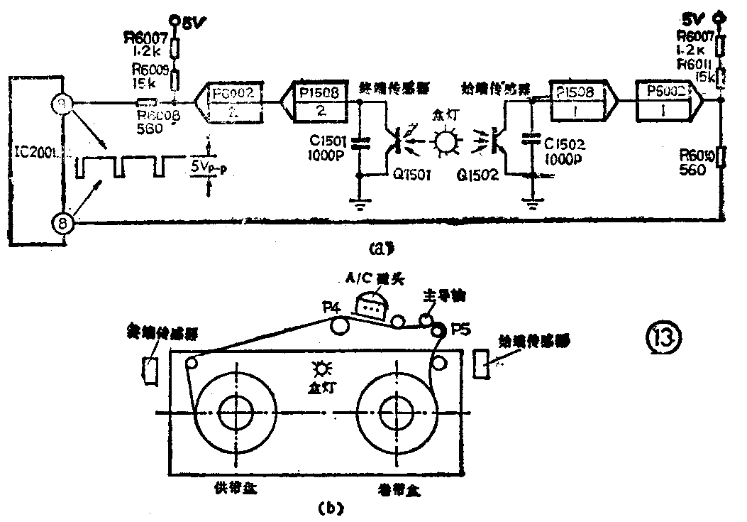
始端和终端传感器电路
在磁带的始端和终端都有150mm左右的透明引带,其透明度足以使盒灯的光线穿过引带照到始端或终端传感器。如果一盘磁带没有透明引带或其透明度太差都会造成录象机内机械零件的损坏。录象机内始端传感器安装在带盒仓的右侧面,终端传感器安装在左侧面,如图13(b)所示。图中示出L-15录象机半加载状态磁带的位置。图13(a)示出了传感器电路工作原理图。在录象机正常工作时,IC2001的8、9脚始终为高电位(5V),当快进或重放到磁带的终端时Q1501拾取到盒灯的光线而导通,使IC2001的9脚瞬间为低电位(0V),微处理机IC2001拾取到这个信号之后,立刻使磁带卸载到半加载方式而后进入倒带方式。当倒带到磁带的首端时,Q1502拾取到盒灯的光线而导通,使IC2001的8脚瞬间为低电位(0V),IC2001立刻发出停机指示使录象机为停机状态,在进入停机状态之后再让磁带快进一小段时间,让始端的透明引带缠绕在卷带盘上,以便从停机方式很容易进入到其它工作方式。

卷带传感器电路
一般卷带传感器安装在卷带盘上,有光电式和磁电式两种。卷带传感器的作用是监测在重放或记录方式时卷带盘是否转动,如果卷带盘不转会使磁带溢出造成磁带损坏。为了避免发生磁带溢出现象,在卷带盘下面安装卷带传感器。当卷带盘转动时卷带传感器产生脉冲信号送到微处理机,说明工作正常。当重放键按下7秒钟内(有的录象机时间还要短)没有卷带脉冲送到微处理机说明有故障存在,录象机自动进入停机方式。图14示出了L-15录象机卷带传感器电路。这个电路属于光电式,发光二极管和光敏三极管在IC 1501的内部。光敏三极管不能直接收到发光二极管的光线,必须通过安装在卷带驱动盘上的反光镜才能收到发光二极管的光线。反光镜作成如图14所示的形状,这样当卷带驱动盘转动时,反光镜间歇地起作用。使IC2001的14脚得到卷带脉冲5V\(_{P}\)-P。在重放/记录期间卷带脉冲的周期为0.2秒,在快进/倒带期间周期为20毫秒。

磁电式卷带传感器是将霍尔元件安装在卷带盘下面,卷带盘上不是镶有反光镜而是镶有若干对N、S磁极。当卷带盘转动时,不断有交变磁场通过霍尔元件,霍尔元件产生感应电压即为卷带脉冲信号,加到微处理机的输入端口。这种磁电式卷带传感器成本比较高,但不易受周围光源的影响。
潮湿传感器电路
安装在视频磁鼓附近的潮湿传感器的电阻值在干燥的气候中通常比较小,约600Ω左右。当有潮气侵入到录象机时,其电阻值增大到50kΩ左右。潮湿传感器工作原理如图15所示。潮湿传感器经插头P1505、P1504接到IC6002的5脚,IC6002的6脚始终保持一个固定的直流电位。IC6002的7脚与微处理机的输入端口IC2001的66脚连接。当录象机的周围环境变潮湿时,由于潮湿传感器电阻变大而使IC6002的5脚电位升高,当5脚的电位高于6脚电位时IC6002的7脚从低电位变成高电位,IC2001的66脚电位也变高。微处理机即刻命令录象机停止工作,禁止所有的机械动作,并在多功能显示器上显示出“5字样。

由于录象机接线不良或IC6002质量不好,会造成录象机错误保护。而且一般家用录象机工作环境都比较好,不会过分潮湿,所以现在许多新型家用录象机都将潮湿传感器去掉,将微处理机的潮湿传感器的输入口经10kΩ电阻接地。
复位电路
如图16所示,录象机每次接通电源,不开关的5V电源电压经电阻R 6023接到IC60Q3的2脚,从1脚产生负极性的复位脉冲到微处理机IC2001的65脚,使微机内部程序从零开始运行。如果复位电压不对,将使微处理机内部工作混乱,发出错误指令使录象机工作不正常。

录象机在停机、重放、记录、快进及倒带方式时,微处理机IC2001的工作电压及波形如附表所示。(葛慧英)
