大家都很熟悉集成运算放大器这种器件。由于它的价格较便宜,又具有许多优异的性能,所以在中学物理实验中也可以发挥它的作用。
图1为这种器件的功能简图,它有同相和反相两个输入端,一个输出端及正负电源端。当同相输入端的电压稍有增加时,输出端的电压就会大幅度增加;而反相输入端的电压略有增加时,输出端的电压会大幅度减少。

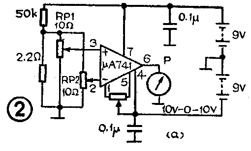
μA741是最常用的集成运算放大器(以下简称运放)之一,国内同类型号为5G24、F007、BG308等,图2(a)和图2(b)分别给出了它的实验电路及双列直插接脚图。该运放采用双电源供电,实验时先将RP1、RP2调在中间位置,然后用RP3调零,使电压表PV指针指在中心位置,分别调节RP1和RP2,即改变同相和反相输入端电压,从PV表指针的变化可了解并熟悉运放的工作原理。μA741的增益很高,直流增益约100~106dB。交流增益随着频率的增加而下降,在一定带宽下,可将运放作为交流放大器。

运放的增益可用负反馈来调节,除了将运放作为电压比较器使用时不加负反馈外,绝大多数场合都在加有负反馈的条件下工作。图3给出了加有负反馈的两种基本放大器,其中反相放大器的R3为反馈电阻,增益A\(_{1}\)=R3/R1;同相放大器的R1为反馈电阻,增益A2=(R1/R2)+1;图3中省略了电源接线端和零点补偿电路。

下面讲讲运放在中学物理实验中的几种应用:
1.高灵敏电流计:原理如图4所示,它是一个反相放大器,当外围元件数值如图所示、输入电流为1μA时,电流计可得到满度偏转,VD1、VD2作为电表的过载保护电路,RP1为调零电位器,RP2为满度偏转调整电位器。要想提高电路的灵敏度,可增大R3/R1的比值。此电路还可以改装成兆欧表。

2.稳压器:电路如图5。稳压二极管VD提供基准电压,当运放741的反相输入端电位比基准电压低时,其输出电压会升高,使晶体管VT的导通程度加深,输出电压即升高,最后使输出电压的一部分,即电位器RP的滑动接头对地电位等于基准电压时电路处于相对稳定状态。电路的输出电流能力由VT的型号决定,电路的输出阻抗小于0.1Ω。

3.交流毫伏表:一般的交流电压表,特别是低电压档,由于二极管的非线性使表头的刻度不均匀,利用运放可使电流计PA的偏转正比于交流输入电压。图6所示电路0~50μA表头满偏转时为10mV。由于电路的高频响应受到运放频率响应的限制,故该电路仅能用于音频范围内。

4.超低频正弦波信号发生器:图7所示电路是在文氏电桥回路上加反向并联的硅二极管VD1、VD2来稳定振幅。按图中元件数值,可使输出频率为0.5Hz。调整RP可改善输出波形。调R1、R2、C1、C2可改变频率。

5.一些物理量的检测:不同物理量的检测主要是利用不同传感器将各种物理量的变化转变为电流和电压的变化,再将这些微弱的电流和电压量利用高增益运放放大和比较,然后再去驱动电流表、发光二极管或其它控制电路。下列几个实验采用运放741电路或单电源四运放LM324构成。
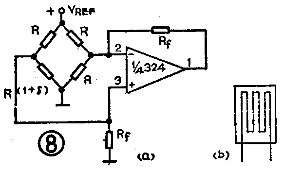
①形变的检测 图8(a)为桥式差动电流放大器,R(1+δ)为半导体应变片。该应变片也可用φ0.1mm高强度漆包线绕成图8(b)所示的一个绕圈,然后用环氧树脂将线圈粘于一块玻璃纤维板上。这样制作的电阻式应变片虽然灵敏度较低,但可用提高运放的增益来解决。当应变片受力弯曲时,电阻发生变化,通过桥式电路转换成电压变化。当φ《1、R\(_{f}\)》R时,V0≈V\(_{REF}\)(d/2)·Rf/R。式中V\(_{REF}\)为基准电压。

②温度的测量 图9电路是用硅晶体管的PN结作为温度传感器。由于晶体管的发射结压降与温度成反比,在±200℃范围内,其线性优于1%。将PN结(图9中VT的发射结)、电阻R1、R2、R3、R4和RP1组成桥式电路,其不平衡电压经运放放大后输出,当温度变化1℃时输出电压V0变化100mV。在0℃时调节RP1使输出为零,在温度为1℃时调节RP2使输出为100mV,温度低于0℃时输出为负值。此输出可用数字电压表直接读出摄氏温度值。

如果要求达到一定温度时则报警,可采用图10电路。图中R1为热敏电阻,1/4LM324开环应用作为比较器,当温度上升到一定值时,调节RP1使LED正好发光,音乐集成块IC推动压电陶瓷片HA发声。当温度降低后,R1阻值升高,运放反相输入端电位升高,输出低电平,LED不发光,HA也不发声。当需要温度降到一定值时报警,可调换两输入端位置。

③静电的检测 利用结型场效应管VT作静电场传感器,当带正电荷的物体靠近图11中与VT栅极相连的金属片M时,由于静电感应,VT的漏、源极之间将有电流通过,R1两端的电压经运放集成电路放大,输出电压增高,HA发声。当带正电荷物体远离M时,HA无声;如果将带负电荷的物体靠近M,HA无声,但在它远离M时HA会发声。可将此电路作为电荷检验器。

④磁场的检测 电路如图12。B为霍尔元件,当一定方向的磁力线穿过霍尔元件的平面时,微弱的霍尔电动势经高增益运放放大,可使LED灯发光或熄灭,临界发光状态可通过电位器RP调整。此电路可以用来检测地磁场的存在及其大小方向的变化,图中电源GB可为B提供控制电流。B可用录象机的鼓电机或主导电机伺服系统的霍尔元件代替。

⑤温差电现象实验 如果用两种不同金属A、B构成回路,在两接头处保持不同的温度,则此回路中有电动势产生,此电动势叫温差电动势。在图13中,A、B两金属相接于T点,在其它点温度不变时,则回路中所产生的温差电动势是测试点T点的温度的函数。当A为康铜线,B为铜线时,图13电路能使100℃的温升有5V以上的输出电压变化。
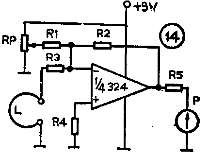
⑥电磁感应实验 电路如图14所示,当单根导线组成的线圈L中有磁通量变化,或单根导线L作切割磁力线运动时,导线中就有感生电动势产生,经放大后可使灵敏电流计有较大幅度偏转。电路分析与调节过程请见本刊1986年第12期《电磁感应实验附加器》一文。

⑦光敏特性实验光电转换常用光电二极管、光敏三极管、硅光电池、光敏电阻、硅或锗管的PN结等作传感器,他们在光的照射下能产生光生伏特效应或引起电导率的变化,通过运放集成电路放大或与参考电压比较,则能驱动指示仪表或发出控制信号。
图15所示是利用单电源运放LM324将光电二极管VD在光照射下产生的电动势进行放大,当有光照射VD时,输出端电压升高。由于LM324增益较高,所以可在低照度下进行测量。

另外,还可以配合气敏元件、湿敏元件、压电陶瓷片等,演示一些报警或控制电路。(姜立中)