水面指示器
图示电路为一个水面指示器,电路由可控硅SCR1和报警装置WD1等组成。当水面上升到使探头两极之间构成通路时,可控硅就接通了报警装置WD1,发出水面上升的信号。报警装置也可以用声纳鸣响器(TM)、灯或蜂鸣器等。按下开关S1,电路复位。(赵向东 编译)

频率范围10:1振荡器
图示电路为一个频率可调范围为10:1的RC振荡器。运算放大器的正相输入端和两个电阻(15kΩ)构成施密特触发器。反相输入端和RT、CT组成时间网络,电位器(100kΩ)可改变充放电时间常数,能使振荡频率在10:1的范围内变化。输出幅度为20Vp-p的矩形波。(赵向东 编译)

土壤湿度显示器
电路如图所示。土壤湿润时,发光二极管LED发光。当土壤湿度降低到一定程度后,LED开始闪光,如果湿度继续降低则LED熄灭。电路安装后进行以下校准:接入电池并把探头电极插入一个装有干燥土壤的容器中,先调R1至最大值,然后逐渐降低阻值直到LED开始闪光,再调R2使LED熄灭。(赵向东 编译)

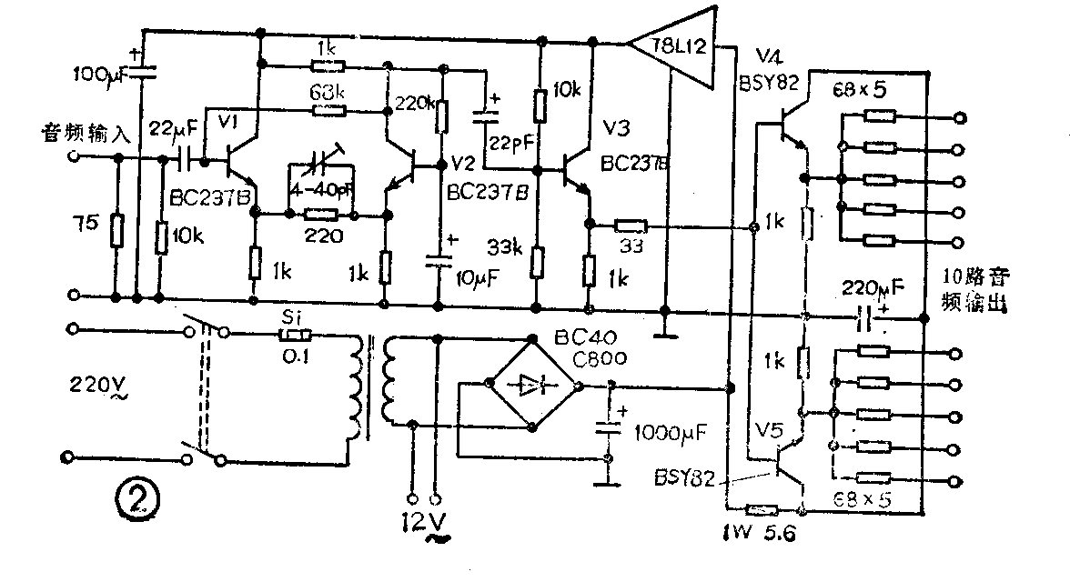
简单实用的视、音频分配器
一台录象机带动多台录象机复制录象节目带时,必须使用视、音频分配器才能达到满意的复制效果。图1和图2分别示出电路简单、复制效果好且实用的视、音频分配器。从图看出1路输入信号,可有10路输出信号。用上它们,一台录象机放象可使10台录象机同时复制。


视频分配器输入信号峰峰值容许范围为0.5V~2V;输出为1V(峰值)。音频分配器输入信号-6dB,输入阻抗10kΩ;频率范围20Hz~12kHz;输出信号-6dB,输出阻抗1kΩ。三极管BC237B可用国产管3DG120D、3DG130D代换,BSY82可用国产管3DK1150C代换。(靳连生)