(陈九如 王玮)漏电保护器的基本功能是,当人体触电时,在电流强度和时间尚未达到伤害程度而自动切断电源,以达到保护人身安全的目的。漏电保护器在我国已有一定的生产能力,但在产品的选型、结构、电路及质量上与国外相比还有些差距。为使厂家生产出更多功能全、质量高的产品,本文介绍三种日产电子式多功能漏电保护器,即GB-2型漏电保护开关、EM52型和LR 50 C型漏电断路器。它们的主要特点是工作电压范围宽,具有过负荷或短路保护自动跳闸功能,主要技术指标见附表。
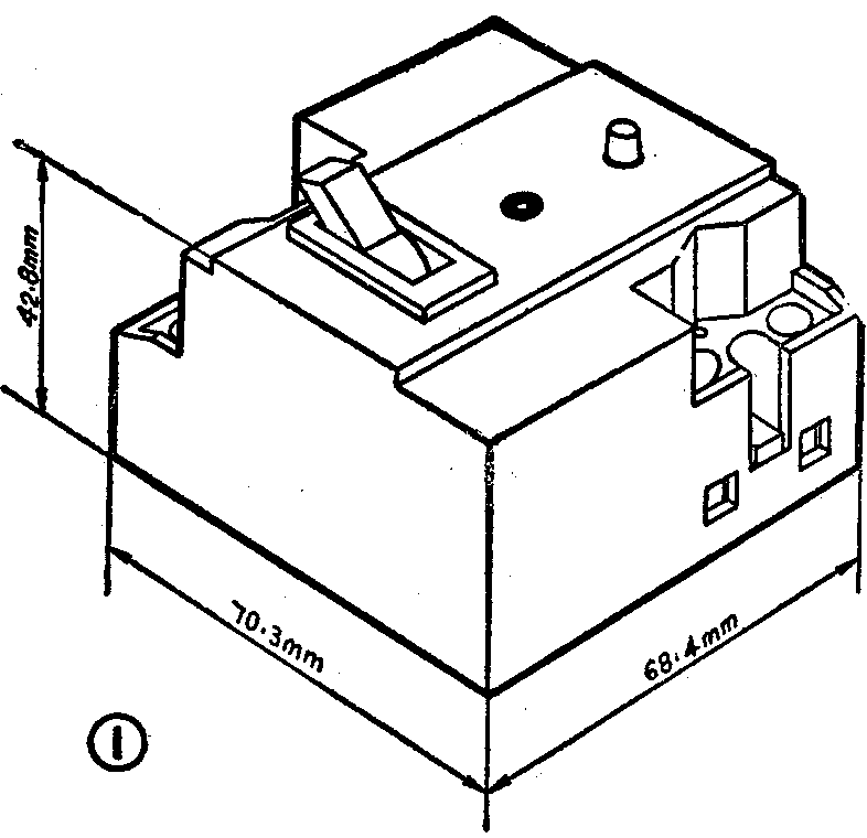
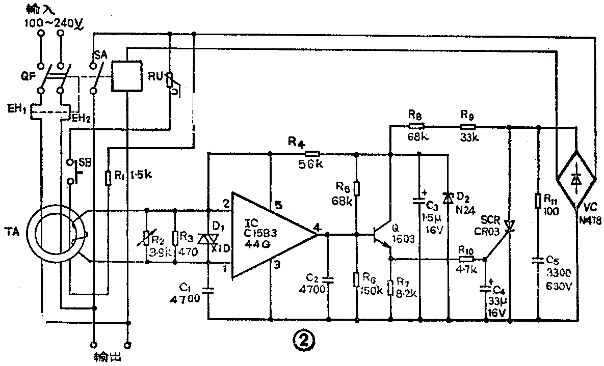
GB-2型漏电保护开关的体积小、容量大,额定工作电流可为10A、20A、30A、40A四个系列,它在极苛刻的条件下仍能可靠、准确地动作,很适合家庭使用。其外形见图1,图2为电原理图。


保护开关的过载保护装置是由双金属片构成的热元件来实现的,当电流超过额定值时,因热元件两侧的金属膨胀系数不同,而使发热元件偏向脱扣顶杆,于是开关跳闸断电。
在图2中,TA是零序互感器,其作用是将主回路的漏电(触电)信号变换成回路的电压信号。在正常工作时,供电线路的主回路火线和零线的电流绝对值相等,其电流矢量和为零,因此无感应电压信号进入专用集成电路IC,这时4端输出电平为零,SCR因无触发信号而关断。
当发生漏电(触电)故障时,因主回路的电流不平衡,零序互感器感应的电压信号经IC的前级放大后,启动内部闭锁电路翻转使输出端4为高电平,再经射极跟随器Q触发可控硅SCR,进而使可控硅与整流桥VC组成的交流开关接通,脱扣线圈带电后将圆形铁柱吸入并带动脱扣机构将主回路开关断开。这时黄色的复位按钮自动弹起,以区别发生漏电(触电)或过载故障并迅速排除。
SB为试验按钮,用来模拟漏电电流,试验漏电开关的好坏,按规定每月进行一次试验。可调电阻R\(_{2}\) 用于调整漏电动作电流,其整定值为22.5mA,误差为±10%。压敏电阻RU用来吸收供电系统的雷电及各种操作的过电压,压敏电阻具有瞬时通电容量大、电压范围宽,漏电流小及响应速度快等优点,是最理想的过电压保护元件。D1为双向限幅二极管,用以限制过高的感应电压,保护IC不至损坏。
该漏电保护开关在电源电压降到50V时漏电电流达到额定值时,均能可靠地断电。当电源电压在50V以下时,保护开关拒动,但这时已达到不至危及人身安全的电压。
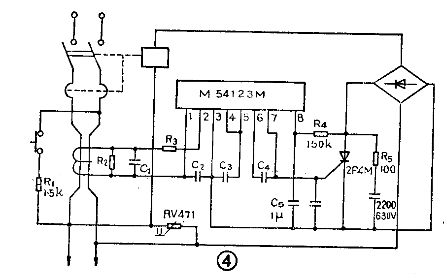
EM52型和LR50C型漏电断路器的主触头带有灭弧罩,可用于频繁启动、容量较大的电气设备中,它们的控制部分线路及工作原理基本相同,但所用集成块的型号不同,见图3和图4。由于它们的工作原理与GB-2型漏电保护开关基本相似故不再赘述。


附表
参数名称 GB-2 EM 52 LR50C
额定工作频率 50/60Hz 50/60 Hz 50/60 Hz
额定工作电压 100—240V 120—240V 120—240V
额定工作电流 30A 10A 30A
漏电动作电流 <30 mA <30 mA <30 mA
短路分断电流 1500A 5000A 3000A
漏电不动作电流 <15 mA <15 mA <15 mA
动作时间(s) <0.1 <0.1 <0.1
过负荷动作电流 1.2倍额定电流
短路动作电流 10倍额定电流 10倍额定电流