普通的音响设备的输入电路都比较简单,但文艺演出,舞台上使用的话筒往往较多,如一般中小型扩音机只具备两个话筒输入插口(其中一只为高阻输入,另一只为低阻输入),这就不适应舞台上的乐队报幕、演唱等使用多个话筒的要求。为了解决这个问题,本文向大家介绍一种具有多路输入的话筒混声器的制作方法。
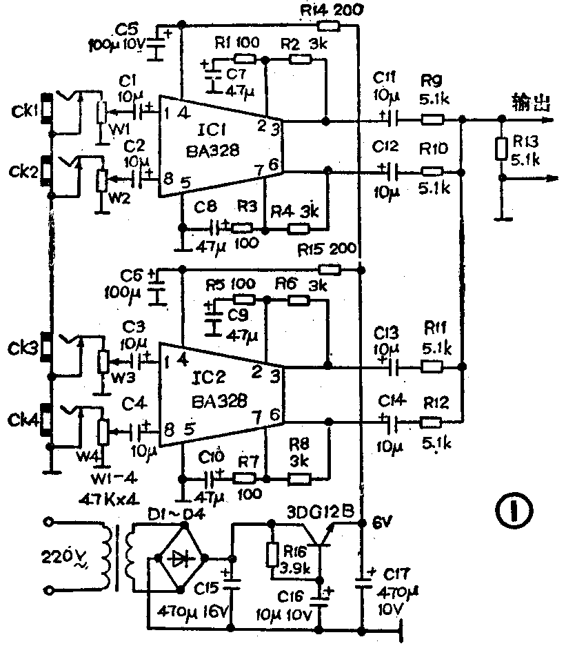
图1是该装置的电路图。它具有噪声小、外围元件少等特点。电路主要是由2只双声道前置放大集成电路BA328和部分外围元件所构成。混声器的输入端能够同时插入4只高阻动圈式话筒。话筒拾取的信号通过各自的声道放大器后经电容器C11~C14,最后在R13两端得到混合信号输出。为了便于将输出的混合信号接入扩音机的话筒输入插孔。该装置制作时有意降低了放大器的电压增益(实际电压增益为10dB左右)。各声道输出信号电平的大小是通过控制电位器W1~W4的调节来实现的。由于本装置电压增益低,因此工作比较稳定。使用时只要用连接线将混合输出信号直接插入扩音机话筒输入插孔即可。如果要求该装置输出的混合信号接入扩音机线路输入插孔,放大器的电压增益应提高到40dB左右。为了实现这一目的,这时只要将反馈电阻R5~R8换成15kΩ的电阻即可。

由于该装置工作电压低、整机耗电小,元件选择就比较容易。电源变压器可选用市售3W、次级输出为交流6V的小型变压器。集成电路选用BA328、也可以选用KA2221、LA3160、μPC1032等直接代替。整个电路装在一块面积为120×70mm\(^{2}\)的印制电路板上(见图2)。

只要元件选择无误,该装置装配好后一般不需通过调整,通电即能正常工作。(林木)