可变占空比倍频器
图示电路为一个由集成电路4047组成的可变占空比倍频器。两个RC积分器检测输入脉冲信号的前后沿,积分器输出的前后沿瞬时尖峰信号,去触发4047中单稳态振荡器,从4047的Q端(10脚)输出的信号频率为输入信号的二倍,各点波形如图所示。电位器(100kΩ)可改变输出脉冲序列的占空比接近100%。(郝相孟 编译)

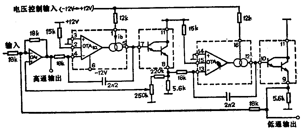
状态可变滤波器
图示电路采用一个双跨导积分放大器,来改变混频积分滤波器的状态。可同时得到低通、带通和高通输出。同时通过高通和低通组合在一起而可获得带阻输出。

控制电压改变电容器充放电速率,因而相应地改变频率响应。250kΩ电位器把OTA\(_{1}\)8脚的部分电压加到输入运放正向输入端。调节250kΩ电位器可控制电路的衰减系数。(郝相孟 编译)
低速电机速度控制器
图示为一个低速电机速度控制器。电机的两个接线端分别接到集成块7805和79MG的输出端。7805提供+5V电压,79MG提供-5V~12V电压,这样使电机两端可得到0~7V电压。由于7805始终给出+5V电压,所以79MG输出的电压不能低于-5V。利用1kΩ电位器可调整电机两端电压为零。79MG的固定片与输入引线脚相连,同时也接到电源的负端。因此,两个集成块可以不用绝缘垫固定在同一块散垫片上。(郝相孟 编译)

一个廉价的文氏桥振荡器
一般文氏桥振荡器调节频率需要采用双连可变电阻器,价格较高。图示的电路里频率微调避免用双连元件而采用了碳膜电位器,其两端电压与来自桥的电压V\(_{0}\)相差90°,因而,当调整它时桥的衰减变化很小,电位器滑臂接触电阻不稳定将不影响频率。

为克服温度所引起的电位器阻值的变化,在它的两端并一个金属膜电阻。通过调整反馈电阻,使环路增益控制到刚使电线起振。并可用一个热敏电阻对振荡器的增益自动调节。经过反复频率测量,证明它的稳定性是很好的。(石青峰 编译)